BM221 Parts list(Mechanical20140224) - 第392页
回収コ ンベア部 (1<5 5mm>) RECOVE RY CONVEYER SE CT.(1<55mm>) 39 F10896-80-500-AD_0 2-1 M361

PART No.
イラスト
No.
REF
No.
PART NAME
REMARKS
Q'TY
39
回収コンベア部(4<32mm>)
RECOVERY CONVEYER SECT.(4<32mm>)
部 品 名 品 番 個数 備 考
R
1
R
2
1405 1089680270
LABEL ラヘ
゙ル
1
420 1089680269
LABEL ラベル
1
422 1089680022
COVER カバー
2430 108968003001
PLATE プレート
1431 108968003101
GRIP ク
゙リップ
5
441 1089680041
PIN ピン
1
442 108968004201
COVER カバー
1443 108968004301
BRACKET フ
゙ラケット
1450 1089680450
BRACKET フ
゙ラケット
1
451 1089680552
LABEL ラベル
M3X6-4.8 A2J (Trivalen
14
N410
N510018158AA
FLUSH HEAD SCREW サラコネジ
8X30,H8B,STEEL
1
N415
XPJ8E30FW
PARALLEL PIN ヘイコウヒ
゚ン
M4X8-4.8 A2J (Trivalen
4
N417
N510018180AA
FLUSH HEAD SCREW サラコネジ
M3X6-4.8 A2J (Trivalen
6
N423
N510018056AA
PAN HEAD SCREW ナベコネジ
FS-V21
2
N424
N310FSV21
AMPLIFIER FOR SENSOR アンプユニット
M360
F10896-80-400-AD_A-4

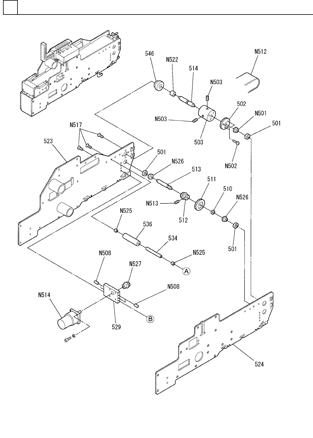
回収コンベア部(1<55mm>)
RECOVERY CONVEYER SECT.(1<55mm>)
39
F10896-80-500-AD_02-1
M361

PART No.
イラスト
No.
REF
No.
PART NAME
REMARKS
Q'TY
39
回収コンベア部(1<55mm>)
RECOVERY CONVEYER SECT.(1<55mm>)
部 品 名 品 番 個数 備 考
R
1
R
2
1 1089680500
DISCHARGE CONVEYOR UNIT ハイキコンヘ
゙アユニット
3
501 1089680001
COLLAR カラー
1
502 1045918411
GEAR ギヤー
1503 1089680103
PULLEY プーリー
1510 1089680010
COLLAR カラー
1
511 1089680011
GEAR ギヤ
1
512 1089680012
GEAR ギヤ
1513 1089680113
SHAFT シャフト
1514 1089680114
SHAFT シャフト
1
523 1089680523
SIDE PLATE サイドプレート
1524 1089680524
SIDE PLATE サイドプレート
1529 1089680129
PLATE フ
゚レート
1
534 1089680134
SHAFT シャフト
1
536 1089680136
PULLEY プーリー
1546 1089680046
HOUSING ハウジング
RF-1980HH
1
N501
XLCNRF1980HH
BALL BEARING ボールヘ
゙アリング
M4X8,STEEL,P.C
3
N502
XVEN4M8FPZ
HEX. SOCKET BUTTON HEAD BOL ロッカクアナツキボタンボルト
M5X10,STEEL,P.C
2
N503
XXE5D10FP
HEX. SOCKET SET SCREW ロッカクアナツキトメネジ
4X10,h8B,STEEL
4
N508
XPJ4E10FW
PARALLEL PIN ヘイコウピン
B-2CBMM64X0.8X1205
1
N512
N641B2CB-744
BELT ベ
ルト
M4X4,STEEL,P.C
1
N513
XXE4D4FP
HEX. SOCKET SET SCREW ロッカクアナツキトメネジ
TG-58B-AM-300-HA,24V S
1
N514
N606TG58-176
MOTOR モータ
M4X8-4.8 A2J (Trivalen
6
N517
N510018180AA
FLUSH HEAD SCREW サラコネシ
゙
NHF08
1
N522
N633NHF08
SHAFT シャフト
MB0810DU
2
N525
N520MB0810DU
BUSHING ブッシング
RF-1960ZZ
2
N526
XLCNRF1960ZZ
BALL BEARING ボールベアリング
M1S20+2106
1
N527
N647M1S2-031
GEAR キ
゙ヤー
M362
F10896-80-500-AD_02-1