BM221 Parts list(Mechanical20140224) - 第394页
回収コ ンベア部 (2<5 5mm>) RECOVE RY CONVEYER SE CT.(2<55mm>) 39 F10896-80-500-AD_0 2-2 M363

PART No.
イラスト
No.
REF
No.
PART NAME
REMARKS
Q'TY
39
回収コンベア部(1<55mm>)
RECOVERY CONVEYER SECT.(1<55mm>)
部 品 名 品 番 個数 備 考
R
1
R
2
1 1089680500
DISCHARGE CONVEYOR UNIT ハイキコンヘ
゙アユニット
3
501 1089680001
COLLAR カラー
1
502 1045918411
GEAR ギヤー
1503 1089680103
PULLEY プーリー
1510 1089680010
COLLAR カラー
1
511 1089680011
GEAR ギヤ
1
512 1089680012
GEAR ギヤ
1513 1089680113
SHAFT シャフト
1514 1089680114
SHAFT シャフト
1
523 1089680523
SIDE PLATE サイドプレート
1524 1089680524
SIDE PLATE サイドプレート
1529 1089680129
PLATE フ
゚レート
1
534 1089680134
SHAFT シャフト
1
536 1089680136
PULLEY プーリー
1546 1089680046
HOUSING ハウジング
RF-1980HH
1
N501
XLCNRF1980HH
BALL BEARING ボールヘ
゙アリング
M4X8,STEEL,P.C
3
N502
XVEN4M8FPZ
HEX. SOCKET BUTTON HEAD BOL ロッカクアナツキボタンボルト
M5X10,STEEL,P.C
2
N503
XXE5D10FP
HEX. SOCKET SET SCREW ロッカクアナツキトメネジ
4X10,h8B,STEEL
4
N508
XPJ4E10FW
PARALLEL PIN ヘイコウピン
B-2CBMM64X0.8X1205
1
N512
N641B2CB-744
BELT ベ
ルト
M4X4,STEEL,P.C
1
N513
XXE4D4FP
HEX. SOCKET SET SCREW ロッカクアナツキトメネジ
TG-58B-AM-300-HA,24V S
1
N514
N606TG58-176
MOTOR モータ
M4X8-4.8 A2J (Trivalen
6
N517
N510018180AA
FLUSH HEAD SCREW サラコネシ
゙
NHF08
1
N522
N633NHF08
SHAFT シャフト
MB0810DU
2
N525
N520MB0810DU
BUSHING ブッシング
RF-1960ZZ
2
N526
XLCNRF1960ZZ
BALL BEARING ボールベアリング
M1S20+2106
1
N527
N647M1S2-031
GEAR キ
゙ヤー
M362
F10896-80-500-AD_02-1

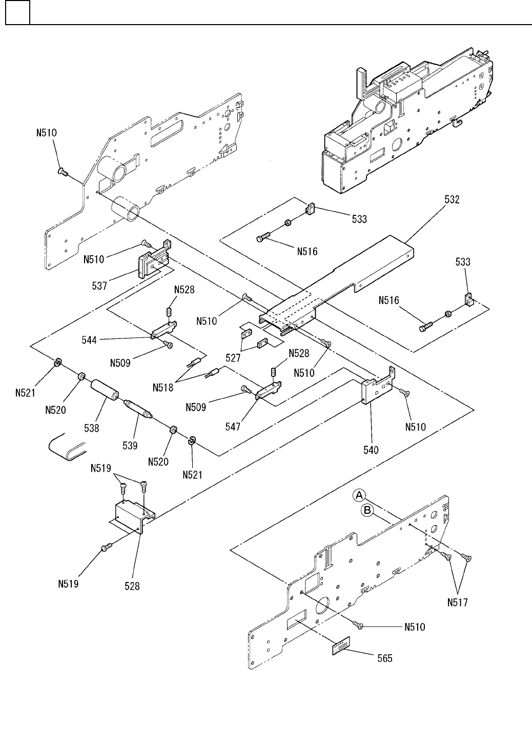
回収コンベア部(2<55mm>)
RECOVERY CONVEYER SECT.(2<55mm>)
39
F10896-80-500-AD_02-2
M363

PART No.
イラスト
No.
REF
No.
PART NAME
REMARKS
Q'TY
39
回収コンベア部(2<55mm>)
RECOVERY CONVEYER SECT.(2<55mm>)
部 品 名 品 番 個数 備 考
R
1
R
2
2527 1089680027
PLATE フ
゚レート
1
528 108968032801
COVER カバー
1
532 1089680532
RAIL レール
2533 1089680033
BLOCK ブロック
1537 1089680537
PLATE フ
゚レート
1
538 1089680138
PULLEY プーリー
1
539 1089680139
SHAFT シャフト
1540 1089680540
PLATE フ
゚レート
1544 1089680544
BLOCK フ
゙ロック
1
547 1089680547
BLOCK ブロック
1565 1089698232
LABEL ラベル
FHHSM12AAGZC2M3X4M
4
N509
N986FHHS-H72
SCREW ネシ
゙
M3X6-4.8 A2J (Trivalen
10
N510
N510018158AA
FLUSH HEAD SCREW サラコネジ
M3X16-6g 4T A2J (Triva
2
N516
N510017712AA
HEXAGON HEAD BOLT ロッカクボルト
M4X8-4.8 A2J (Trivalen
4
N517
N510018180AA
FLUSH HEAD SCREW サラコネジ
FU-16
2
N518
N310FU16
OPTICAL FIBER CABLE UNIT ファイハ
゙ユニット
M2X4-4.8 A2J (Trivalen
4
N519
N510018027AA
PAN HEAD SCREW ナベコネジ
R-1980HH
2
N520
XLCNR1980HH
BALL BEARING ボールベアリング
ISTW-8
2
N521
XUBN1STW8
RETAINING RING C-TYPE,SHAFT C ガタジクヨウトメワ
M3X6,STEEL,T.T.C
4
N528
XXE3D6FT
SET SCREW ロッカクアナツキトメネシ
゙
M364
F10896-80-500-AD_02-2