BM221 Parts list(Mechanical20140224) - 第395页
PART No. イラスト No. REF No. PA RT NAME REM ARKS Q'TY 39 回収コ ンベア部(2< 55mm>) RECOVE RY CONVEYER SE CT.(2<55mm>) 部 品 名 品 番 個数 備 考 R 1 R 2 2 527 1089680027 PLATE フ ゚レート 1 528 108968032801 COVER カバー 1 532 108…

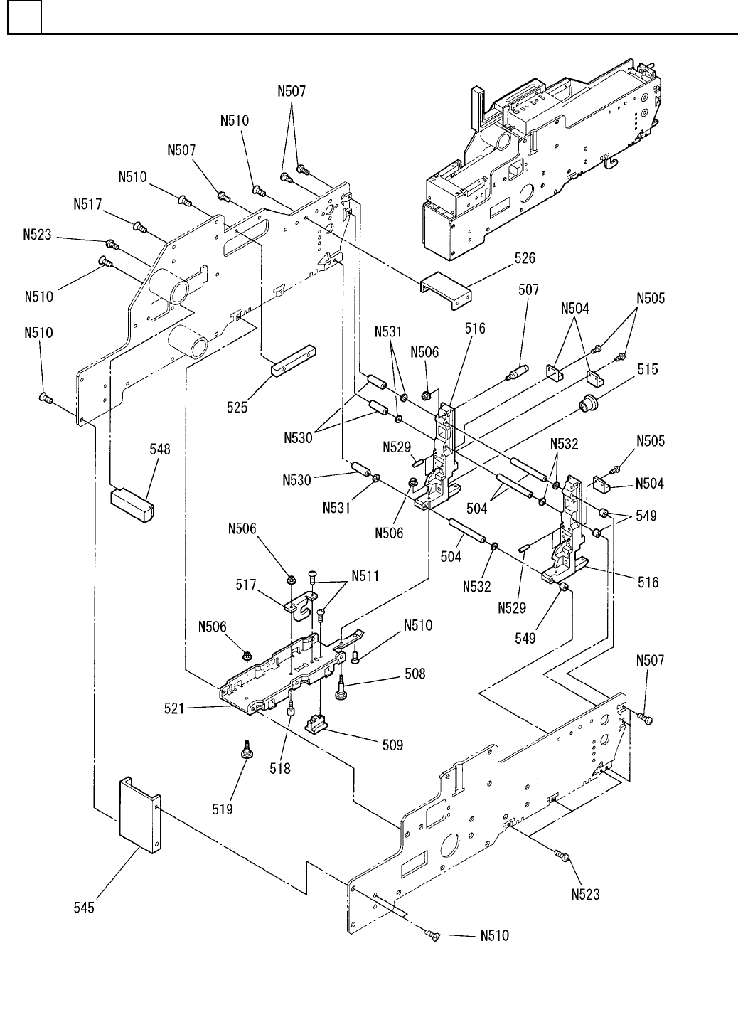
回収コンベア部(2<55mm>)
RECOVERY CONVEYER SECT.(2<55mm>)
39
F10896-80-500-AD_02-2
M363

PART No.
イラスト
No.
REF
No.
PART NAME
REMARKS
Q'TY
39
回収コンベア部(2<55mm>)
RECOVERY CONVEYER SECT.(2<55mm>)
部 品 名 品 番 個数 備 考
R
1
R
2
2527 1089680027
PLATE フ
゚レート
1
528 108968032801
COVER カバー
1
532 1089680532
RAIL レール
2533 1089680033
BLOCK ブロック
1537 1089680537
PLATE フ
゚レート
1
538 1089680138
PULLEY プーリー
1
539 1089680139
SHAFT シャフト
1540 1089680540
PLATE フ
゚レート
1544 1089680544
BLOCK フ
゙ロック
1
547 1089680547
BLOCK ブロック
1565 1089698232
LABEL ラベル
FHHSM12AAGZC2M3X4M
4
N509
N986FHHS-H72
SCREW ネシ
゙
M3X6-4.8 A2J (Trivalen
10
N510
N510018158AA
FLUSH HEAD SCREW サラコネジ
M3X16-6g 4T A2J (Triva
2
N516
N510017712AA
HEXAGON HEAD BOLT ロッカクボルト
M4X8-4.8 A2J (Trivalen
4
N517
N510018180AA
FLUSH HEAD SCREW サラコネジ
FU-16
2
N518
N310FU16
OPTICAL FIBER CABLE UNIT ファイハ
゙ユニット
M2X4-4.8 A2J (Trivalen
4
N519
N510018027AA
PAN HEAD SCREW ナベコネジ
R-1980HH
2
N520
XLCNR1980HH
BALL BEARING ボールベアリング
ISTW-8
2
N521
XUBN1STW8
RETAINING RING C-TYPE,SHAFT C ガタジクヨウトメワ
M3X6,STEEL,T.T.C
4
N528
XXE3D6FT
SET SCREW ロッカクアナツキトメネシ
゙
M364
F10896-80-500-AD_02-2

回収コンベア部(3<55mm>)
RECOVERY CONVEYER SECT.(3<55mm>)
39
F10896-80-500-AD_02-3
M365