BM221 Parts list(Mechanical20140224) - 第406页
ブサ ゙ー部(フ ゙ーブサ ゙ー部) BUZZER SECT.(BUZZER SECT.) 40 F10862-02-770_A M375

PART No.
イラスト
No.
REF
No.
PART NAME
REMARKS
Q'TY
40
ブザー部(ホロホロブザー部)
BUZZER SECT.(TONE BUZZER SECT.)
部 品 名 品 番 個数 備 考
R
1
R
2
1 1086202780
BUZZER UNIT ブ
ザーユニット
1
781 1086202771
PLATE プレート
EB2134
1
N781
N901EB2134
BUZZER ブザー
2.5X5 A2J (Trivalent)
2
N782
N510018985AA
TRUSS HEAD TAPPING SCREW トラスタッピンネジ
M374
F10862-02-780_A

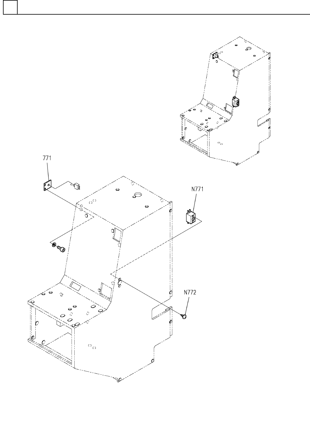
ブザー部(ブーブザー部)
BUZZER SECT.(BUZZER SECT.)
40
F10862-02-770_A
M375

PART No.
イラスト
No.
REF
No.
PART NAME
REMARKS
Q'TY
40
ブザー部(ブーブザー部)
BUZZER SECT.(BUZZER SECT.)
部 品 名 品 番 個数 備 考
R
1
R
2
1 1086202770
BUZZER UNIT ブ
ザーユニット
1
771 1086202771
PLATE プレート
EB2114
1
N771
N901EB2114
BUZZER ブザー
2.5X5 A2J (Trivalent)
2
N772
N510018985AA
TRUSS HEAD TAPPING SCREW トラスタッピンネジ
M376
F10862-02-770_A