BM221 Parts list(Mechanical20140224) - 第411页
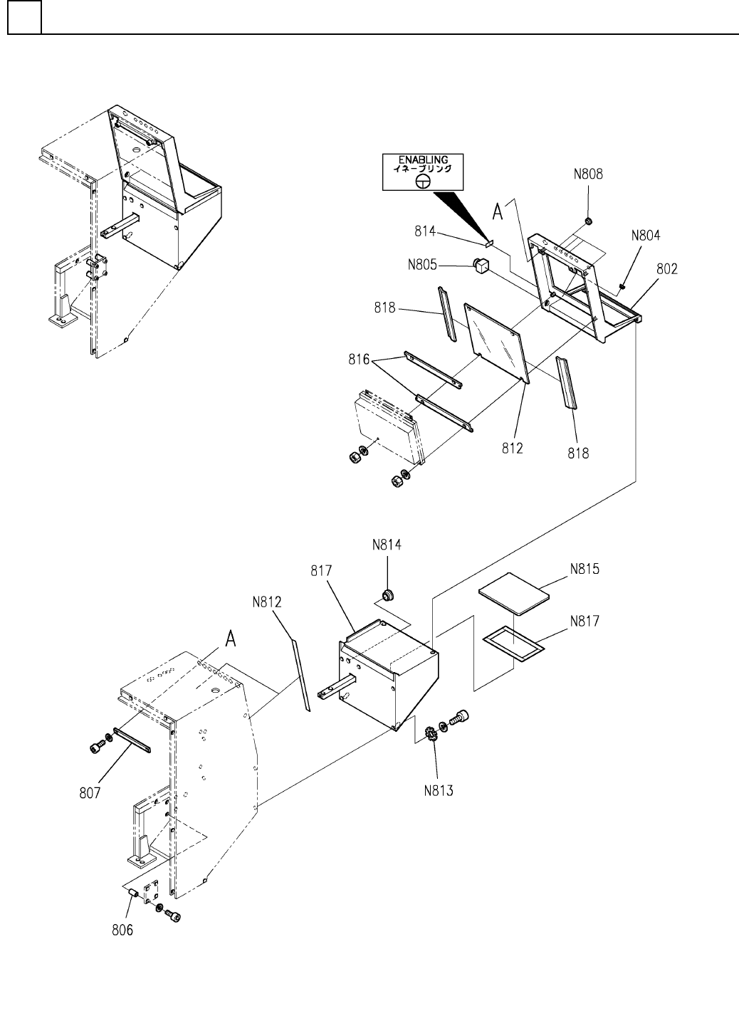
PART No. イラスト No. REF No. PA RT NAME REM ARKS Q'TY 41 後部操作 盤部(1) REAR C ONTROL PANEL S ECT.(1) 部 品 名 品 番 個数 備 考 R 1 R 2 1 N6 10063643AA REAR CON TROL PANEL UN IT コウフ ゙ソウサバン ユニット 1 802 N210078488AB PANEL パネ ル 4 806…

後部操作盤部(1)
REAR CONTROL PANEL SECT.(1)
41
FN610063643AA_02-1
M379

PART No.
イラスト
No.
REF
No.
PART NAME
REMARKS
Q'TY
41
後部操作盤部(1)
REAR CONTROL PANEL SECT.(1)
部 品 名 品 番 個数 備 考
R
1
R
2
1 N610063643AA
REAR CONTROL PANEL UNIT コウフ
゙ソウサバンユニット
1
802 N210078488AB
PANEL パネル
4
806 1086202806
COLLAR カラー
1807 1086202807
PLATE プレート
1812 108628931501
PLATE フ
゚レート
1
814 1044059662
LABEL ラベル
2
816 108628950201
PLATE プレート
1817 N210048235AA
STAND スタント
゙
2818 108628950302
PLATE フ
゚レート
C-30-SG-28A,WHITE
1
N804
N980C30S-067
GROMMET グロメット
M22-D-G-X1/K33 S
1
N805
N510035744AA
SWITCH スイッチ
C-30-SG-16A,WHITE
4
N808
N980C30S-034
GROMMET ク
゙ロメット
E02S210020ET
1
N812
N263E02S-175
GASKET ガスケット
5 External toothed Ste
8
N813
N510018765AA
TOOTHED LOCK WASHER ハツキザガネ
C-30-NG-79-M
1
N814
N980C30NG79M
GROMMET グロメット
MPD-405BL
1
N815
N510002498AA
MOUSE PAD マウスハ
゚ット
No.537 85X0.10
1
N817
N986N053-B30
ADHESIVE TAPE ネンチャクテープ
M380
FN610063643AA_02-1

後部操作盤部(2)
REAR CONTROL PANEL SECT.(2)
41
FN610063643AA_02-2
M381