BM221 Parts list(Mechanical20140224) - 第66页
カバー部 (リアサイドカハ ゙ー部)タイプE COVER S ECT.(REAR SIDE COVER SECT.) TYPE-E 2 FN610065882AA _03 M35

PART No.
イラスト
No.
REF
No.
PART NAME
REMARKS
Q'TY
2
カバー部(リアサイドカバー部)タイプC
COVER SECT.(REAR SIDE COVER SECT.)TYPE-C
部 品 名 品 番 個数
備 考
R
1
R
2
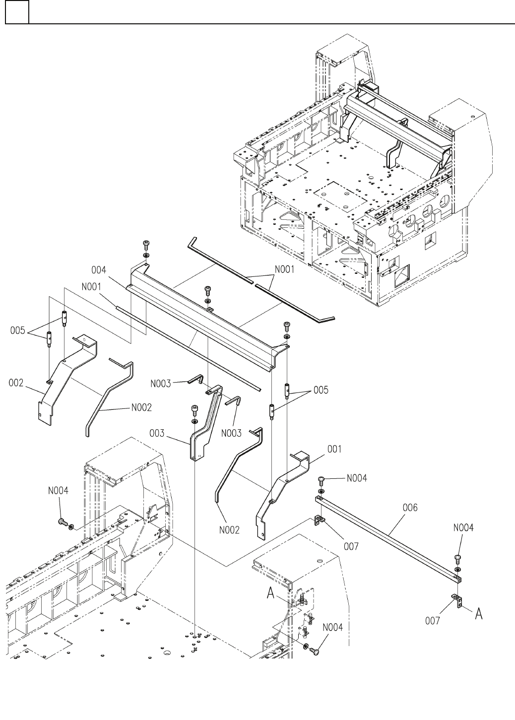
1 N610064578AA
COVER UNIT カハ
゙ーユニット
1
001 N210080277AA
COVER カバー
1
002 N210080278AA
COVER カバー
75-24-W-5T
1
N001
N510019330AA
TRIM トリム
M34
FN610064578AA_00

カバー部(リアサイドカバー部)タイプE
COVER SECT.(REAR SIDE COVER SECT.)TYPE-E
2
FN610065882AA_03
M35

PART No.
イラスト
No.
REF
No.
PART NAME
REMARKS
Q'TY
2
カバー部(リアサイドカバー部)タイプE
COVER SECT.(REAR SIDE COVER SECT.)TYPE-E
部 品 名 品 番 個数
備 考
R
1
R
2
1 N610065882AA
COVER UNIT カハ
゙ーユニット
1
001 N210081677AA
COVER カバー
1
002 N210081678AA
COVER カバー
1003 N210081679AA
COVER カハ
゙ー
1004 N210081680AB
COVER カハ
゙ー
4
005 N210081681AB
SHAFT シャフト
1
006 N210088771AA
PIPE パイプ
2007 N210088772AA
BRACKET フ
゙ラケット
75-08-W-5T
1
N001
N510021679AA
TRIM トリム
75-24-W-5T
1
N002
N510019330AA
TRIM トリム
75-32-W-5T
1
N003
N510023004AA
TRIM トリム
SRBS-M4X8 S
6
N004
N510000423AA
BOLT ホ
゙ルト
M36
FN610065882AA_03