BM221 Parts list(Mechanical20140224) - 第99页
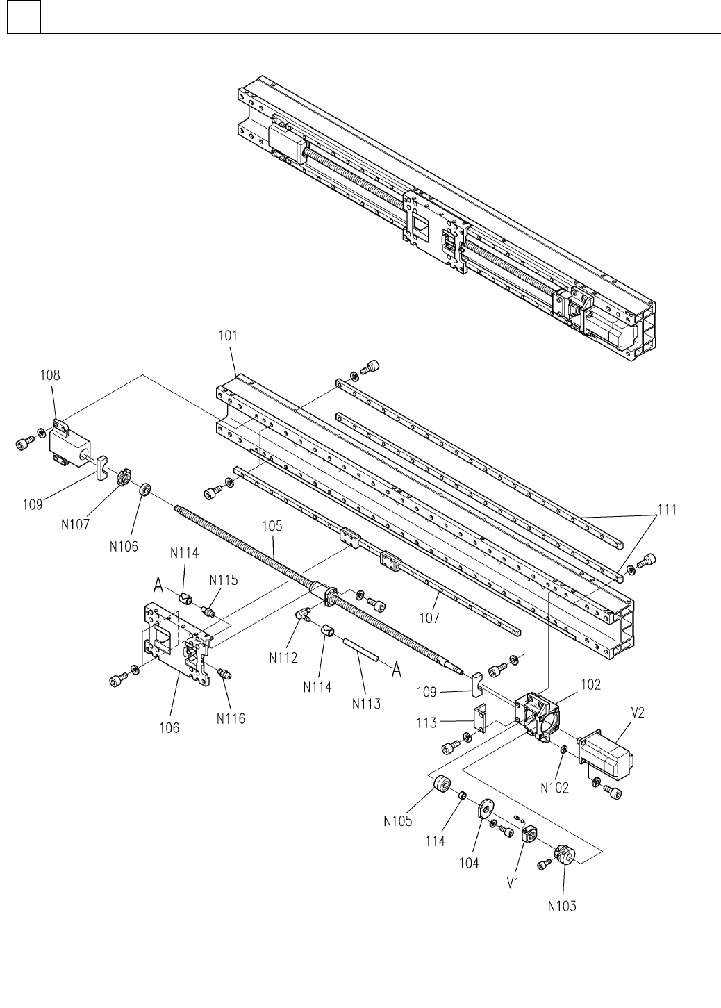
PART No. イラスト No. REF No. PAR T NAME REMARKS Q'TY 3 X軸部( 本体部) X-AXIS SECT.(MAIN BO DY SECT.) 部 品 名 品 番 個数 備 考 R 1 R 2 1 N610030841AA X-AXIS UNIT X ジク ユニット 1 101 108620410102 FRAME フレーム 1 102 108620410204 BRACKET(MO…

X軸部(本体部)
X-AXIS SECT.(MAIN BODY SECT.)
3
FN610030841AA_02
M67

PART No.
イラスト
No.
REF
No.
PART NAME
REMARKS
Q'TY
3
X軸部(本体部)
X-AXIS SECT.(MAIN BODY SECT.)
部 品 名 品 番 個数
備 考
R
1
R
2
1 N610030841AA
X-AXIS UNIT X
ジク ユニット
1
101 108620410102
FRAME フレーム
1
102 108620410204
BRACKET(MOTOR) ブラケット(モータ)
1104 108620410401
PLATE フ
゚レート
1105 108620410503
BALL SCREW ボールネシ
゙
1
106 108620410605
TABLE テーブル
2
107 1086204107
LINEAR MOTION UNIT リニアモーションユニット
1108 108620410802
HOUSING ハウシ
゙ング
2109 1086204109
CUSHION クッション
2
111 N210027950AA
BAR バー
1113 108620411301
BRACKET ブラケット
1114 108620410301
COLLAR カラー
EPOW16-8
4
N102
N986EP0W168
WASHER ザガネ
SFC-040SA2-12B-19B
1
N103
N510012371AA
COUPLING カップリング
7302BTDFCP5P5
1
N105
N510003542AA
BEARING ベアリング
6202ZZ
1
N106
XLC6202ZZ
BALL BEARING ボールヘ
゙アリング
FU02SS
1
N107
KXF0235AA00
LOCK-NUT ロックナット
106916
1
N112
N431106916
FITTING ツギテ
NYLON4
1
N113
N434SH0W-048
TUBE チューブ
PZ4
2
N114
N434PZ4
BAND ハ
゙ンド
106936
1
N115
N431106936
FITTING ツギテ
A-MT6X1
1
N116
N560AMT6-130
GREASE NIPPLE グリースニップル
RN15
1V 1 N643RN15
LOCK-NUT ロックナット
HC-KFS73 S
1V 2 308620403101
MOTOR モータ
M68
FN610030841AA_02

X軸部(配線配管部)
X-AXIS SECT.(WIRING & PIPING SECT.)
3
FN610016824AA_03
M69