Control unit SIPLACE 80S_20211119_035529 - 第3页
Control unit SIPLACE 80S Page 3 / 3 19.11.2021 Pos. Item no. Description Part marking 1 00343143-02 CONTROL PANEL S15 00317548S02 CONTROL UNIT COMPLETE SI80S 00116004-06 CONTROL CUBICLE FOR SIPLACE 80S 2 00302834S07 STAT…

Control unit SIPLACE 80S
Page 1 / 3 19.11.2021

Control unit SIPLACE 80S
Page 2 / 3 19.11.2021

Control unit SIPLACE 80S
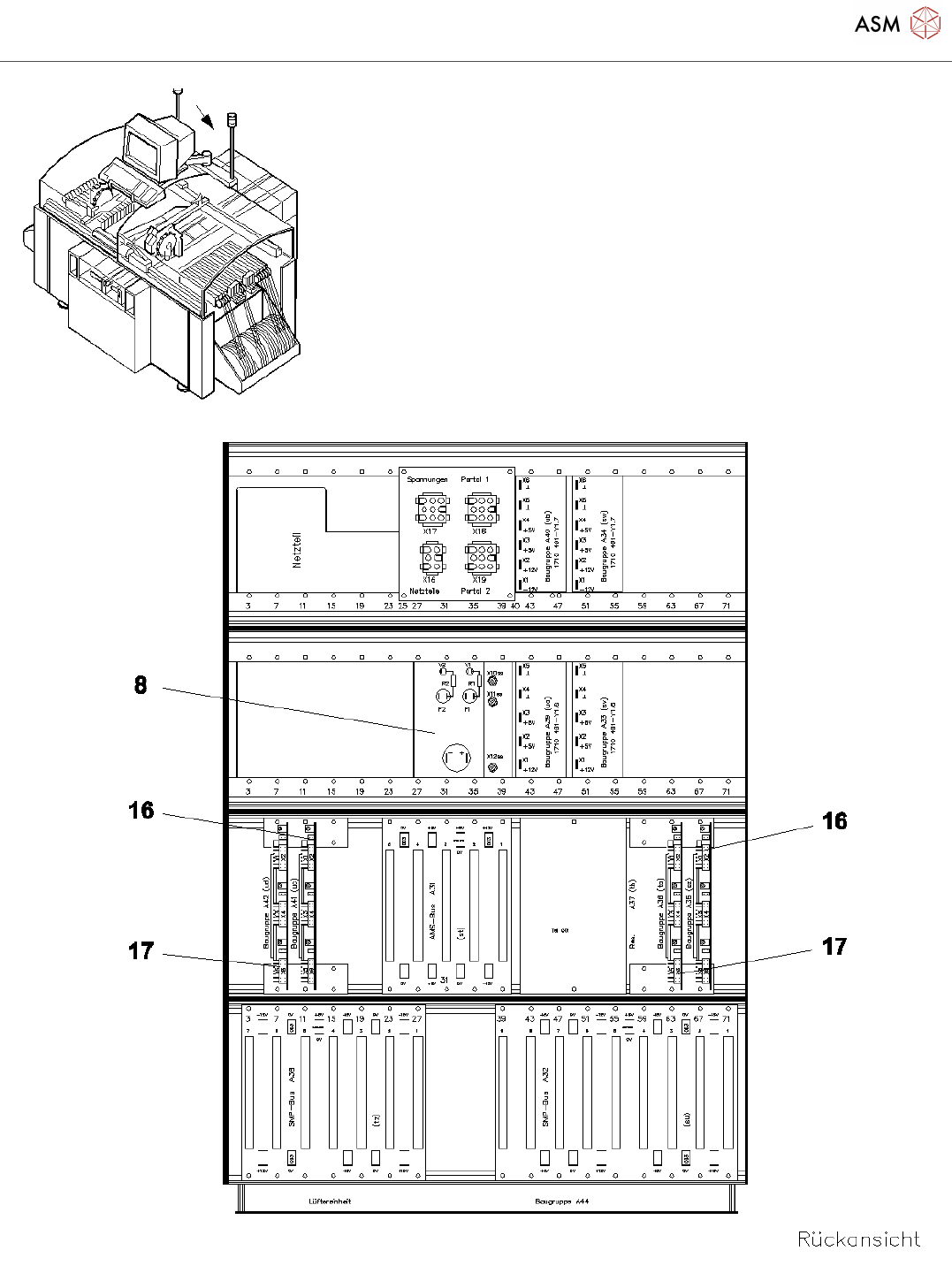
Page 3 / 3 19.11.2021
Pos. Item no. Description Part marking
1 00343143-02 CONTROL PANEL S15
00317548S02 CONTROL UNIT COMPLETE SI80S
00116004-06 CONTROL CUBICLE FOR SIPLACE
80S
2 00302834S07 STATION COMPUTER M 34
3 00312349S10 MACHINE CONTROLLER MC1 (LEFT
SIDE)
4 00312351S10 MACHINE CONTROLLER MC 2
(RIGHT SIDE)
5 00302836S12 AXIS PC-BOARD (TRIPLE)
6 00320312-01 INPUT-OUTPUT-BOARD (MIXED) Spare Part
7 00343253-01 FLOPPY / WINCHESTER FOR CPU
M34
8 00313838-02 MEASURING UNIT
9 00317998S04 POWERSUPPLY
(+/-12V),(+/-15V),(+24V)
10 00305426-01 BATTERY LITHIUM 3,6V WEAR
00304938-01 FUSE 2*20/T3,16A/GLAS WEAR PART
11 00311028-02 TACHO ADJUSTMENT
12 00316503-01 FAN UNIT
13 00310847-02 FAN 4414F / 24VDC / 240MA SPARE PART
00315115-03 FAN HOLDER
14 00315209-01 FILTER MAT 230*360 WEAR PART
15 00300548-03 CONTROL UNIT RACK
16 00304163-04 REAR PANEL FOR AXIS
17 00304164-03 REAR PANEL FOR AXIS
18 00342493-02 MVS100 / EDA1 (ICOS) FOR SIPLACE
V2144E
19 00322333-03 VIDEO MULTIPLEXER SPARE PART
20 00340656-01 VIDEOMULTIPLEXER COVER
SIPLACE S15
21 00116041S01 CRDL-MEASURING-UNIT SIPLACE
Powered by TCPDF (www.tcpdf.org)