JM-100_维修调整作业书 - 第22页
维修调整要领书 1- 4 XY 拖链电缆束线的更换要领说明 1-4- 1 拆下 X 电缆 1 ) 取下贴装头顶盖,卸下与 XY 拖链电缆相连的各类插接器和 OPTICAL F IBER CABLE 7M 。 XY 拖链电缆 XY 拖链电缆( 40205709 ) OPT ICAL FI BER CABLE 7M OPTICAL FIBER CABLE 7M ( 40048070 ) 图 1- 4- 1- 1 图 1- 4- 1- 2 1…

维修调整要领书
1-3-2 Y 轴电缆拖链的更换
Y CABLE BEAR (E) (40060210)
1) 拆下 SL3061232TN,从 CB_BR 上卸下 Y 轴电缆拖链。
2) 拆下 SM3051052TN,从 X 轴组件上卸下 Y 轴电缆拖链。
3) 拆下 SM3061052TN,拆下 FC_SUPPORT_Y_V2。
4) 按相反的步骤进行装配。这时,请注意电缆拖链内的线束不要缠绕。
并且,请将 Y 轴移动到最靠身前的位置,用手推入线束,确认 Y 电缆拖链内部的线束不绷紧。
图 1-3-2-1 Y 轴电缆拖链
CB_BR
SL3061232TN
FC_SUPPORT_Y_V2
SL6061292TN
Y 轴电缆拖链
FC_SUPPORT_Y_V2
SM3051052TN
SL6061292TN
1-14

维修调整要领书
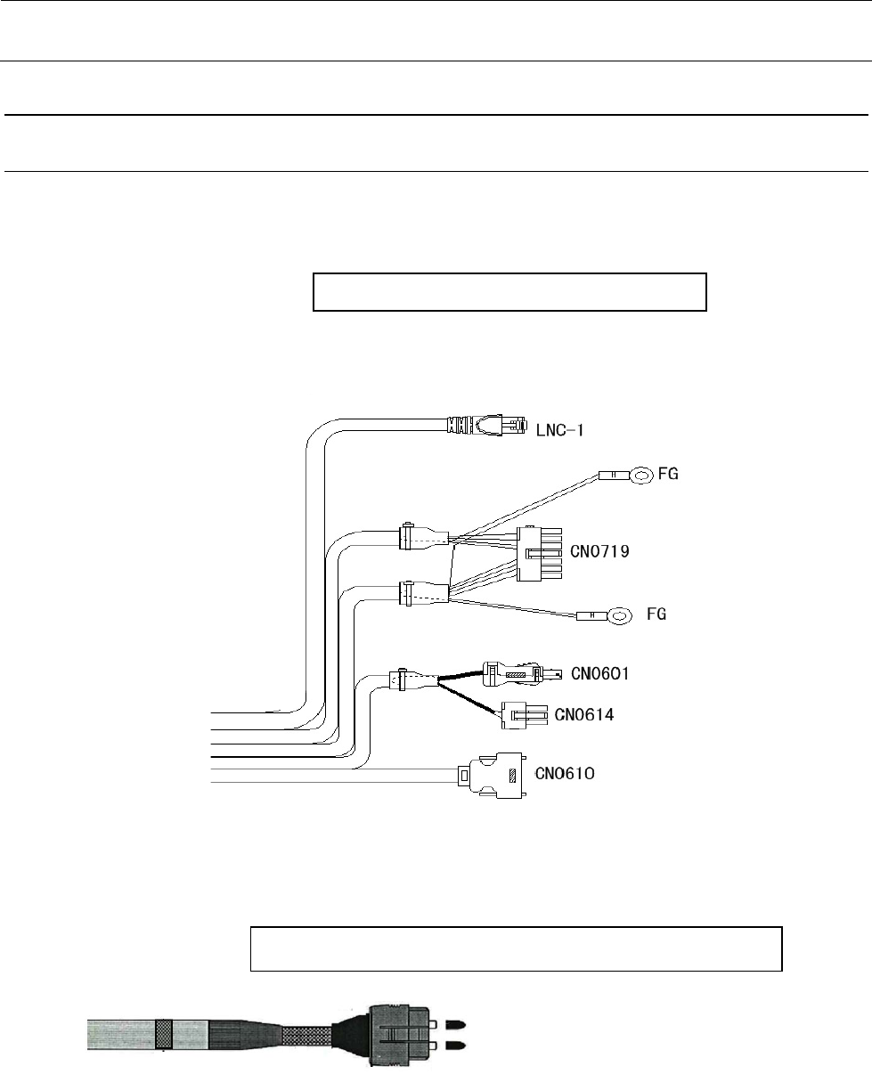
1-4 XY 拖链电缆束线的更换要领说明
1-4-1 拆下 X 电缆
1) 取下贴装头顶盖,卸下与 XY 拖链电缆相连的各类插接器和 OPTICAL FIBER CABLE 7M。
XY 拖链电缆
XY
拖链电缆(
40205709
)
OPTICAL FIBER CABLE 7M
OPTICAL FIBER CABLE 7M
(
40048070
)
图 1-4-1-1
图 1-4-1-2
1-15

维修调整要领书
2) 卸下可动部分侧 CABLE_CLAMP_X2,并切除束线带。
3) 拆下固定端侧 CABLE_CLAMP_X。
4) 删除 XY 拖链的电缆和光缆 7M 的固定面的 Y 轴电缆托盘连接器。
图 1-4-1-3
图 1-4-1-4
图 1-4-1-5
图 1-4-1-6
1-16