P-198-001e - 第117页
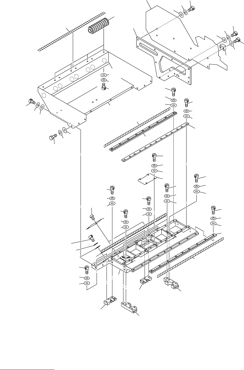
MODEL TCM-3600J-2 0109-001 115 Key No. P AR T No. P AR T NAME Q’ ty REMARKS NOTE 5-4 1 630 070 2859 BASE 2 703C--01B-103 2 630 048 4335 PLA TE 2 703C--01B-003 3 41 1 141 4008 WASHER V 4X9X0.8 18 F W 4 4 41 1 141 2905 WAS…

MODEL TCM-3600J-2
0109-001
114
ㇱຠଏ⛎ㇱ FEEDER CARRIAGE SECTION
Fig. 5-4 ࡞࡙࠾࠶࠻ Feeder Carriage
78
77
76
33
34
35
31
14
14
13
13
12
12
90
90
11
11
30
29
28
91
91
92
92
93
93
67
67
66
66
10
10
9
8
6
26
25
24
90
23-1
23-1
23-2
27-1
27-1
27-2
27-2
5
4
3
2
1
90
90
38
37
36
32
79
79
80
80
41
19
18
18
17
15
15
40
40
39
87
86
88
81
82
83
74
73
72
71
93
92
91
94
94
95
95
96
96
94
94
95
95
96
96

MODEL TCM-3600J-2
0109-001
115
Key No. PART No. PART NAME Q’ty REMARKS
NOTE
5-4
1 630 070 2859 BASE 2 703C--01B-103
2 630 048 4335 PLATE 2 703C--01B-003
3 411 141 4008 WASHER V 4X9X0.8 18 FW4
4 411 141 2905 WASHER SPR 4 18 SW4
5 630 000 7633 BOLT,HEX-SCT 18 M4X12
6 630 056 2491 PLATE 2 703C--01B-005
8 411 141 4107 WASHER V 5X10X1 26 FW5
9 411 141 6705 WASHER SPR 5 26 SW5
10 630 000 7763 BOLT,HEX-SCT 26 M5X16
11 630 048 4342 PLATE 2 703C--01B-007
12 411 141 4008 WASHER V 4X9X0.8 18 FW4
13 411 141 2905 WASHER SPR 4 18 SW4
14 630 000 7633 BOLT,HEX-SCT 18 M4X12
15 630 056 2514 SUPPORT 2 703C--01B-009
17 411 141 4107 WASHER V 5X10X1 8 FW5
18 411 141 6705 WASHER SPR 5 8 SW5
19 630 000 7756 BOLT,HEX-SCT 8 M5X12
23 -1 630 070 2910 BLOCK 2 703C--01B-132
23 -2 630 070 2903 BLOCK 2 703C--01B-131
24 411 141 4503 WASHER V 8X17X1.6 8 FW8
25 411 141 3100 WASHER SPR 8 8 SW8
26 630 000 8029 BOLT,HEX-SCT 8 M8X25
27 -1 630 070 2934 BLOCK 2 703C--01B-133
27 -2 630 070 2927 BLOCK 2 703C--01B-133
28 411 141 4305 WASHER V 6X12.5X1.6 16 FW6
29 411 141 3001 WASHER SPR 6 16 SW6
30 630 000 7893 BOLT,HEX-SCT 16 M6X20
31 630 070 2828 SUPPORT 2 703C--01B-011
32 630 055 1792 SUPPORT 8 703C--01B-013
33 411 141 4305 WASHER V 6X12.5X1.6 16 FW6
34 411 141 3001 WASHER SPR 6 16 SW6
35 630 000 7879 BOLT,HEX-SCT 16 M6X12
36 411 141 4305 WASHER V 6X12.5X1.6 8 FW6
37 411 141 3001 WASHER SPR 6 8 SW6
38 630 000 7879 BOLT,HEX-SCT 8 M6X12
39 411 088 1702 WASHER V 5X10X1 6 FW5 F
40 411 008 2109 WASHER SPR 5 6 SW5 F
41 411 140 4900 BOLT HEX 5X12 6 M5X12 HEX
66 630 069 3102 COVER 4 703C--01B-201
67 411 051 1708 SCR TRS 4X6 12 M4X6 TRS
71 630 070 2941 COVER 2 703C--01B-203
72 411 141 4503 WASHER V 8X17X1.6 8 FW8
73 411 141 3100 WASHER SPR 8 8 SW8
74 630 000 8036 BOLT,HEX-SCT 8 M8X30
76 630 066 0777 PLATE 2 703C--01B-160
77 630 071 0335 PLATE 2 703C--01B-161
78 411 141 4107 WASHER V 5X10X1 16 FW5
79 411 141 6705 WASHER SPR 5 16 SW5
80 630 000 7763 BOLT,HEX-SCT 16 M5X16
81 411 141 4305 WASHER V 6X12.5X1.6 8 FW6

MODEL TCM-3600J-2
0109-001
116
Key No. PART No. PART NAME Q’ty REMARKS
NOTE
5-4
82 411 141 3001 WASHER SPR 6 8 SW6
83 630 000 7909 BOLT,HEX-SCT 8 M6X25
86 630 066 0791 PLATE 1 703C--01B-162
87 411 141 4008 WASHER V 4X9X0.8 2 FW4
88 630 000 7664 BOLT,HEX-SCT 2 M4X20
90 630 056 1869 NAME PLATE,INDEX 6 703C--01H-024
91 411 141 6507 WASHER F 12X21X2.5 8 FWS12
92 411 141 3308 WASHER SPR 12 8 SW12
93 630 070 5287 BOLT,HEX-SCT 8 703C--01H-146
94 411 141 4503 WASHER V 8X17X1.6 4 FW8
95 411 141 3100 WASHER SPR 8 4 SW8
96 630 000 8036 BOLT,HEX-SCT 4 M8X30