P-198-001e - 第206页
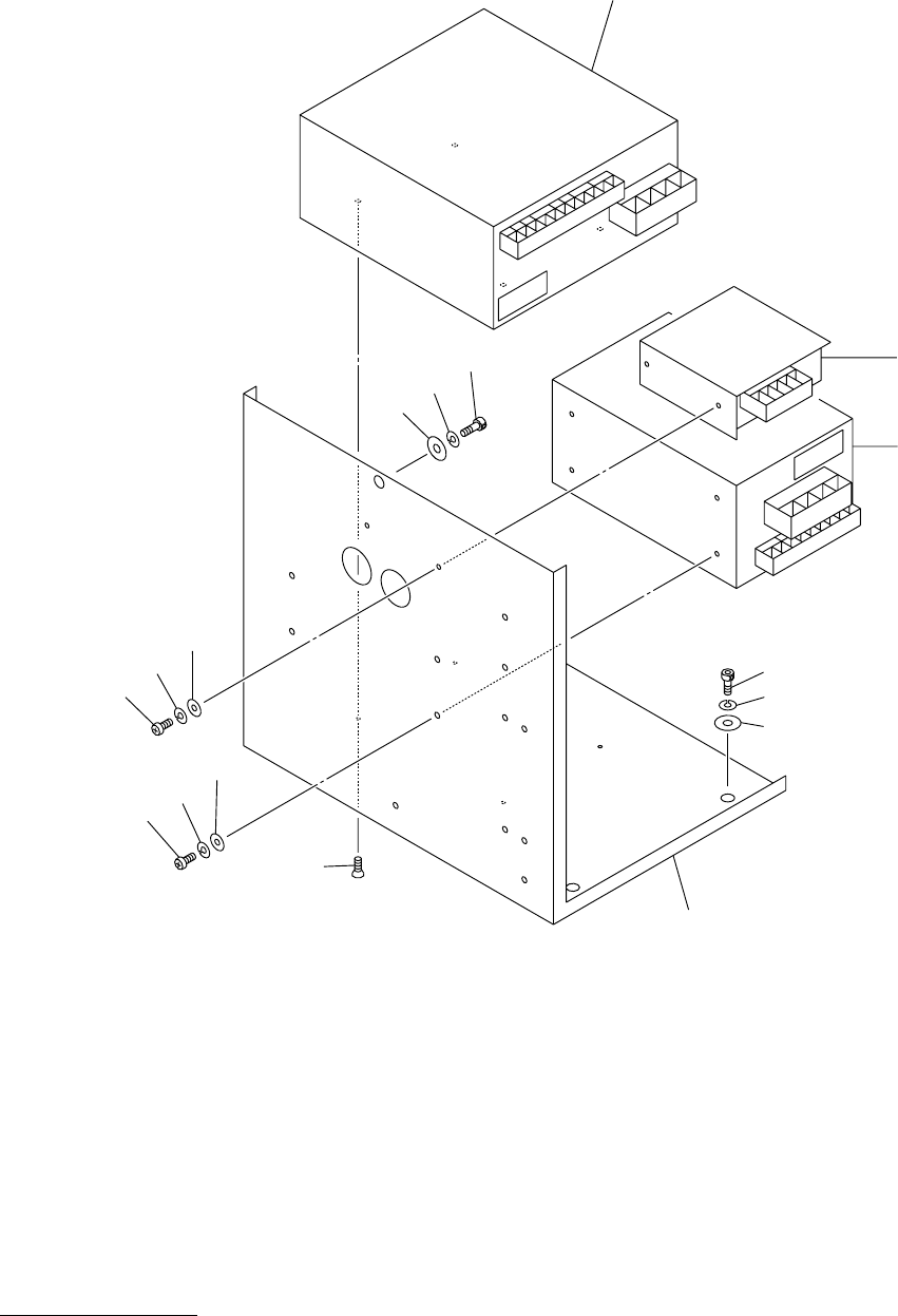
MODEL TCM-3600J-2 0109-001 204 㔚᳇ᓮㇱ ELECTRICAL SECTION Fig.11-4 DC 㔚Ḯ Power Supply-DC 2 3 0 6 5 6 5 5 5 4 5 4 5 5 5 6 34 34 33 33 3 2 9 8 7 5 1

MEMO

MODEL TCM-3600J-2
0109-001
204
㔚᳇ᓮㇱ ELECTRICAL SECTION
Fig.11-4 DC 㔚Ḯ Power Supply-DC
2
30
6
56
55
54
54
55
56
34
34
33
33
32
9
8
7
5
1

MODEL TCM-3600J-2
0109-001
205
Key No. PART No. PART NAME Q’ty REMARKS
NOTE
11-4
1 630 094 2897 BRACKET 1 703FB-01V-002
2 630 086 0245 UNIT,POWER 1 PSU4, PAA600F-24 703FB-01D-079
5 411 035 2707 SCR FLT 4X8 4 M4X8 FLT
6 630 085 4138 UNIT,POWER 1 PSU5, PAA-300F-24 703FB-01D-080
7 411 119 2104 WASHER V 4X9X0.8 4 FW4 F
8 411 008 1706 WASHER SPR 4 4 SW4 F
9 411 043 5004 SCR PAN 4X8 4 M4X8 PAN
30 630 049 1135 UNIT,POWER 1 PSU10, P15E-5-N 703FB-01D-108
32 411 119 1909 WASHER V 3X7X0.5 2 FW3 F
33 411 086 4408 WASHER SPR 3 2 SW3 F
34 411 042 0703 SCR PAN 3X8 2 M3X8 PAN
54 630 001 0220 WASHER 3 BW5
55 411 141 6705 WASHER SPR 5 3 SW5
56 630 000 7756 BOLT,HEX-SCT 3 M5X12