4OM-1064-001 - 第111页
Tg0249-PM-MM 6.4 HEAD CENTER OFFSET Display • This display allows teaching the head center of fset data. The offset values are calculated by recognizing the printed pattern on the jig component (the teaching plate (compo…

Tg0249-PM-MM
Operation Procedure
• Required Items
Nozzle: 4 pieces of “MF01”, “MF02” or “MA06”
Jig Component: Teaching Plate (Component Recognition Offset Jig)
(Standard Accessory Part)
(1) Set either “MF01”-, “MF02”- or “MA06”-type nozzle in the nozzle
stocker.
(2) Attach the jig component (the teaching plate (component recognition
offset jig)) to the position where the teaching plate is mounted.
Note: The printed side of the component recognition offset jig should
face downward.
(3) Check the followings.
• Check that the machine is powered.
• Check that the supply cover is completely closed.
(4) Attach either “MF01”-, “MF02”- or “MA06”-type nozzle to the ob-
jective placement head for teaching at the “MANUAL NOZZLE
CHANGE OPERATION” display.
(5) Select the [ALL BEAM HEADS ZERO [MOVE]] key and press the
[MOVE] button to zero all beam heads.
Confirm that the background color of “ALL BEAM ZERO” has turned
green.
(6) To specify the gain and level, use the “GAIN
LEVEL” display.
Note: In normal cases, set “DISABLE” in the “DESIGNATE” data
box.
(7) Select the item to be taught and press the [MOVE] button.
The machine starts the teaching operations.
The following series of teaching operations are performed automati-
cally.
The nozzle picks up the teaching plate from the place where the teach-
ing plate is attached.
↓
The placement head moves to the component recognition camera po-
sition.
↓
The jig component is recognized with the component recognition cam-
era.
↓
The placement head moves onto the back light stage.
↓
The teaching plate is set up on the back light stage.
↓
The jig component is recognized with the P.E.C. recognition camera.
↓
The nozzle picks up the teaching plate from the back light stage.
↓
The teaching plate is returned to the original place (the place where it
was attached).
Overall Top View
Teaching Plate Section
Component Recog-
nition Camera
Nozzle Stocker
Placement Head
Nozzle Stocker
Placement Head
P.E.C. Recognition
Camera
P.E.C.
Recognition
Camera
Beam A Side
Teaching Plate
(Component Recognition Offset Jig)
Position of Teaching Plate
Back Light Stage
Beam B Side
Magnified View of Teaching Plate Section
0004-002 3-64
6. TEACH OFFSET Display
Fig. 3.41

Tg0249-PM-MM
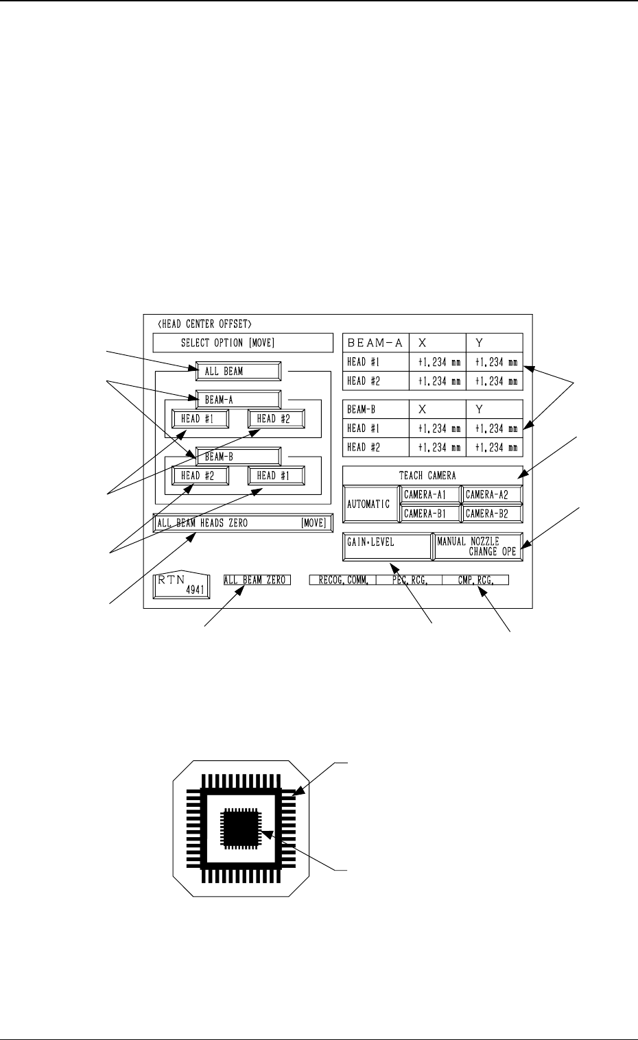
6.4 HEAD CENTER OFFSET Display
• This display allows teaching the head center offset data.
The offset values are calculated by recognizing the printed pattern on the jig
component (the teaching plate (component recognition offset jig)) picked
up by the nozzle separately at 0°, 90°, 180°, and 270°.
Note: Follow the teaching procedures in the specified order. Otherwise, some
trouble (such as inaccurate component placement, frequent mechani-
cal errors, etc.) will arise.
When the [HEAD CENTER OFFSET] key is pressed at the “TEACH OFF-
SET” display, the following display appears on the screen.
Teaching Plate (Component Recognition Offset Jig: JG-0085)
(Standard Accessory Part)
Note: Handle this fragile jig very carefully.
• Two types of patterns are printed through vapor deposition on the glass for
positional calculation.
*7
*9
*10
*2
*1
*3
*4
*3
*8
*6
*5
9910-001 3-65
6. TEACH OFFSET Display
Fig. 3.42
Fig. 3.43
Pattern to be captured by the
component recognition camera
Pattern to be captured by the
P.E.C. recognition camera

Tg0249-PM-MM
*1 [ALL BEAM] Key
The machine performs the teaching operation of the head
center offset data for both heads on Beams A and B in the
sequential order.
When this key is selected and the [MOVE] button is pressed,
the machine starts the teaching operation.
Note: Before performing the teaching operations, zero
both beams.
*2 [BEAM-A] and [BEAM-B] Keys
The machine performs the teaching operations of the head
center offset data of both heads on Beam A or B.
When the [BEAM-A] or the [BEAM-B] key is selected and
the [MOVE] button is pressed, the machine performs the
teaching operation of the offset data related to the selected
beam.
Note: Before performing the teaching operations, zero
both beams.
*3 [HEAD #1] and [HEAD #2] Keys in “BEAM-A” Group
Box and [HEAD #2] and [HEAD #1] Keys in “BEAM-B”
Group Box
The machine performs the teaching operation of the head
center offset data.
When one of the above-described keys is selected and the
[MOVE] button is pressed, the machine starts teaching the
offset data related to the selected head #.
Note: Before performing the teaching operations, zero
both beams.
*4 Offset Data
Shown is the head center offset data of each head on Beams
A and B.
*5 TEACH CAMERA
A camera can be designated for teaching operations.
“AUTOMATIC”, “CAMERA-A1”, “CAMERA-A2”,
“CAMERA-B1”, or “CAMERA-B2” can be selected.
When “AUTOMATIC” is selected, a camera is automati-
cally selected for teaching operations.
When “CAMERA-A1”, “CAMERA-A2”, “CAMERA-B1”
or “CAMERA-B2” is designated, teaching operation is per-
formed in the designated camera.
0004-002 3-66
6. TEACH OFFSET Display