4OM-1064-001 - 第142页
Tg0249-PM-MM Special Jig (Option) Note: Consult our sales personnel for the detailed information on how to use the special jig. Name : Nozzle Stocker Positioning Jig Model Name : JG-0101 Dimensions : Approx. 20.2 (diamet…

Tg0249-PM-MM
*1 NOZ. STOCKER [A1] and [B1] Keys
Select one of the keys to specify the nozzle stocker unit for which the manual
alignment and teaching operations must be performed.
*2 TEACH OBJECT [MASTER] or [LOCAL]
This shows “TEACH OBJECT” selected at the display in Fig 3.59-1.
*3 DESIGNATE STOCKER ADDRESS
When “TEACH OBJECT” is the “MASTER”:
The address (1 to 10) for the nozzle stocker is designated as the refer-
ence position for all teaching.
When “TEACH OBJECT” is the “LOCAL”:
This designates the stocker address (1 to 10) for the nozzle to be taught.
*4 DESIGNATE BEAM
Designate the X/Y beam on which the teaching operation must be performed.
*5 [RECOG MARK DATA EDIT] Key
When this key is pressed, the “RECOG. MARK DATA EDIT” display (Fig.
3.63) appears on the screen, enabling the designation of a template shape to
appear on the recognition monitor.
The template shape can be specified for manual alignment with the align-
ment point.
Refer to “6.8.8 Editing of Recognition Mark Data” for details.
*6 [ALL BEAM HEADS ZERO] Key
Both Beams A and B are zeroed.
When this key is selected and the [MOVE] button is pressed, the zeroing
operation starts.
*7 [TEACH START] Key
When this key is selected and the [MOVE] button is pressed, the P.E.C.
recognition camera moves to the specified nozzle stocker position.
The teaching point appears on the recognition monitor. Perform the manual
alignment using the track ball.
Refer to "3.6.8.9 Teaching Operation with Track Ball" for details.
*8 OLD DATA
Displayed are the values before each nozzle stocker offset data is taught.
*9 NEW DATA
Displayed are the values after each nozzle stocker offset data is taught.
Before the teaching operation is performed, the same values as *7 are dis-
played.
0004-002 3-95
6. TEACH OFFSET Display

Tg0249-PM-MM
Special Jig (Option)
Note: Consult our sales personnel for the detailed information on how to use
the special jig.
Name : Nozzle Stocker Positioning Jig
Model Name: JG-0101
Dimensions : Approx.
20.2 (diameter) 14.5 mm (thickness)
Reference
1. How to input the offset data accurately
(1) Perform the teaching operation at several places such as nozzle stocker addresses 1 and 10.
Jot down the values obtained through teaching operations.
(2) Enter the mean values obtained through teaching operation as nozzle stocker offset data.
Refer to “7. NOZZLE STOCKER OFFSET Display of Section 5 in Volume 2” for details on
how to enter the offset data.
2. How to perform the simplified teaching operation, using a nozzle (not a jig)
Teach the nozzle center position.
Notes: (a) It is recommended that the steps in “1. How to input the offset data accurately”
should be taken because this method will make it difficult to manually align the
nozzle center position accurately.
(b) Be sure to set nozzle through head movement operation.
If a nozzle is set by hand, it may not be stored correctly in place.
In this case, the mean values of the offset data taught at several stocker addresses must be
entered similarly to the step described in “1. How to input the offset data accurately”.
Fig. 3.60
9910-001 3-96
6. TEACH OFFSET Display

Tg0249-PM-MM
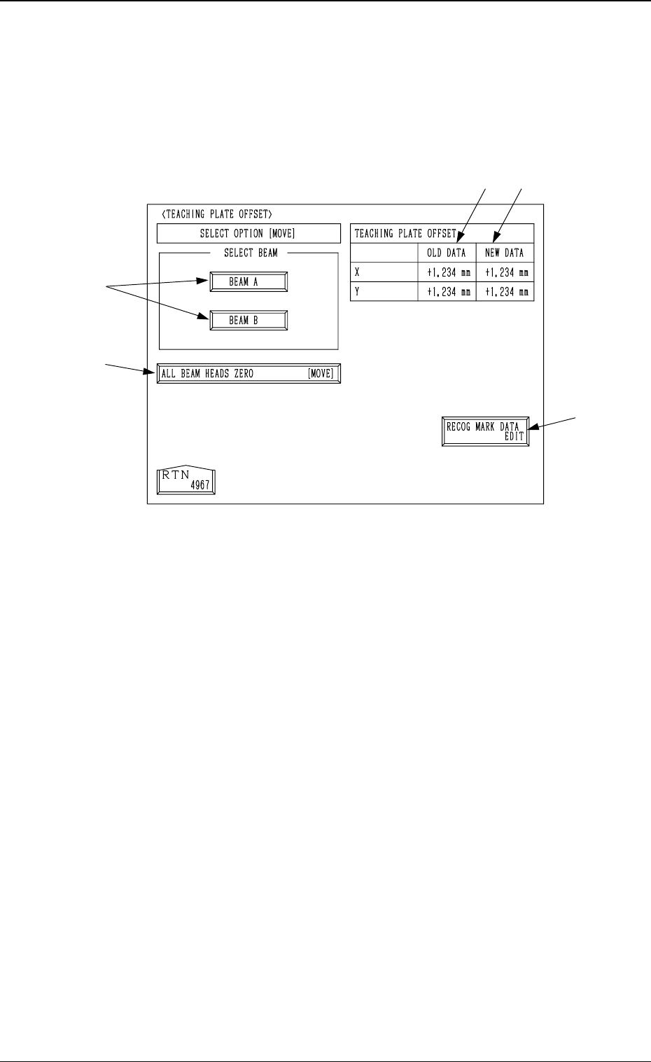
6.8.6 Teaching Plate Offset
• The offset values for the teaching plate position can be taught through manual
alignment operation.
When the [TEACHING PLATE OFFSET] key is pressed at the “UNIT
MANUAL ALIGNMENT TEACH” display, the following display appears on
the screen.
*1 [RECOG MARK DATA EDIT] Key
When this key is pressed, the “RECOG. MARK DATA EDIT” display (Fig.
3.63) appears on the screen, enabling the designation of a template shape to
appear on the recognition monitor.
The template shape can be specified for manual alignment with the align-
ment point.
Refer to “6.8.8 Editing of Recognition Mark Data” for details.
*2 [ALL BEAM HEADS ZERO [MOVE]] Key
Both Beams A and B are zeroed.
When this key is selected and the [MOVE] button is pressed, the zeroing
operation starts.
*3 [BEAM A] and [BEAM B] Keys
When either one of the [BEAM A] and [BEAM B] keys is selected and the
[MOVE] button is pressed, the P.E.C. camera moves to the specified point
on the teaching plate.
The teaching point (the center hole located at the teaching plate position)
appears on the recognition monitor. Perform the manual alignment using
the trackball.
Refer to “6.8.9 Teaching Operation with Trackball” for details.
*4 TEACHING PLATE OFFSET OLD DATA
Displayed are the values before the teaching plate offset data is taught.
*5 TEACHING PLATE OFFSET NEW DATA
Displayed are the values after the teaching plate offset data is taught.
Before the teaching operation is performed, the same values as *4 are dis-
played.
*3
*1
*5
*2
*4
9910-001 3-97
6. TEACH OFFSET Display
Fig. 3.61