4OM-1064-001 - 第65页
Tg0249-PM-MM 3.2 Component Handling Error Rate Data This session describes how to check the pick-up rate calculated for each feeder or nozzle and based on each pick-up rate specified in the automatic operation set-up dat…

Tg0249-PM-MM
(5) Pattern Program Management Data Clear Mode
When the [CLEAR PATTERN PRGM. MGT. DATA] key is pressed at
the “PATTERN PROGRAM MANAGEMENT DATA” display, the fol-
lowing display appears on the screen.
•
When a pattern program name is selected by pressing the corresponding
“NAMES (XX/XX)” key and the [CLEAR] key is pressed, the pattern pro-
gram management data of the selected pattern program is cleared.
•
The date when the [CLEAR] key is pressed is displayed in the “CLEAR
DATE” text boxes.
9910-001 3-18
Fig. 3.8
3. MANAGEMENT DATA Display

Tg0249-PM-MM
3.2 Component Handling Error Rate Data
This session describes how to check the pick-up rate calculated for each feeder
or nozzle and based on each pick-up rate specified in the automatic operation
set-up data.
When the [COMP. HANDLING ERROR RATE DATA] key is pressed at the
“MANAGEMENT DATA” display, the following display appears on the screen.
Fig. 3.9
9910-001 3-19
3. MANAGEMENT DATA Display

Tg0249-PM-MM
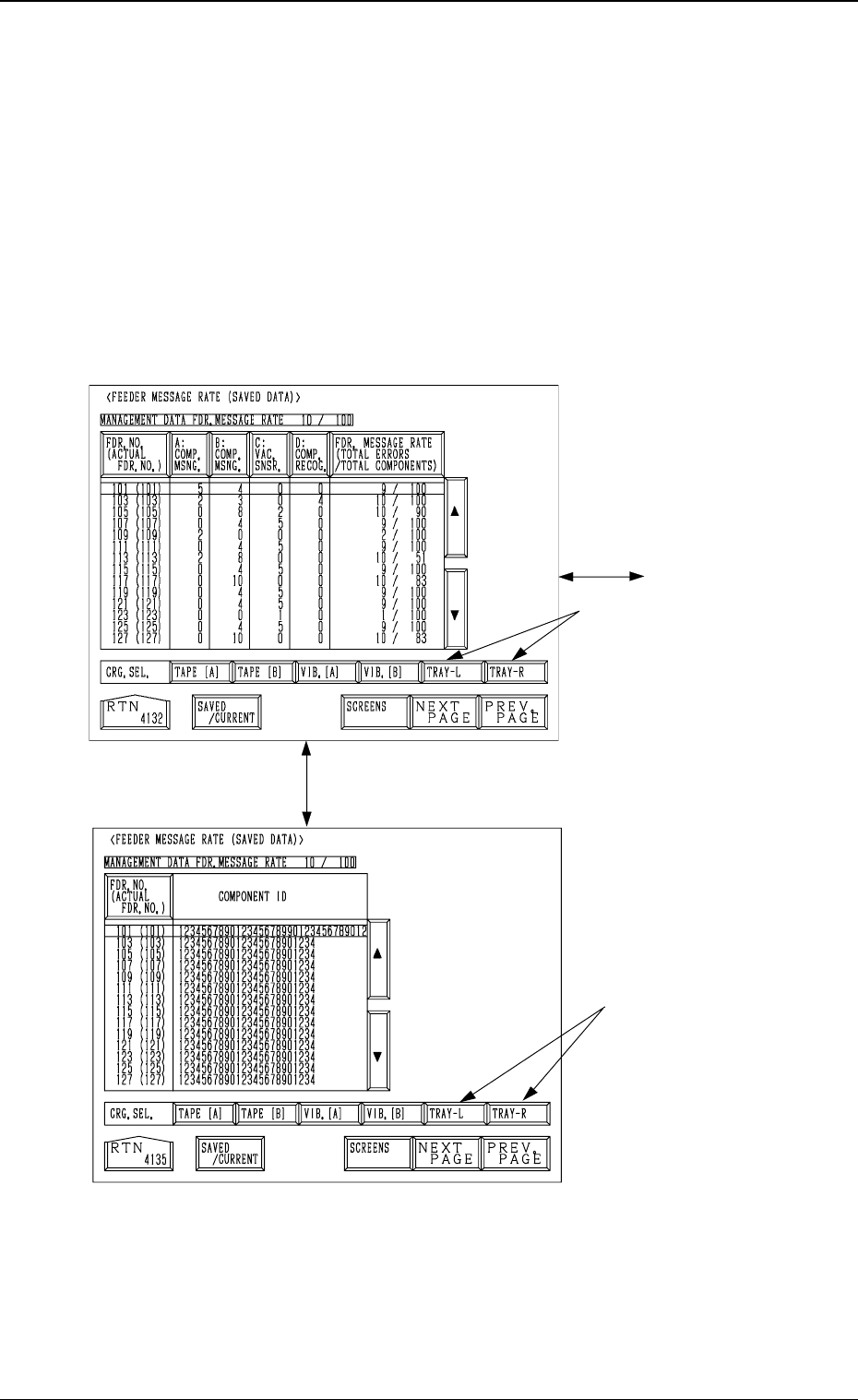
3.2.1 Feeder Message Rate
Pick-up rates managed for each feeder (feeder slot No.) are displayed accord-
ing to the parameters specified at the “AUTO OPERATION SET-UP” display.
When the [FEEDER MESSAGE RATE] key is pressed at the “COMP. HAN-
DLING ERROR RATE DATA” display, the following display appears on the
screen.
When the [SAVED/CURRENT] key or the [SCREENS] key is pressed, an-
other display is selected.
Note: The -marked items are optional.
(SAVED DATA)
Fig. 3.10-1
Fig. 3.10-2
9910-001 3-20
3. MANAGEMENT DATA Display
[SAVED/CURRENT] Key
Current Data
[SCREENS] Key