P-120-001e - 第173页
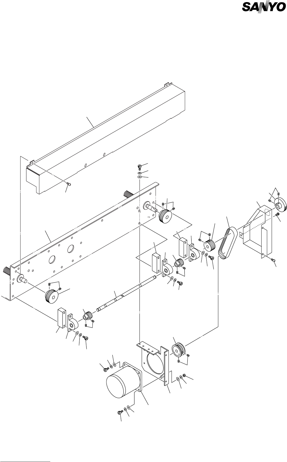
MODEL TCM-3600J 981 1-001 8- 3 Key No. PART No. PART NAME Q'ty REMARKS 1 630 028 9493 GEAR 2 703H--01H-006 2 630 000 8951 SET SCREW 4 M5X 8 SET 3 630 058 8255 SHAFT 1 703H--01B-009 4 630 028 9480 GEAR 2 703H--01H-00…

MODEL TCM-3600J
9811-001
R コンベア部 R CONVEYOR SECTION
Fig. 8-3 ドライブシャフト Driving Shaft
1
2
2
41
42
21
22
23
See Fig.8-1See Fig.8-1
Key No.2Key No.2
4
5
6
7
8
9
6-1
33
34
28
29
30
27
26
25
27-1
26
25
24
20
6
6
7
8
9
6-1
6-1
17
16
35
36
38
39
37
37
3
4
5
7
8
9
1
4796R

MODEL TCM-3600J
9811-001
8- 3
Key No. PART No. PART NAME Q'ty REMARKS
1 630 028 9493 GEAR 2 703H--01H-006
2 630 000 8951 SET SCREW 4 M5X8 SET
3 630 058 8255 SHAFT 1 703H--01B-009
4 630 028 9480 GEAR 2 703H--01H-007
5 630 008 2296 SET SCREW 4 M4X4 SET
6 630 001 1890 BEARING,UNIT 3 703H--01H-005
6 -1 630 057 7297 COLLAR 3 703H--01B-036
7 411 141 4107 WASHER V 5X10X1 6 FW5
8 411 141 6705 WASHER SPR 5 6 SW5
9 630 000 7800 BOLT,HEX-SCT 6 M5X35
16 630 056 3924 PULLEY,TIMING 1 703H--01H-041
17 630 000 8951 SET SCREW 2 M5X8 SET
20 630 065 1171 BRACKET(MOTOR) 1 703H--01B-043
21 411 141 4107 WASHER V 5X10X1 2 FW5
22 411 141 6705 WASHER SPR 5 2 SW5
23 630 000 7749 BOLT,HEX-SCT 2 M5X10
24 630 009 5869 MOTOR,STEPPING 1 703H--01H-040
25 411 141 4107 WASHER V 5X10X1 2 FW5
26 411 141 6705 WASHER SPR 5 2 SW5
27 630 000 7763 BOLT,HEX-SCT 1 M5X16
27 -1 630 000 7787 BOLT,HEX-SCT 1 M5X25
28 630 001 0220 WASHER 1 703H--01H-027
29 411 141 6705 WASHER SPR 5 2 SW5
30 411 141 0505 NUT HEX 5 1 M5
33 630 056 3917 PULLEY,TIMING 1 703H--01H-042
34 630 000 8951 SET SCREW 2 M5X8 SET
35 630 048 9668 BELT,TIMING 1 703H--01H-043
36 630 056 2798 COVER(R) 1 703H--01B-044
37 411 051 1708 SCR TRS 4X6 3 M4X6 TRS
38 630 035 8384 BOSS(HANDLE) 1 703H--01B-047
39 630 000 8920 SET SCREW 2 M4X6 SET
41 630 073 7462 COVER 1 703H--01B-018
42 411 051 1708 SCR TRS 4X6 4 M4X6 TRS
NOTE

MODEL TCM-3600J
9811-001
R コンベア部 R CONVEYOR SECTION
Fig. 8-4 基板検出部、基板ストッパ P.C.B. Detector, P.C.B. Stopper
See Fig.8-1
Key No.56-1
See Fig.8-1
Key No.56
See Fig.8-1
Key No.8
1
2
3-1
3-2
3-3
3-1
6
7
8
3-2
3-4
14
12
13
15
16
17
19
18
11
8
7
6
9-3
9-2
9-1
1
3-4
3-2
3-1
1-3
3-1
2
3-2
3-3
1-1
9-1
9-2
9-3
31
34
21
22-1
22
28
29
30
25
24
23
26
27
35
36
32
33
1
3-2
3-1
2
3-1
3-2
3-3
8
7
6
9-3
1-2
9-2
9-1
3-4
1
2
3-1
3-2
3-3
3-1
6
7
8
3-2
3-4
1-1
9-1
9-2
9-3
4796R