P-120-001e - 第244页
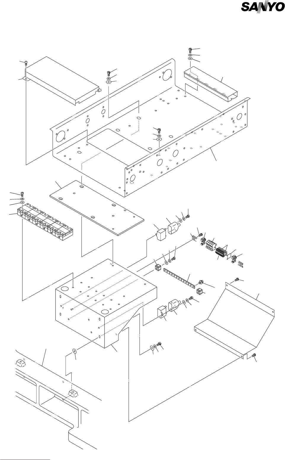
MODEL TCM-3600J 981 1-001 電気制御部 ELECTRICAL SECTION Fig.1 1-19 コンベア駆動回路R Conveyor Driver Circuit R 4796R See Fig.1-1 Key No.12 1 2 4 3 5 26-1 26 28 27 29 61 66 92 91 65 64 63 62 61 92 52-1 52 . 56 53 . 57 57 50 51 55 54 2…

MODEL TCM-3600J
9811-001
11-18
Key No. PART No. PART NAME Q'ty REMARKS
1 630 001 0237 WASHER 4 703G--01H-025
2 630 074 6730 BRACKET(TB) 1 703G--01B-045
3 630 001 0220 WASHER 4 BW5
4 411 141 6705 WASHER SPR 5 4 SW5
5 630 000 7770 BOLT,HEX-SCT 4 M5X20
6 630 074 6761 PLATE 1 703G--01B-053
7 630 001 0237 WASHER 6 BW6
8 411 141 3001 WASHER SPR 6 6 SW6
9 630 000 7893 BOLT,HEX-SCT 4 M6X20
10 630 000 7886 BOLT,HEX-SCT 2 M6X16
21 630 049 1210 RELAY 6 703FD-01D-001
22 411 119 2104 WASHER V 4X9X0.8 12 FW4 F
23 411 008 1706 WASHER SPR 4 12 SW4 F
24 411 042 3001 SCR PAN 4X10 12 M4X10 PAN
27 411 119 2104 WASHER V 4X9X0.8 2 FW4 F
28 411 008 1706 WASHER SPR 4 2 SW4 F
29 411 043 5004 SCR PAN 4X8 2 M4X8 PAN
41 630 064 8201 COVER(L) 1 703G--01B-024
42 411 051 1708 SCR TRS 4X6 2 M4X6 TRS
51 411 051 1708 SCR TRS 4X6 2 M4X6 TRS
52 630 049 1173 FUSE HOLDER 4 703FD-01D-012
52 -1 423 022 8203 FUSE 250V 3.15A 4 703FD-01D-013
53 630 049 3801 TERMINAL 10 703FD-01D-008
54 630 049 3702 ACCESSORY,WIRING 2 703FD-01D-006
55 630 049 3733 ACCESSORY,WIRING 1 703FD-01D-005
57 630 049 3672 BRACKET,WIRING 2 703FD-01D-007
61 630 051 5763 WIRE PARTS 2 703FD-01D-020
62 411 119 2104 WASHER V 4X9X0.8 2 FW4 F
63 411 008 1706 WASHER SPR 4 2 SW4 F
64 411 042 3001 SCR PAN 4X10 2 M4X10 PAN
66 411 036 8609 SCR PAN+SW+W 5X12 9
91 630 074 6747 COVER(TB) 1 703G--01B-046
92 411 051 1708 SCR TRS 4X6 4 M4X6 TRS
97 411 141 4008 WASHER V 4X9X0.8 2 FW4
98 411 141 2905 WASHER SPR 4 2 SW4
99 630 000 7619 BOLT,HEX-SCT 2 M4X8
NOTE

MODEL TCM-3600J
9811-001
電気制御部 ELECTRICAL SECTION
Fig.11-19コンベア駆動回路R Conveyor Driver Circuit R
4796R
See Fig.1-1
Key No.12
1
2
4
3
5
26-1
26
28
27
29
61
66
92
91
65
64
63
62
61
92
52-1
52
.
56
53
.
57
57
50
51
55
54
25
25-1
27
28
29
6
42
41
9
8
7
10
8
7
See Fig.8-1
Key No.2
97
96
98
99
24
23
22
21

MODEL TCM-3600J
9811-001
11-19
Key No. PART No. PART NAME Q'ty REMARKS
1 630 001 0237 WASHER 4 703H--01H-025
2 630 074 6754 BRACKET(TB) 1 703H--01B-045
3 630 001 0220 WASHER 4 BW5
4 411 141 6705 WASHER SPR 5 4 SW5
5 630 000 7770 BOLT,HEX-SCT 4 M5X20
6 630 074 6761 PLATE 1 703H--01B-053
7 630 001 0237 WASHER 6 BW6
8 411 141 3001 WASHER SPR 6 6 SW6
9 630 000 7893 BOLT,HEX-SCT 4 M6X20
10 630 000 7886 BOLT,HEX-SCT 2 M6X16
21 630 049 1210 RELAY 6 703FD-01D-001
22 411 119 2104 WASHER V 4X9X0.8 12 FW4 F
23 411 008 1706 WASHER SPR 4 12 SW4 F
24 411 042 3001 SCR PAN 4X10 12 M4X10 PAN
27 411 119 2104 WASHER V 4X9X0.8 2 FW4 F
28 411 008 1706 WASHER SPR 4 2 SW4 F
29 411 043 5004 SCR PAN 4X8 2 M4X8 PAN
41 630 064 8287 COVER 1 703H--01B-024
42 411 051 1708 SCR TRS 4X6 2 M4X6 TRS
51 411 051 1708 SCR TRS 4X6 2 M4X6 TRS
52 630 049 1173 FUSE HOLDER 4 703FD-01D-012
52 -1 423 022 8203 FUSE 250V 3.15A 4 703FD-01D-013
53 630 049 3801 TERMINAL 10 703FD-01D-008
54 630 049 3702 ACCESSORY,WIRING 2 703FD-01D-006
55 630 049 3733 ACCESSORY,WIRING 1 703FD-01D-005
57 630 049 3672 BRACKET,WIRING 2 703FD-01D-007
61 630 051 5763 WIRE PARTS 2 703FD-01D-020
62 411 119 2104 WASHER V 4X9X0.8 2 FW4 F
63 411 008 1706 WASHER SPR 4 2 SW4 F
64 411 042 3001 SCR PAN 4X10 2 M4X10 PAN
66 411 036 8609 SCR PAN+SW+W 5X12 9
91 630 074 6747 COVER(TB) 1 703H--01B-046
92 411 051 1708 SCR TRS 4X6 4 M4X6 TRS
97 411 141 4008 WASHER V 4X9X0.8 2 FW4
98 411 141 2905 WASHER SPR 4 2 SW4
99 630 000 7619 BOLT,HEX-SCT 2 M4X8
NOTE