NPM-D3A Partlist.pdf - 第335页
Ref No. Remark s R 1 Q'ty 42-C 交換台車駆動部( 切替仕様): NPM-D Feeder Ca rt Drive Unit(Cha nging Specificatio n):NPM-D イラスト No. Part No. 品 名 品 番 数量 R 2 パーツリスト Kit No. キット品番 Kit Nam e キット名称 N610112809A A Part Nam e 備 考 セクションN …

42-C
交換台車駆動部(切替仕様):NPM-D
Feeder Cart Drive Unit(Changing Specification):NPM-D
パーツレイアウト
Kit No.
キット品番
Kit Name
キット名称
N610112809AA
セクションNo.
PARTS LAYOUT
Section No.
--
O151
( KN610112809AA-13-3 )

Ref
No.
Remarks R
1
Q'ty
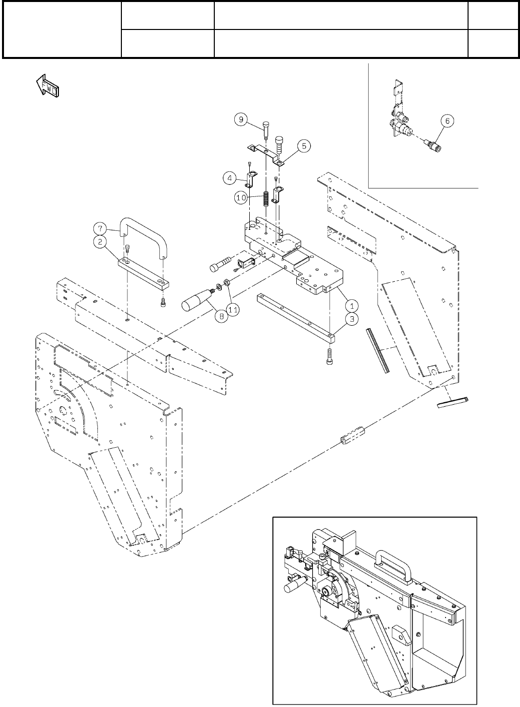
42-C
交換台車駆動部(切替仕様):NPM-D
Feeder Cart Drive Unit(Changing Specification):NPM-D
イラスト
No.
Part No.
品 名品 番 数量
R
2
パーツリスト
Kit No.
キット品番
Kit Name
キット名称
N610112809AA
Part Name
備 考
セクションNo.
PARTS LIST
Section No.
R
3
PLATE
1
1 N210126106AA
PLATE
1
2 N210120647AC
PLATE
1
3 N210126341AA
STOPPER
3
4 N210120641AA
PLATE
1
5 N210100051AB
JOINT
1
6 N510006401AA KK3P-06H
HANDLE
1
7 N510045749AA UAF-20X128-BK
GRIP
1
8 N510060641AA GTM-24XM8
BOLT
1
9 N510032567AA MMSB8-30
SPRING
1
10 N510041160AA WWR10-35
NUT
1
11 N510017879AA
Hexagon nut Type-3 Best class M8-6H-4T A2J (Trivalent)
O152
--
( KN610112809AA-13-3 )

43
銘板・警告ラベル(交換台車切替ユニット駆動部):NPM-D
Label(Feeder Cart Changing Unit Drive Part):NPM-D
パーツレイアウト
Kit No.
キット品番
Kit Name
キット名称
N610118377AA
セクションNo.
PARTS LAYOUT
Section No.
--
O153
( KN610118377AA-05 )