NPM-D3A Partlist.pdf - 第368页
53-D 軽量16ノ ズルヘッドV2 メカ Light W eight 16 Nozz le Head V 2(M) パーツレイアウト Kit N o. キット品番 Kit Name キット名称 MTKA006094 AA セクシ ョンNo. PARTS LAYOUT Section No. - - O185 ( KMTKA006094 AA-15-4 )

Ref
No.
Remarks R
1
Q'ty
53-C
軽量16ノズルヘッドV2メカ
Light Weight 16 Nozzle Head V2(M)
イラスト
No.
Part No.
品 名品 番 数量
R
2
パーツリスト
Kit No.
キット品番
Kit Name
キット名称
MTKA006094AA
Part Name
備 考
セクションNo.
PARTS LIST
Section No.
R
3
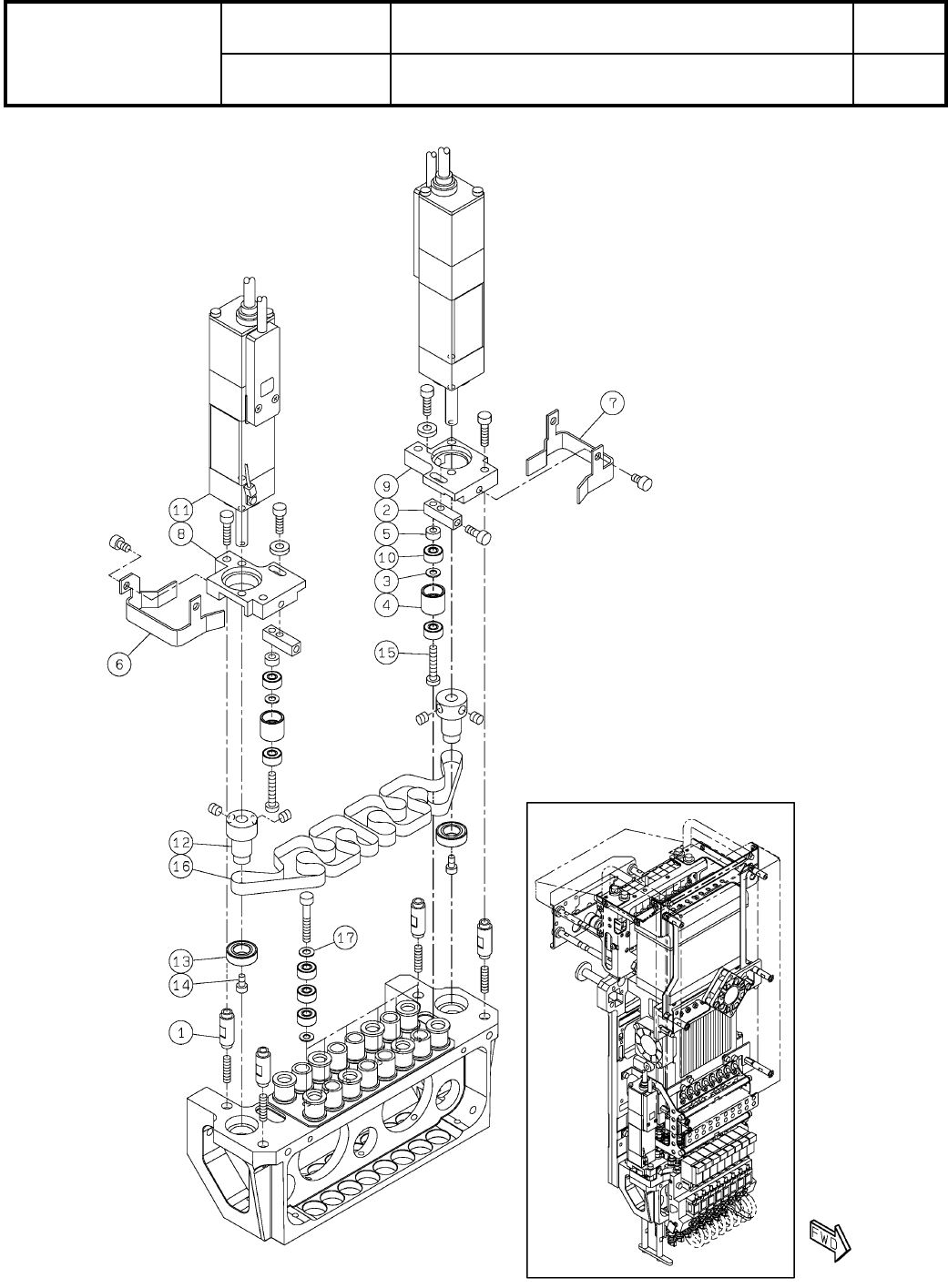
HOUSING
16
1 N210126570AB
PIECE
32
2 N210110221AA
HOLDER
16
3 N210141026AB
SPRING
16
4 N210125002AA
A
CLAMP-ARM
32
5 N210098763AB
A
SPRING
16
6 N210014666AC
A
NOZZLE HOLDER
16
7 N610113699AB
FILTER
16
8 N610097899AC
TUBE(68mm CUT)
16
9 N610161010AA
JOINT
16
10 N510064400AA M-3AU-4-X83
BEARING
32
11 N510048761AA L-630ZZ H P0P25LY72
PACKING
32
12 N555MYA3 MYA-3
SHIM
16
13 N510028628AA RF002004020
PIN
16
14 N510049558AA N2X5-07
BEARING
16
15 N510019154AA DDR-620ZZY52 H P0P13LY72
SCREW
32
16 XXE25C3FT
Hexagon socket set screw Flat point M2.5X3-45H SOB
O184
--
( KMTKA006094AA-15-3 )

53-D
軽量16ノズルヘッドV2メカ
Light Weight 16 Nozzle Head V2(M)
パーツレイアウト
Kit No.
キット品番
Kit Name
キット名称
MTKA006094AA
セクションNo.
PARTS LAYOUT
Section No.
--
O185
( KMTKA006094AA-15-4 )

Ref
No.
Remarks R
1
Q'ty
53-D
軽量16ノズルヘッドV2メカ
Light Weight 16 Nozzle Head V2(M)
イラスト
No.
Part No.
品 名品 番 数量
R
2
パーツリスト
Kit No.
キット品番
Kit Name
キット名称
MTKA006094AA
Part Name
備 考
セクションNo.
PARTS LIST
Section No.
R
3
POST
4
1 N210119187AA
BLOCK
2
2 N210116692AA
COLLAR
8
3 N210123391AA
PULLEY
2
4 MTPA038999AA
COLLAR
2
5 N210123392AA
COVER
1
6 N210134042AB
COVER
1
7 N210133002AC
PLATE
1
8 N610161629AA
PLATE
1
9 N610161628AA
BEARING
22
10 N510017124AA R-830ZZ R P0P25LY121
MOTOR
2
11 N510068271AA
S
P50B02002BXS9B
PULLEY
2
12 N510032344AA P14-2GT-12-SF(K0610-001-01)
BEARING
2
13 N510011403AA DDL-1370ZZ R P0P25LY121
BOLT
2
14 XVE25B5FTC
Hexagon socket head cap screw M2.5X5-12.9 SOB
BOLT
2
15 N510067769AA Low Head Cap Screw M3X16-8.8 A2J(Trivalent)
T-BELT
2
16 N510055507AA 286-2GT-6(3FX6N17)S-107141
WASHER
6
17 N510033304AA
Small round-plain washer 3 10H A2S (Trivalent)
O186
--
( KMTKA006094AA-15-4 )