NPM-D3A Partlist.pdf - 第383页
Ref No. Remark s R 1 Q'ty 55-C 軽量16ノズ ルヘッドV 3メカ Li ght we ig ht 1 6 N ozzle He ad V 3(M) イラスト No. Part No. 品 名 品 番 数量 R 2 パーツリスト Kit No. キット品番 Kit Nam e キット名称 MTKA031522A A Part Nam e 備 考 セクションN o. PARTS LIST Sectio…

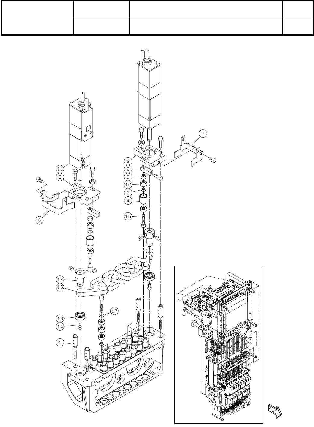
55-C
軽量16ノズルヘッドV3メカ
Light weight 16 Nozzle Head V3(M)
パーツレイアウト
Kit No.
キット品番
Kit Name
キット名称
MTKA031522AA
セクションNo.
PARTS LAYOUT
Section No.
--
O199
( KMTKA031522AA-07-3 )

Ref
No.
Remarks R
1
Q'ty
55-C
軽量16ノズルヘッドV3メカ
Light weight 16 Nozzle Head V3(M)
イラスト
No.
Part No.
品 名品 番 数量
R
2
パーツリスト
Kit No.
キット品番
Kit Name
キット名称
MTKA031522AA
Part Name
備 考
セクションNo.
PARTS LIST
Section No.
R
3
HOUSING
16
1 N210126570AB
PIECE
32
2 N210110221AA
HOLDER
16
3 N210141026AB
SPRING
16
4 N210125002AA
A
CLAMP-ARM
32
5 N210098763AB
A
SPRING
16
6 N210014666AC
A
NOZZLE HOLDER
16
7 N610113699AB
FILTER
16
8 N610097899AC
TUBE(68mm CUT)
16
9 N610161010AA
JOINT
16
10 N510064400AA M-3AU-4-X83
BEARING
32
11 N510048761AA L-630ZZ H P0P25LY72
PACKING
32
12 N555MYA3 MYA-3
SHIM
16
13 N510028628AA RF002004020
PIN
16
14 N510049558AA N2X5-07
BEARING
16
15 N510019154AA DDR-620ZZY52 H P0P13LY72
SCREW
32
16 XXE25C3FT
Hexagon socket set screw Flat point M2.5X3-45H SOB
O200
--
( KMTKA031522AA-07-3 )

55-D
軽量16ノズルヘッドV3メカ
Light weight 16 Nozzle Head V3(M)
パーツレイアウト
Kit No.
キット品番
Kit Name
キット名称
MTKA031522AA
セクションNo.
PARTS LAYOUT
Section No.
--
O201
( KMTKA031522AA-07-4 )