NPM-D3A Partlist.pdf - 第454页
75-D 汎用型転写ユニッ ト(メカ): NPM M ULTIFUNCTIO NAL TRANSF ER UNIT:NPM パーツレイアウト Kit N o. キット品番 Kit Name キット名称 N610095857A B セクシ ョンNo. PARTS LAYOUT Section No. - - O271 ( KN610095857 AB-07-4 )

Ref
No.
Remarks R
1
Q'ty
75-C
汎用型転写ユニット(メカ):NPM
MULTIFUNCTIONAL TRANSFER UNIT:NPM
イラスト
No.
Part No.
品 名品 番 数量
R
2
パーツリスト
Kit No.
キット品番
Kit Name
キット名称
N610095857AB
Part Name
備 考
セクションNo.
PARTS LIST
Section No.
R
3
COUPLING
1
1 KXFB01V1A00
BRACKET
1
2 N210125480AB
HOLDER
1
3 N210063077AE
PLATE
1
4 N210122329AB
PLATE
1
5 N210122330AB
PLATE
1
8 N210172666AA
SQUEEGEE
1
9 N210184809AA
COVER
1
10 N210117434AA
KNOB
2
11 N210175891AA
FLANGE
1
12 N210069927AC
MOTOR
1
13 N610069411AB
S
BALL-SCREW
1
14 N510026043AC W1002-467PSS-C5Z5
SUPPORT-UNIT
1
15 KXF0BBMAA00 WBK08-01A
LINEAR-WAY
2
16 N510026044AA LWLC9C2R60BE140
POST
2
17 N210158674AA
POST
2
18 N510056925AA SPOS-M5X20-B
SPRING
2
19 N510011475AA 2131
SPACER
2
21 N510030908AA CB-335E
SPACER
2
22 N510032781AA KSB-316AE
SCREW
26
23 XSS3+6VW
Cross recessed Countersunk head machine screw M3X6-A2-70
SCREW
15
24 XSN3+6VW
Cross recessed Pan head machine screw M3X6-A2-70
BOLT
4
25 XVE25B10FTC
Hexagon socket head cap screw M2.5X10-12.9 SOB
BOLT
2
26 XVE25B4FTC
Hexagon socket head cap screw M2.5X4-12.9 SOB
COVER
1
28 N210117430AA
BRACKET
2
29 N210075279AA
BLOCK
1
30 N210184849AB
BLOCK
1
31 N210184850AB
SPACER
2
32 KXF0BPKAA00 CU-311
SPACER
3
33 N510029471AA ASF-313E
SQUEEGEE-KIT
1
34 N610160089AB
PLATE
1
39 N210117441AA
PLATE
1
40 N210172665AB
STOPPER
1
41 N210125481AA
SPACER
2
42 N510036039AA 3382330-30050
E-RING
2
44 KXF01X6AA00 ETW-1.5
NUT
4
45 XNG5CVW Hexagon nut Type-3 Best class M5-6H-A2-70
BOLT
2
46 N510017329AA
Hexagon socket head cap screw M3X40-10.9 A2J (Trivalent)
O270
--
( KN610095857AB-07-3 )

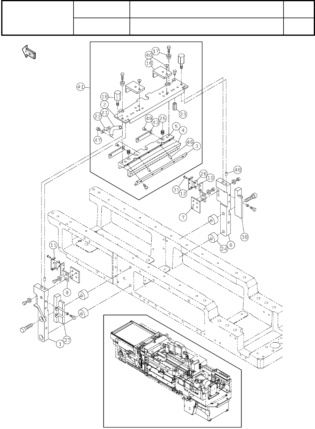
75-D
汎用型転写ユニット(メカ):NPM
MULTIFUNCTIONAL TRANSFER UNIT:NPM
パーツレイアウト
Kit No.
キット品番
Kit Name
キット名称
N610095857AB
セクションNo.
PARTS LAYOUT
Section No.
--
O271
( KN610095857AB-07-4 )

Ref
No.
Remarks R
1
Q'ty
75-D
汎用型転写ユニット(メカ):NPM
MULTIFUNCTIONAL TRANSFER UNIT:NPM
イラスト
No.
Part No.
品 名品 番 数量
R
2
パーツリスト
Kit No.
キット品番
Kit Name
キット名称
N610095857AB
Part Name
備 考
セクションNo.
PARTS LIST
Section No.
R
3
BAR
1
1 N210124741AA
PLATE
1
2 N210196180AC
PLATE
1
3 N210128050AB
SCRAPER
1
4 N210175463AA
A
PLATE
1
5 N210197686AB
BAR
1
6 N210124745AA
PLATE
2
7 N210075312AA
BRACKET
1
9 N210075313AA
BRACKET
1
10 N210075314AA
COVER
1
11 N210066075AB
COVER
1
12 N210066076AB
PLATE
2
16 N210124747AB
COLLAR
2
17 N210066917AA
KNOB
2
18 N210124748AA
PIPE
1
21 N210124749AB
BAND
1
22 N210172664AA
SPACER
1
23 N510029470AA ASF-315E
COLLAR
4
24 N210159704AA
SPRING
2
25 N510033772AA 5531
FIBER
1
26 N510064527AA FT-Z30EW
SCREW
4
31 XSN2+6VW
Cross recessed Pan head machine screw M2X6-A2-70
BLOCK
1
37 N210082798AA
BLOCK
1
38 N210082806AA
SCREW
4
40 N510018253AA
Cross recessed Truss head machine screw M3X6-4.8 A2J (Trivalent)
SCRAPER-KIT
1
41 N610102730AF
PLATE
2
43 N210172686AB
PIN
2
46 N510020588AA MMS3-6
BOLT
2
47 N510017330AA
Hexagon socket head cap screw M3X4-10.9 A2J (Trivalent)
PIN
2
48 N510020588AA MMS3-6
SCREW
4
49 XSS3+5VW
Cross recessed Countersunk head machine screw M3X5-A2-70
O272
--
( KN610095857AB-07-4 )