NPM-D3A Partlist.pdf - 第84页
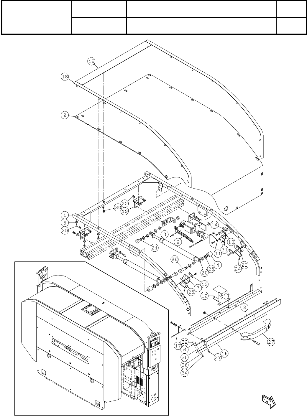
19-B 全体カバ ー:NPM-D3 W hole Cover:NPM -D3 パーツレイアウト Kit N o. キット品番 Kit Name キット名称 N610160758A A セクシ ョンNo. PARTS LAYOUT Section No. - - S65 ( KN610160758 AA-28-2 )

Ref
No.
Remarks R
1
Q'ty
19-A
全体カバー:NPM-D3
Whole Cover:NPM-D3
イラスト
No.
Part No.
品 名品 番 数量
R
2
パーツリスト
Kit No.
キット品番
Kit Name
キット名称
N610160758AA
Part Name
備 考
セクションNo.
PARTS LIST
Section No.
R
3
BRACKET
1
1 N210191813AA
BRACKET
2
2 N210189365AB
BRACKET
1
3 N210191815AB
BRACKET
2
4 N210191816AB
GUIDE
1
5 N210190000AA
BRACKET
1
6 N210157380AA
COVER
1
7 N210191822AC
PLATE
1
8 N210196152AA
COVER
1
9 N610161027AD
COVER
1
10 N610161856AA
COVER
1
11 N610161857AB
COVER
1
12 MTKP001540AA
COVER
1
13 N610161029AB
COVER
1
14 N610161030AB
COVER
1
15 N610161031AB
COVER
1
16 N610161032AA
COVER
1
17 N610161033AA
COVER
1
18 N610161034AA
COVER
1
19 N610161035AB
COVER
1
20 N610161036AB
COVER
1
21 N610161037AC
COVER
2
22 N610161040AC
DUCT-KIT
1
23 MTKA014980AA
COVER
1
24 N610161043AF
COVER
1
25 N610161044AB
COVER
2
26 N610162062AA
FAN
1
27 N610127903AA
S
CAP
11
28 N510024547AA CP-328-B-5-G
SPACER
4
29 N510029536AA CF-414E
FAN-GUARD
2
30 KXF077MAA00 109-019E
SCREW
4
31 N510018269AA
Cross recessed Truss head machine screw M4X30-4.8 A2J (Trivalent)
SWITCH
2
32 N510056987AA
S
HS5D-02RNP
PLATE
4
33 N510043073AA YN-001U
CUSHION
2
34 N510048932AA C-300-B-5X10-Si WF
JOINT
4
35 KXF06F4AA00 53015030-WM
CABLE-SUPPORT
9
36 N510048517AA FT4
SCREW
8
37 N510018156AA
Cross recessed Countersunk head machine screw M3X5-4.8 A2J (Trivale
TAPE
1
38 KXF0DXNAA00 AGF-100 t=0.18 W=100mm L=10m
SCREW
25
39 MTNK001434AA
Cross recessed Truss head machine screw M6X10-4.8 A2J (Trivalent)
SCREW
26
40 N510018305AA
Cross recessed Truss head machine screw M6X10-4.8 A2S (Trivalent)
BOLT
11
41 N510017629AA
Hexagon socket Flat head bolt M5X10-10.9 A2J (Trivalent)
S64
--
( KN610160758AA-28-1 )

19-B
全体カバー:NPM-D3
Whole Cover:NPM-D3
パーツレイアウト
Kit No.
キット品番
Kit Name
キット名称
N610160758AA
セクションNo.
PARTS LAYOUT
Section No.
--
S65
( KN610160758AA-28-2 )

Ref
No.
Remarks R
1
Q'ty
19-B
全体カバー:NPM-D3
Whole Cover:NPM-D3
イラスト
No.
Part No.
品 名品 番 数量
R
2
パーツリスト
Kit No.
キット品番
Kit Name
キット名称
N610160758AA
Part Name
備 考
セクションNo.
PARTS LIST
Section No.
R
3
FRAME
1
1 MTPA018656AA
COVER
1
2 N210191872AC
COVER
1
3 N210189611AA
COLLAR
4
4 N210189655AA
WASHER
2
5 N210157945AA
WASHER
2
6 N210192150AA
BRACKET
2
7 N210153557AA
BRACKET
4
8 N210189367AB
LEVER
1
9 N210189368AB
BRACKET
1
10 N210191889AA
COVER
1
11 MTPB008917AA
COVER
1
12 N210189375AC
PLATE
2
13 N210189486AA
NUT-PLATE
1
14 N210143038AA
PLATE
1
15 N610165022AA
COVER
1
16 N610161894AA
COVER
1
17 N610161895AB
COVER
2
18 MTKP004731AA
HINGE
4
19 N610130352AB
GAS-SPRING
4
20 N510046058AA
S
KMF100-20M
BOLT
4
21 N510020762AA MMSB10-10
E-RING
4
22 KXF0AG0AA00 B-1024-4
MAGNET
2
23 N986MC159 MC-159
SCREW
4
24 N510018158AA
Cross recessed Countersunk head machine screw M3X6-4.8 A2J (Trivale
WASHER
16
25 N510018506AA
Round finish plain washer (JIS B 1256:1978) 10 10H A2J (Trivalent)
WASHER
4
26 N510048767AA PSW-0409-08
PULL
1
27 KXF0DX62A00 AP-829-2
BOLT
4
28 N510032425AA MMSB10-30
BOLT
2
29 MTNK002310AA
Ultra Low Head Cap Screw M4X10-8.8 A2J(Trivalent) (PA-S process)
SCREW
18
30 MTNK002299AA
Cross recessed Truss head machine screw M4X10-4.8 A2J (Trivalent) (PA
SPACER
2
31 N510021007AA CF-408E
SPACER
2
32 N510068123AA CF-502.5ZE
SCREW
5
34 N510068145AA
Cross recessed Truss head machine screw M4X8-4.8 A2S(Trivalent)(UG-
SPACER
3
35 N510023836AA CF-403ZE
WASHER
10
36 N510018763AA
Toothed lock washer 4 External toothed Steel Unichrome white (Trivalent)
SCREW
5
37 N510068146AA
Cross recessed Truss head machine screw M4X10-4.8 A2S (Trivalent)(U
S66
--
( KN610160758AA-28-2 )