Guide for components changeover table 80F5_20211119_082722 - 第6页
Guide for components changeover table 80F5 Page 6 / 6 19.11.2021 Pos. Item no. Description Part marking 33 00304641-01 SPACER PLATE Spare Part 34 00095474-01 DISC 6,4 DIN125-A Spare 35 00845059-01 HEXAGON SOCKET HEAD CAP…

Guide for components changeover table 80F5
Page 4 / 6 19.11.2021

Guide for components changeover table 80F5
Page 5 / 6 19.11.2021
Pos. Item no. Description Part marking
00320838-03 GUIDE FOR CHANGEABLE TABLE
2 00304630-07 STRIP
3 00304631-03 CENTERING SPARE PART
4 00304632-05 CENTERING BOLT SPARE PART
5 00304702-01 BUFFER MOUNT SPARE PART
6 00304703-01 BUFFER MOUNT SPARE PART
7 00304704-03 SLEEVE SPARE PART
8 00304709-04 SLIDEING PLATE Spare Part
9 00304710-05 SLIDE RAIL MOUNT
10 00201033-01 PLASTIC SPRING 8,5*20*40 (90
SHORE) RED
SPARE PART
11 00304642-01 HORIZONTAL TENSIONER SPARE PART
12 00845097-01 HEXAGON SOCKET HEAD CAP
SCREW
13 00619897-01 PARALLEL PIN
14 00048346-01 DIN 6799 - 8-ST Spare Part
15 00095567-01 DIN 934 - M 8 - ST
16 00048346-01 DIN 6799 - 8-ST Spare Part
17 00095567-01 DIN 934 - M 8 - ST
22 00304700-01 HOLDER SPARE PART
23 00095566-01 HEXAGON NUT
24 00095474-01 DISC 6,4 DIN125-A Spare
25 00845058-01 HEXAGON SOCKET HEAD CAP
SCREW M6 X 16-8.8, COPPER + NI-
PLATED
26 00845061-01 HEXAGON SOCKET HEAD CAP
SCREW
27 00845060-01 HEXAGON SOCKET HEAD CAP
SCREW M6 X 25-8.8
28 00845028-01 HEXAGON SOCKET HEAD CAP
SCREW M4 X 20-8.8
29 00845060-01 HEXAGON SOCKET HEAD CAP
SCREW M6 X 25-8.8
30 00845027-01 HEXAGON SOCKET HEAD CAP
SCREW M4 X 16-8.8
31 00845026-01 HEXAGON SOCKET HEAD CAP
SCREW M4 X 12-8.8
32 00845068-01 HEXAGON SOCKET HEAD CAP
SCREW

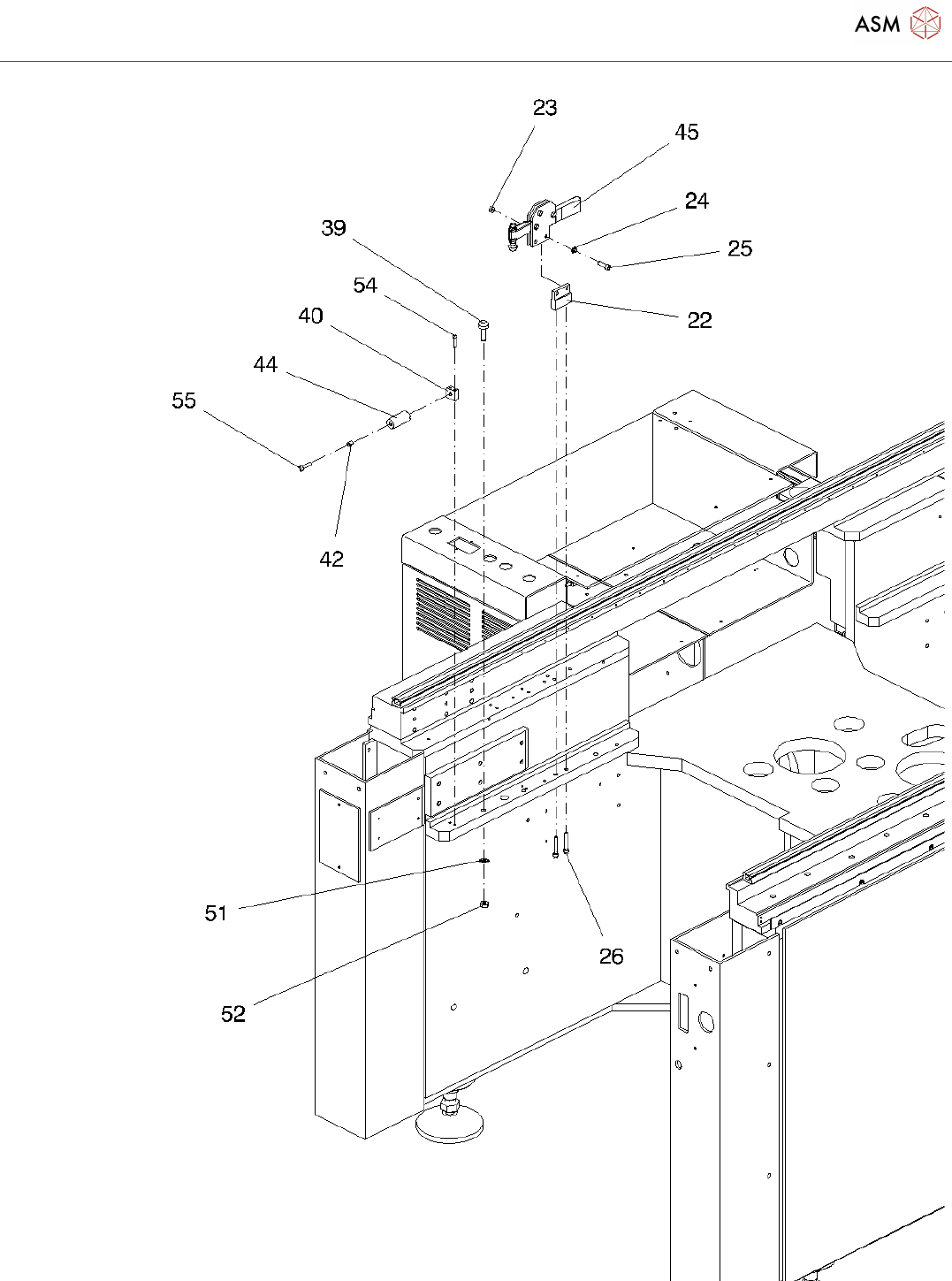
Guide for components changeover table 80F5
Page 6 / 6 19.11.2021
Pos. Item no. Description Part marking
33 00304641-01 SPACER PLATE Spare Part
34 00095474-01 DISC 6,4 DIN125-A Spare
35 00845059-01 HEXAGON SOCKET HEAD CAP
SCREW M6 X 20-8.8
00326964-01 GUIDE F. CHANGEOVER
COMPONENT TABLE 80F
37 00304630-07 STRIP
38 00304631-03 CENTERING SPARE PART
39 00304632-05 CENTERING BOLT SPARE PART
40 00304702-01 BUFFER MOUNT SPARE PART
41 00304703-01 BUFFER MOUNT SPARE PART
42 00304704-03 SLEEVE SPARE PART
43 00304710-05 SLIDE RAIL MOUNT
44 00201033-01 PLASTIC SPRING 8,5*20*40 (90
SHORE) RED
SPARE PART
45 00304642-01 HORIZONTAL TENSIONER SPARE PART
46 00316791-01 SLIDING PLATE Spare Part
47 00845097-01 HEXAGON SOCKET HEAD CAP
SCREW
48 00619897-01 PARALLEL PIN
49 00048346-01 DIN 6799 - 8-ST Spare Part
50 00095567-01 DIN 934 - M 8 - ST
51 00048346-01 DIN 6799 - 8-ST Spare Part
52 00095567-01 DIN 934 - M 8 - ST
53 00845060-01 HEXAGON SOCKET HEAD CAP
SCREW M6 X 25-8.8
54 00845028-01 HEXAGON SOCKET HEAD CAP
SCREW M4 X 20-8.8
55 00845060-01 HEXAGON SOCKET HEAD CAP
SCREW M6 X 25-8.8
56 00845027-01 HEXAGON SOCKET HEAD CAP
SCREW M4 X 16-8.8
57 00845068-01 HEXAGON SOCKET HEAD CAP
SCREW
58 00845026-01 HEXAGON SOCKET HEAD CAP
SCREW M4 X 12-8.8
Powered by TCPDF (www.tcpdf.org)