P-0297-004.pdf - 第54页
MODEL CV -G100 1004-004 平成 19 年 8 月 初 版発 行 Pu bli she d, Au g. 20 07 平成 20 年 1 月 第2 版発行 Re vi sed , Ja n. 200 8 平成 21 年 9 月 第3 版発行 Re vi sed , Se p. 20 09 平成 22 年 4 月 第4 版発行 Re vi sed , Ap r. 2 010 CHIP MOUNTING SYSTEM 立…

0801-002
157
156
.
152
.
164
163
.
161
.
164
166
163
.
162
.
104
105
152
167
102
103
111
101
MS-G300L
See Fig. HT-1
Key No.29
or
MS-G300R
See Fig. HT-1
Key No.29
164
163
.
161
.
164
163
.
161
.
164
163
.
161
.
104
164
163
.
162
.
157
156
.
152
.
See Fig. RY-1
Key No.31
内が対応箇所です。
The explanation in brackets is for the locations to be treated
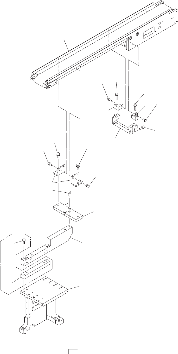
リサイクルコンベア
RECYCLE CONVEYOR
(G -S013-09) (G -S013-09)
Fig. RY-2
コンベアベース
Conveyor Base
RY-2 illust-3

1004-004
Key No. PART No. PART NAME Q’ty REMARKS New Code
NOTE
RY-2
RY-2 list-1
101 6301673707 PLATE 1 806RY-110-001 211DE078
102 6301673691 BRACKET 2 806RY-110-002 211FD688
103 6301673745 PLATE 1 806RY-110-003 211DE079
104 6301292984 BLOCK 2 806RY-110-004 211G3662
105 6301293196 BLOCK 1 806RY-110-005 211G3666
111 6301673752 PLATE 1
806RYA110010-A001
211DE080
152 6300007756 BOLT,HEX-SCT 4 M5X12 221A0030
156 4111416705 WASHER SPR 5 2 SW5 221H0287
157 4111414107 WASHER V 5X10X1 2 FW5 221H0318
161 6300007633 BOLT,HEX-SCT 6 M4X12 221A0018
162 6300007664 BOLT,HEX-SCT 2 M4X20 221A0021
163 4111412905 WASHER SPR 4 8 SW4 221H0284
164 4111414008 WASHER V 4X9X0.8 8 FW4 221H0315
165 6300007749 BOLT,HEX-SCT 2 0 M5X10 221A0029
166 6300007770 BOLT,HEX-SCT 2 M5X20 221A0032
167 6300007800 BOLT,HEX-SCT 2 M5X35 221A0035
CV-G100
G -S013-09

MODEL CV-G100
1004-004
平成
19
年
8
月
初
版発行
Published, Aug. 2007
平成
20
年
1
月
第2版発行
Revised, Jan. 2008
平成
21
年
9
月
第3版発行
Revised, Sep. 2009
平成
22
年
4
月
第4版発行
Revised, Apr. 2010
CHIP MOUNTING SYSTEM
立体分解図
EXPLODED ILLUSTRATION
編集及び発行所
Editing & Publishing
Printed by T.H.I
不許複製
COLOPHON