Gantry system_20211124_081100 - 第9页
Gantry system Page 9 / 11 24.11.2021 Pos. Item no. Description Part marking 03013967-02 UPGRADE KIT PLATE GANTRY 1 03006781S02 PORTALSYSTEM KPL. HF * 2 03001705-02 CFK GANTRY BASE UNIT PROCESSED 3 03003366-04 X-DRIVE COM…

Gantry system
Page 8 / 11 24.11.2021

Gantry system
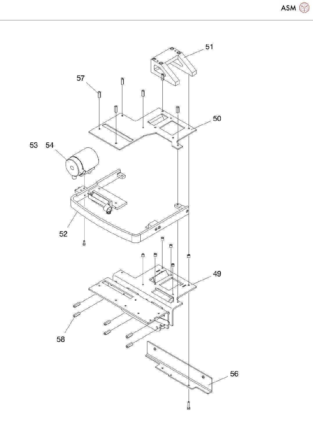
Page 9 / 11 24.11.2021
Pos. Item no. Description Part marking
03013967-02 UPGRADE KIT PLATE GANTRY
1 03006781S02 PORTALSYSTEM KPL. HF *
2 03001705-02 CFK GANTRY BASE UNIT
PROCESSED
3 03003366-04 X-DRIVE COMPL. (PRIMARY)
4 03003361-04 LINEAR-MOTOR X-AXIS
5 03003993-04 X-MOTOR PLATE WITH Z-
COMPENSATION
6 03006101-02 LEVELING PLATE
7 03003464-01 AIR CONNECTION X-MOTOR
8 03011730-01 CABLE HOLDER X-MOTOR
10 03016833-01 FIXING CLAMP WN 7855/B 3MM
11 00318127-01 WIRE MANAGEMENT MOUNT, FLAT
2,5
STANDARD PARTS
12 03006617-01 X-MOTOR RAIL
21 03002860-01 O-RING 6X1,5 V70
23 03006768-01 Y-DRIVE CPL. (PRIMARY) SPARE PART
24 03006451-02 Y-MOTOR HOUSING
25 03006767-03 LINEAR-MOTOR Y-AXIS
26 03006558-01 PROXIMITY SWITCH MOUNT Y-AXIS
BASIC PART
27 03003046-01 PROXIMITY SWITCH MOUNT Y-AXIS
CLAMPING PIECE
28 03002998-01 INSULATION FOR SCREW-ON PART
29 03003508-02 AIR DISTRIBUTOR Y-AXIS
30 03003529-01 TUBE 8X0.3X20
35 03006755-01 STOP RIGHT Y-LINEAR MOTOR
37 03006757-01 STOP LEFT Y-LINEAR MOTOR
39 00318127-01 WIRE MANAGEMENT MOUNT, FLAT
2,5
STANDARD PARTS
41 03000689S02 FUEHRUNGSSCHIENE X-ACHSE
GR.15 (2PCS)
*
42 03020300-01 GUIDE TROLLEY BOSCH-REXROTH
SIZE 15 LLD
43 03020301-01 GUIDE TROLLEY BOSCH-REXROTH
SIZE 15 LG LLD
44 03003089-02 BUFFER MOUNT TOP
45 03003097-03 BUFFER MOUNT BOTTOM

Gantry system
Page 10 / 11 24.11.2021
Pos. Item no. Description Part marking
46 00200525-01 ELASTOMER SPRING D20X8,5 90
SHORE A
SPARE PART
47 03006472S07 READ HEAD BASE UNIT X-AXIS SPARE PART
48 03003517-03 X-HOLDER CPL. SPARE PART
49 03008697-01 X-MOUNT RIGHT / LEFT WELDED
50 03003503-02 X-MOUNT TOP
51 03003670-04 X-CABLE SUPPORT
52 03005538-01 BOW HF COMPL.
53 03005414-01 COOLING AIR FILTER STANDING
COMPL.
54 03003717-01 FILTER ELEMENT WEAR PART
55 03006521-01 O-RING 35X1,5 NBR 75 SHORE
56 03006581-01 HOOD FIXING COMPL.
57 00350647-01 DISTANCE BOLT M3*14 I/I 6KT5,5
MS
58 00352450-01 DISTANCE BOLT M3*16 I/I 6KT5.5
ST
59 03004106-02 LIMIT PROX. SWITCH 1 Y-AXIS
SIPLACE HF
SPARE PART
60 00304908S01 PROXIMITY SWITCH 4MM WITH LED SPARE PART
61 03004107-02 LIMIT PROX. SWITCH 2 Y-AXIS
SIPLACE HF
SPARE PART
62 00304908S01 PROXIMITY SWITCH 4MM WITH LED SPARE PART
63 03000699-02 PROXIMITY SWITCH MOUNT X-AXIS
64 03004108-02 REFERENCE POINT BERO X-AXIS
SIPLACE HF
SPARE PART
65 00304908S01 PROXIMITY SWITCH 4MM WITH LED SPARE PART
66 03004109-02 LIMIT PROX. SWITCH X-AXIS
SIPLACE HF
SPARE PART
67 00304908S01 PROXIMITY SWITCH 4MM WITH LED SPARE PART
68 03006405-01 DISTRIBUTOR APPLICATION HEAD
COMPL.
SPARE PART
69 03003745S02 SCALE X-AXIS SIPLACE HF *
70 03009359-01 HEXAGON SOCKET HEAD CAP
SCREW M4 X 30-8.8
71 00845024-01 HEXAGON SOCKET HEAD CAP
SCREW M4 X 8-8.8
72 00313857-01 HEXAGON SOCKET HEAD CAP
SCREW M5 X 8-8.8