M2series_ServiceManual_e.pdf - 第14页

1 Installation 1-6 Installing the Machine Do not touch terminals of electric com ponents when the power is on to prevent electric shock and m achine damage. Make sure to ground the machi ne to prevent electric shock. Not…

100%1 / 92
1 Installation
1-5
Production Line
To align your assembly line, first install the heaviest unit. Then install peripheral units using the first unit as
a reference.
Reference
Loader     Mounter     Reflow Oven   Conveyor Unloader
To transfer the PCB (printed circuit board) smoothly, clearance between units are quite important. Be sure
that the clearance between units is approximately 5 mm as below figure shows. Adjust the height of the
downstream unit a little lower (0-0.5 mm) so that the PCB is transferred smoothly.
0 - 0.5mm
Approx. 5mm
DownstreamUpstream
1 Installation
1-6
Installing the Machine
Do not touch terminals of electric components when the power is on to prevent electric shock and machine
damage.
Make sure to ground the machine to prevent electric shock.
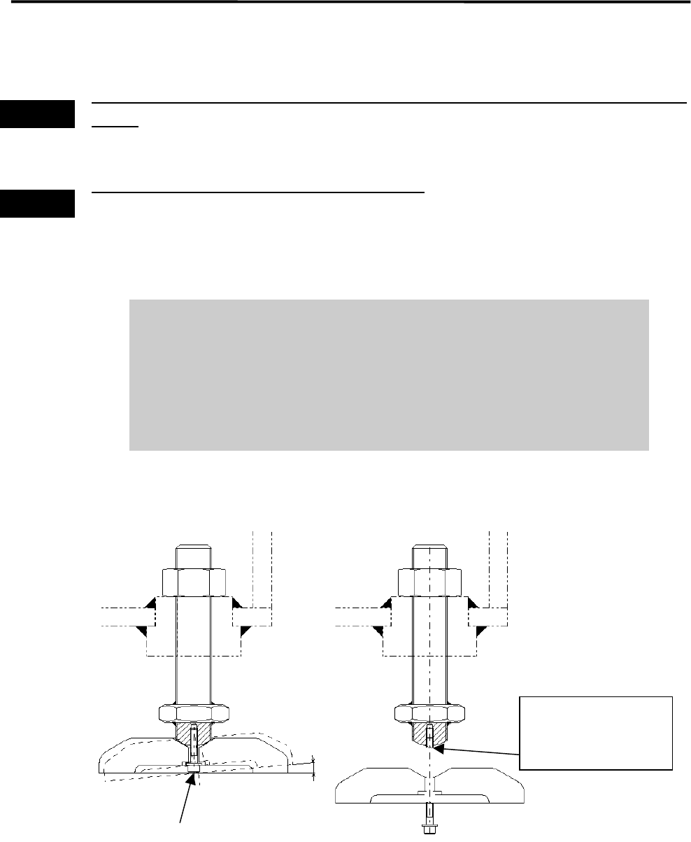
Note on Installation
It is normal that the adjust foot can be slightly inclined (within 2-degree range).
Do not tighten the bolt forcedly trying to fix the foot.
When you move and/or install the mounter, be careful not to apply excessive
force on the adjust foot. This may cause the screw of the adjust foot to break.
When placing the mounter on the floor, be sure that the mounter is kept
horizontal.
Warning
Warning
2°
If excessive force is
applied, the screw may
break at this point.
Mounting Screw
1 Installation
1-7
ACTION:
Locate the machine to the specified place.
Turn the adjust feet so that the PCB transfer height is the same as the conveyor height (900±20mm
(see Note)) of the reference equipment. In the case of SMEMA interface spec, the height must be 950
±20mm.
900+/-20mm
or
950+/-20mm(SMEMA)
NOTE: The height must be 890 to 920mm in the case of CFB wagon spec.
NOTE: The adjust feet must be turned using a M30 single-head wrench (nominal: 46mm).
Place a level on the conveyor and adjust the height so that the machine is level lengthwise and
crosswise.
Level