Foreign Machine Interface - 第10页
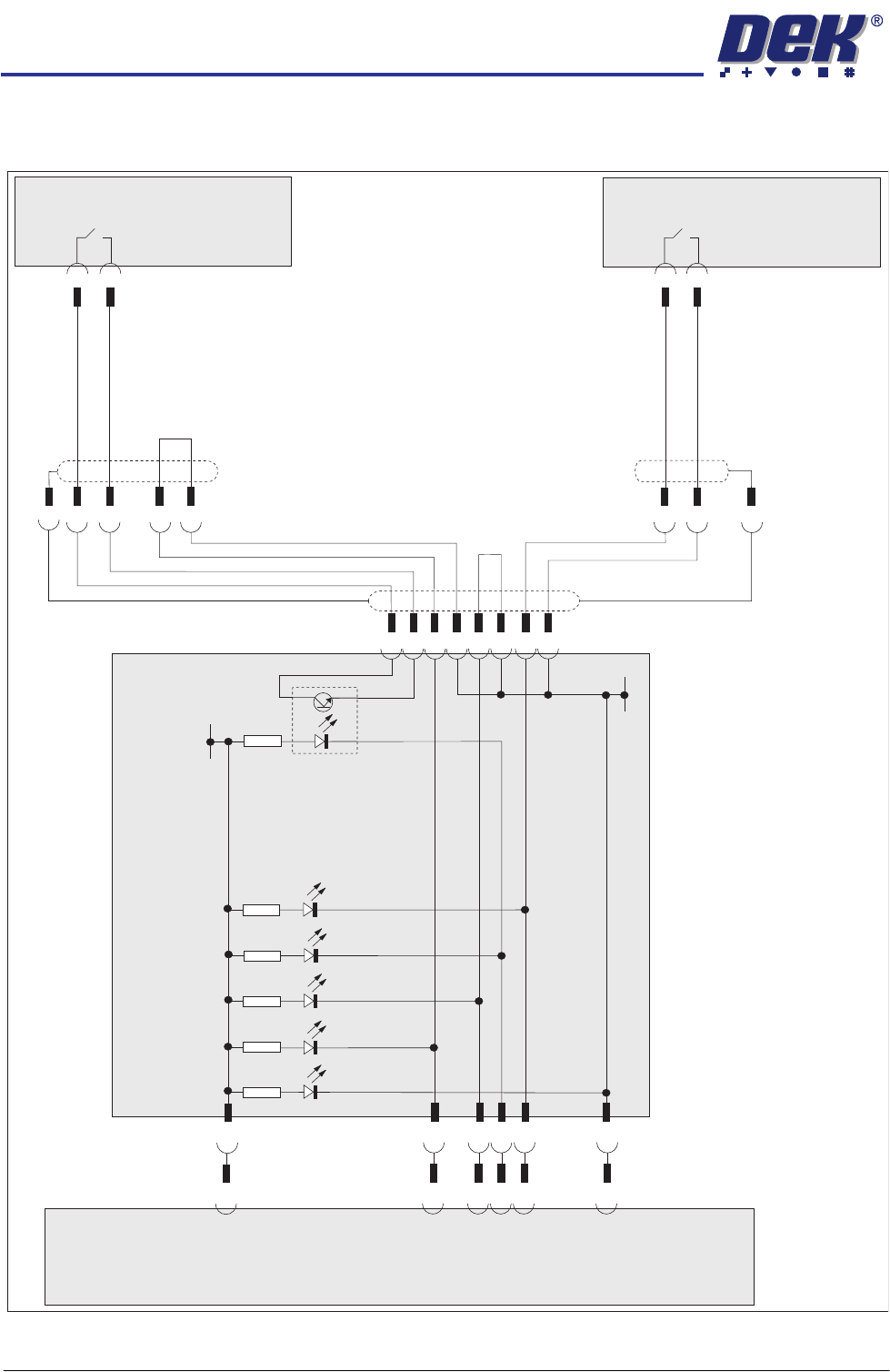
FOREIGN MACHINE INTERFACE FMI POD 28.10 Technical Reference Manu al Chapter Issue 3 Jan 08 Fuji Interface Fuji Schematic 1 2 Fuji Downline 1 2 14 Shield Shield Fuji Upline Board Request (H) Board Request (H) Board Reques…

FOREIGN MACHINE INTERFACE
FMI POD
Chapter Issue 3 Jan 08 Technical Reference Manual 28.9
SMEMA Downline Extension Cable
View on Arrow A
View on Arrow B
1
3
4
8
2
1
3
4
8
2
Pin 1 - Downline M/C Ready
Pin 2 - Downline M/C Ready 0V Return
Pin 3 - Board Available
Pin 4 - Board Available 0V Return
Pin 14 - Shield
Pin 1 - Downline M/C Ready
Pin 2 - Downline M/C Ready 0V Return
Pin 3 - Board Available
Pin 4 - Board Available 0V Return
Pin 14 - Shield
BA
Down Plug
PL B
SMEMA Downline Plug
AMP 206044-1
SMEMA Downline Plug
AMP 206044-1

FOREIGN MACHINE INTERFACE
FMI POD
28.10 Technical Reference Manual Chapter Issue 3 Jan 08
Fuji Interface
Fuji Schematic
1
2
Fuji
Downline
1
2
14
Shield
Shield
Fuji
Upline
Board Request (H)
Board Request (H)
Board Request (L)
Link
Board Request (L)
22
18
05
09
07
15
FMI Pod
R10
1K
ICI-C
D2
R2
4K7
D3
R3
4K7
D4
R4
4K7
D1
R1
4K7
D5
R5
4K7
+12V
01
02
03
04
10
11
16
17
01
01
02
02
14
03
04
0V
0V Link
M36SK04
Machine
Controller
Enclosure
22
18
05
15
09
07
M28PL01
M28SK02
SK A
SK B

FOREIGN MACHINE INTERFACE
FMI POD
Chapter Issue 3 Jan 08 Technical Reference Manual 28.11
Fuji Logical Timing Diagram
NOTES
The Board Request signal is checked when a board becomes available at the previous stage. If the Board Request
signal is not present, a board is not transferred.
signal from the next stage indicates that the board has arrived
at the next stage.
The Board Request signal is output continuously to the previous
stage until the board arrives. No Board Request
- Board Trailing Edge at Sensor
- Board Leading Edge at Sensor
A
B
DEK M/C Output Sensor
Downline M/C
(I/P to DEK M/C)
Board Request
Fuji Downline Logical Timing Diagram
DEK M/C Belts Running
A
B
DEK M/C Input Sensor
DEK M/C
(O/P from DEK M/C)
Board Request
DEK M/C Board At Stop Sensor
DEK M/C Ready
Start Belts
Board At Stop
Transfer Complete
< Transfer Period
< Transfer Period
Belt Overrun
Fuji Upline Logical Timing Diagram
DEK M/C Belts Running
A
B