CM402-MechanicalParts - 第159页
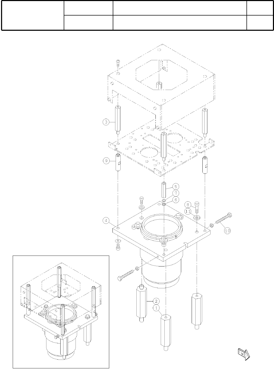
Ref No. Remarks R 1 Q't y 㪈㪈 䊤 䉟䊮䉦䊜 䊤 Line Camera 䍐䍵䍛䍢 㪥㫆㪅 Part No. ຠ䇭䇭ฬ ຠ⇟ ᢙ㊂ R 2 䊌䊷䉿䊥䉴䊃 Kit No . 䉨䉾䊃ຠ ⇟ Kit Name 䉨䉾䊃ฬ⒓ KXFX036BA00 Part N ame 䇭䇭䇭⠨ 䍜䍖䍚䍌䍻㪥㫆㪅 PARTS LIST Section No. R 3 POST 2 1 KXFB02NHA00 POST 1 2…

㪈㪈
䊤
䉟䊮䉦䊜
䊤
Line Camera
䊌䊷䉿䊧䉟䉝䉡䊃
Kit No.
䉨䉾䊃ຠ
⇟
Kit Name
䉨䉾䊃ฬ⒓
KXFX036BA00
䍜䍖䍚䍌䍻㪥㫆㪅
PARTS LAYOUT
Section No.
M135
--:(:$#

Ref
No.
Remarks
R
1
Q't
y
㪈㪈
䊤
䉟䊮䉦䊜
䊤
Line Camera
䍐䍵䍛䍢
㪥㫆㪅
Part No.
ຠ䇭䇭ฬຠ⇟ ᢙ㊂
R
2
䊌䊷䉿䊥䉴䊃
Kit No.
䉨䉾䊃ຠ
⇟
Kit Name
䉨䉾䊃ฬ⒓
KXFX036BA00
Part Name
䇭䇭䇭⠨
䍜䍖䍚䍌䍻㪥㫆㪅
PARTS LIST
Section No.
R
3
POST
2
1 KXFB02NHA00
POST
1
2 KXFB02NJA01
POST
4
3 KXFB022ZA00
LENS
1
4 KXF0DVFAB01 KOM-F4IR(DA KXF0DVFAB01)
SPACER
2
5 N510008558AA ASF-535E
WASHER
2
6 KXF0BCCAA00 MSRB5.5-1.0
WASHER
2
7 KXF0CJ9AA00 MSRB5.5-0.5
BOLT
2
8 KXFB04K8A00
POST
2
9 KXFB04LDA00
BOLT
2
10 N510018857AA
Hexagon head bolt Best class M4X30-6g 4T A2J (Trivalent) Full thread
WASHER
2
11 KXF0DY0GA00 WSSB13-6-3
M136
--:(:$#

㪈㪉㪄㪘
৻
឵
บ
ゞ
ኻᔕ䊡䊆䉾䊃
Feeder Cart Support Unit
䊌䊷䉿䊧䉟䉝䉡䊃
Kit No.
䉨䉾䊃ຠ
⇟
Kit Name
䉨䉾䊃ฬ⒓
KXFX036DA00
䍜䍖䍚䍌䍻㪥㫆㪅
PARTS LAYOUT
Section No.
M137
--:(:&#