CM402-MechanicalParts - 第404页
㪋㪇 ၮ ᧼ ਅ ฃ 䊑䊨䉾 䉪 㩿 㪛㫌㪸㫃㪀 Board Support Block for Dual Conveyor 䊌䊷 䉿䊧 䉟 䉝 䉡䊃 Ki t N o . 䉨䉾䊃 ຠ⇟ Kit Name 䉨䉾䊃ฬ⒓ N610003688AA 䍜䍖䍚䍌䍻 㪥㫆 㪅 PARTS LAYOUT Section No. S181 -0##

Ref
No.
Remarks
R
1
Q'ty
㪊㪐㪄㪙
ၮ
᧼
䉴䊃䉾䊌㩿㪛㫌㪸㫃
㪀
Board Stopper(Dual)
䍐䍵䍛䍢
㪥㫆㪅
Part No.
ຠ䇭䇭ฬຠ⇟ ᢙ㊂
R
2
䊌䊷䉿䊥䉴䊃
Kit N
o
.
䉨䉾䊃ຠ
⇟
Kit Name
䉨䉾䊃ฬ⒓
N610002282AA
Part Name
䇭䇭䇭⠨
䍜䍖䍚䍌䍻㪥㫆㪅
PARTS LIST
Section No.
R
3
STOPPER
1
1 KXFB04XXA01
BLOCK
1
2 KXFB04XYA00
BRACKET
1
3 N210004615AA
BRACKET
1
4 N210009231AA
BRACKET
1
5 KXFB04Y7A00
SPEED-CONTROLLER
1
6 KXF00Z1AA00 AS1311F-M5-04
SPRING
1
7 N510002515AA BWY6-35
BOLT
4
8 KXF0DY7VA00 NACB4-10
CYLINDER
1
9 KXF0DY8SA00 CJ2B16-DCG0805G-20(DDA)
PIN
1
10 KXF0DM5AA00 STEHN5.5A
PIN
1
11 N610002284AA
PIN
1
12 N610002286AA
SENSOR(150mm 220mm)
1
13 N610002290AA
SENSOR(300mm)
1
14 N610002291AA
RING
1
15 KXF08ZYAA00 R2.5X0.5
S180
-0##

㪋㪇
ၮ
᧼
ਅ
ฃ
䊑䊨䉾䉪
㩿
㪛㫌㪸㫃㪀
Board Support Block for Dual Conveyor
䊌䊷䉿䊧䉟䉝䉡䊃
Ki
t
N
o
.
䉨䉾䊃
ຠ⇟
Kit Name
䉨䉾䊃ฬ⒓
N610003688AA
䍜䍖䍚䍌䍻
㪥㫆
㪅
PARTS LAYOUT
Section No.
S181
-0##

Ref
No.
Remarks
R
1
Q'ty
㪋㪇
ၮ
᧼
ਅ
ฃ
䊑䊨䉾䉪
㩿
㪛㫌㪸㫃㪀
Board Support Block for Dual Conveyor
䍐䍵䍛䍢
㪥㫆㪅
Part No.
ຠ䇭䇭ฬຠ⇟ ᢙ㊂
R
2
䊌䊷䉿䊥䉴䊃
Kit N
o
.
䉨䉾䊃ຠ
⇟
Kit Name
䉨䉾䊃ฬ⒓
N610003688AA
Part Name
䇭䇭䇭⠨
䍜䍖䍚䍌䍻㪥㫆㪅
PARTS LIST
Section No.
R
3
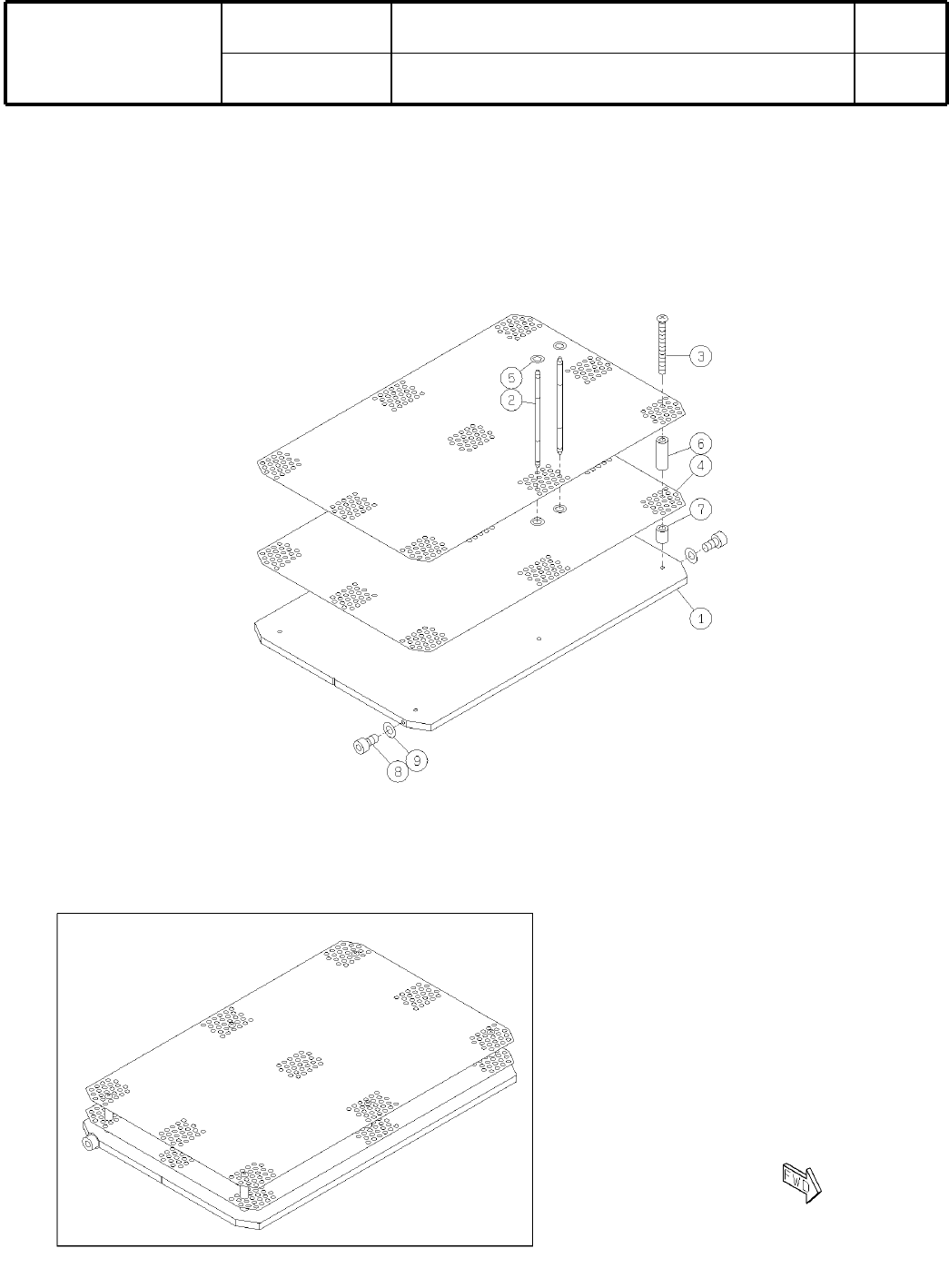
PLATE
1
1 N210004322AA
PIN
20
2 KXFB00VCA01
SCREW
6
3 KXFB00UPA00
PLATE
2
4 KXFB04Z7A00
O-RING
40
5 KXF0DHMAA00 ID2XW0.5 gray NBR60deg
SPACER
6
6 N510017088AA CB-2614E
SPACER
6
7 N510017087AA CB-2606E
BOLT
2
8 XVE26B5FTC
Hexagon socket head cap screw M2.6X5-12.9 SOB
WASHER
2
9 N510018476AA
Small round-plain washer 2.6 10H A2J (Trivalent)
S182
-0##