5OM-1839-001w_F8S - 第68页
1-1-10 5OM-1839 1603-001 エア配管図及び実装図 位置決めカッターユニット ( 実装図 ) 8 9 9 7 10 7 No. 名 称 個数 No. 名 称 個数 No. 名 称 個数 No. 名 称 個数 7 ソレノイドバルブ 2 8 ソレノイドバルブ 1 9 シリンダ 2 10 シリンダ 1

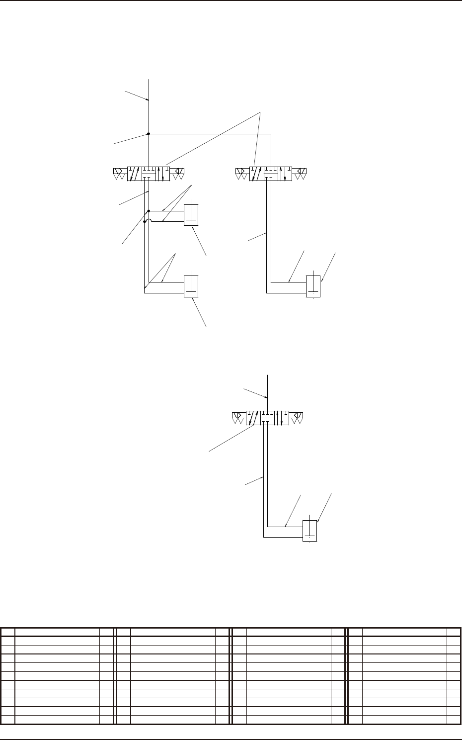
1-1-9
5OM-1839
1603-001
エア配管図及び実装図
位置決めカッターユニット ( エア配管図 )
下架台配管
装置正面右側
配管φ8
A
B
位置決め上下配管
左側シリンダ
右側シリンダ
カッター刃スライド配管
カッター刃スライド配管
x2
400mm
300mmx2
B
A
A
B
x2
2000mm
2400mm
2850mm(黄)
2400mm(黄)
下架台配管
EA
EB
P
750mmx2
2850mm
装置正面左側
A
EA
B
EB
P
配管φ8
A
B
A
B
EA
EB
P
カッターユニット(左側)シリンダ
カッターユニット(右側)シリンダ
A
B
位置決め
位置決め
カッターユニット配管図
カッターユニット配管図
位置決め配管図
x2
KQ2U06-00A
KQ2U08-00A
1
3
1
1
2
2
5
4
3
9
9
10
10
1
7
8
1
No. 名 称 個数 No. 名 称 個数 No. 名 称 個数 No. 名 称 個数
1 チューブφ 6 1
2 チューブφ 8 1
3 チューブφ 6(Y) 1
4 ユニオンワイ 2
5 ユニオンワイ 1
7 ソレノイドバルブ 2
8 ソレノイドバルブ 1
9 シリンダ 2
10 シリンダ 2

1-1-10
5OM-1839
1603-001
エア配管図及び実装図
位置決めカッターユニット ( 実装図 )
8
9
9
7
10
7
No. 名 称 個数 No. 名 称 個数 No. 名 称 個数 No. 名 称 個数
7 ソレノイドバルブ 2
8 ソレノイドバルブ 1
9 シリンダ 2
10 シリンダ 1

1-1-11
5OM-1839
1603-001
エア配管図及び実装図
ノズルストッカ ( エア配管図 )
(03) (03)
(02)
(04)
(03)
(02) (01)
シャッタ3開閉
ストッカ3上下
(01)
(02) (01)
3
4A
5
2B
1
シャッタ1開閉
ストッカ1上下
シャッタ2開閉
ストッカ2上下
3
4A
5
2B
1
ノズルストッカユニット(2-1,2-2エリア用)
ノズルストッカユニット
(1-1,1-2エリア用)
ノズルストッカユニット
(1-1,1-2エリア用)
標準ストッカ
中異形ストッカ(オプション)
3
4A
5
2B
1 3
4A
5
2B
1
架台内全体より
φ8
400mm
φ8
φ8
950mm
3
3
3
2
9
9
1
1
(03)
(02)
(03)
(02) (01)
(01)
3
2B
1
4A
5
(04)
ストッカ2上下
シャッタ2開閉
シャッタ1開閉
ストッカ1上下
架台内全体より
φ8
400mm
φ8
φ8
950mm
ノズルストッカユニット(2-1,2-2エリア用)
3
2B
1
4A
5
3
2B
1
4A
5
3
3
2
1
1
No. 名 称 個数 No. 名 称 個数 No. 名 称 個数 No. 名 称 個数
1 チューブφ 8 1
2 チューブφ 6 1
3 チューブφ 4 1
9 ユニオンワイ 1