Nozzle changer C P20_20211123_071245
Nozzle changer C+P20 Page 1 / 6 23.11.2021

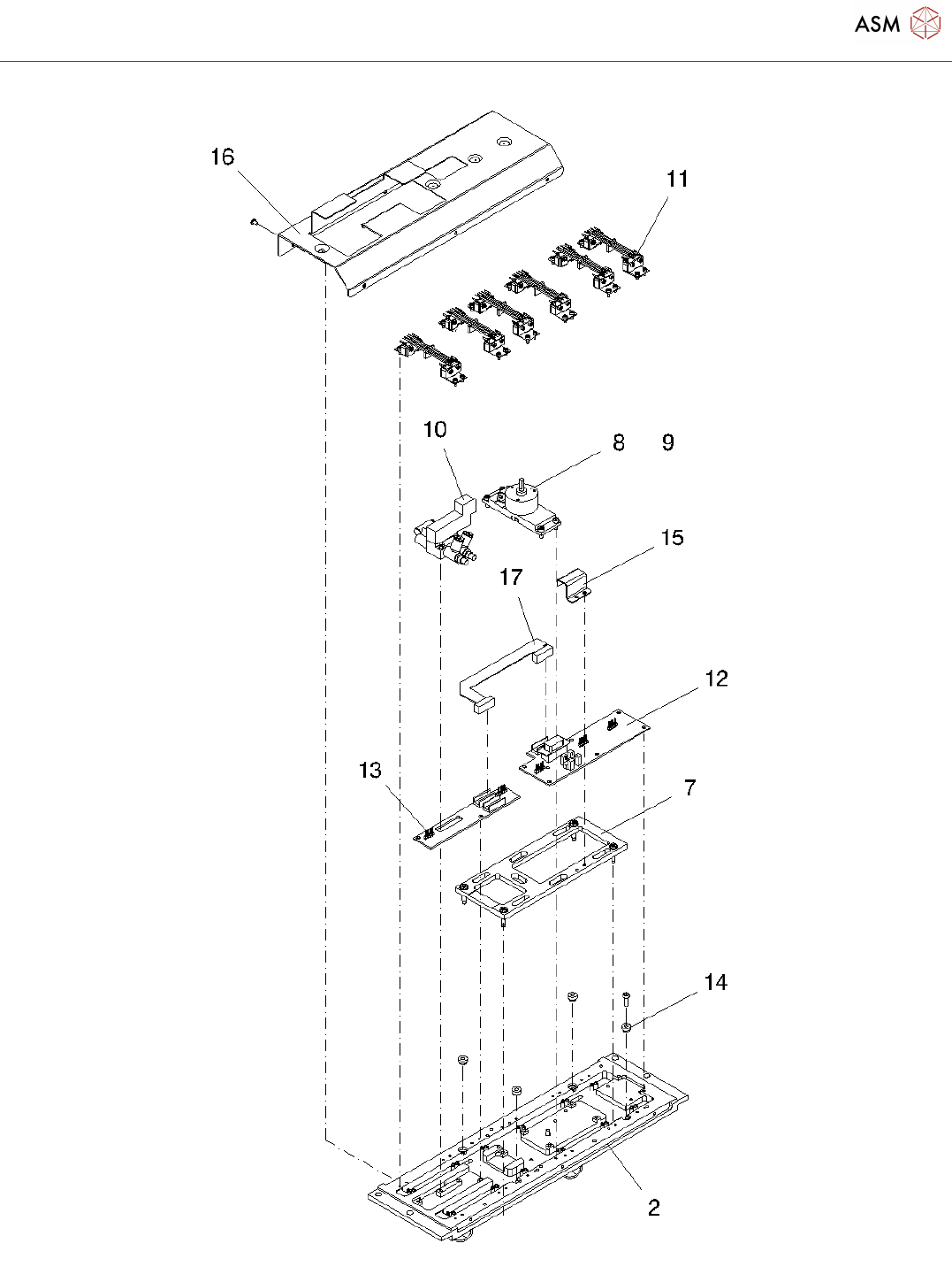
Nozzle changer C+P20
Page 1 / 6 23.11.2021

Nozzle changer C+P20
Page 2 / 6 23.11.2021

Nozzle changer C+P20
Page 3 / 6 23.11.2021
Nozzle changer C+P20 Page 1 / 6 23.11.2021


