NPM-W2 20170529 - 第713页
Ref No. Remarks R 1 Q'ty 158-D 下受けピン自動交換ユニット:NPM-W Support Pin Automatic Change Unit:NPM -W イラスト No. Part No. 品 名 品 番 数量 R 2 パーツリスト Kit No. キット品番 Kit Name キット名称 N610145977AA Part Nam e 備 考 セク ショ ンNo . PARTS LIST Sec…

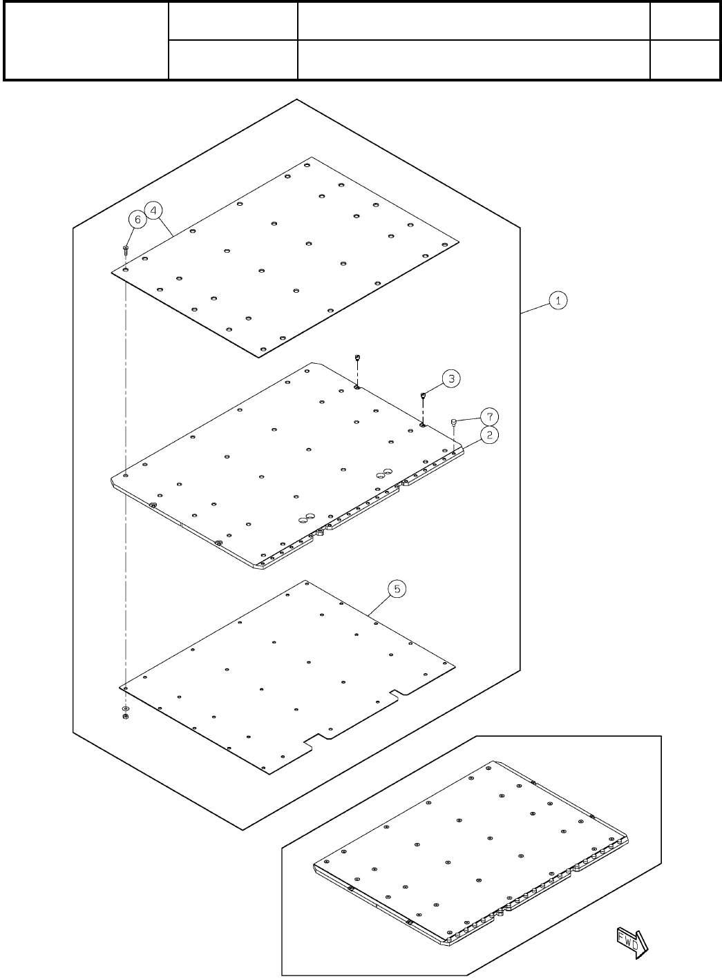
158-D
下受けピン自動交換ユニット:NPM-W
Support Pin Automatic Change Unit:NPM-W
パーツレイアウト
Kit No.
キット品番
Kit Name
キット名称
N610145977AA
セクションNo.
PARTS LAYOUT
Section No.
--
O507
( KN610145977AA-04A-4 )

Ref
No.
Remarks R
1
Q'ty
158-D
下受けピン自動交換ユニット:NPM-W
Support Pin Automatic Change Unit:NPM-W
イラスト
No.
Part No.
品 名品 番 数量
R
2
パーツリスト
Kit No.
キット品番
Kit Name
キット名称
N610145977AA
Part Name
備 考
セクションNo.
PARTS LIST
Section No.
R
3
Support Pin Nozzle Changer
1
1 N610142677AB
HOLDER
2
2 N210166791AF
BLOCK
2
3 MTPA014500AA
PLATE
2
4 N210166793AA
PLATE
2
5 N210166794AB
BOLT
8
6 N510056643AA SPECIAL LOW HEAD CAP M3X6L(SCM435.Fe3O4)
COVER
2
7 MTPB007952AA
BLOCK
2
8 MTPA014620AA
O508
--
( KN610145977AA-04A-4 )

158-E
下受けピン自動交換ユニット:NPM-W
Support Pin Automatic Change Unit:NPM-W
パーツレイアウト
Kit No.
キット品番
Kit Name
キット名称
N610145977AA
セクションNo.
PARTS LAYOUT
Section No.
--
O509
( KN610145977AA-04A-5 )