NPM-W2 20170529.pdf - 第719页
Ref No. Remarks R 1 Q'ty 158-G 下受けピン自動交換ユニット:NPM-W Support Pin Automatic Change Unit:NPM -W イラスト No. Part No. 品 名 品 番 数量 R 2 パーツリスト Kit No. キット品番 Kit Name キット名称 N610145977AA Part Nam e 備 考 セク ショ ンNo . PARTS LIST Sec…

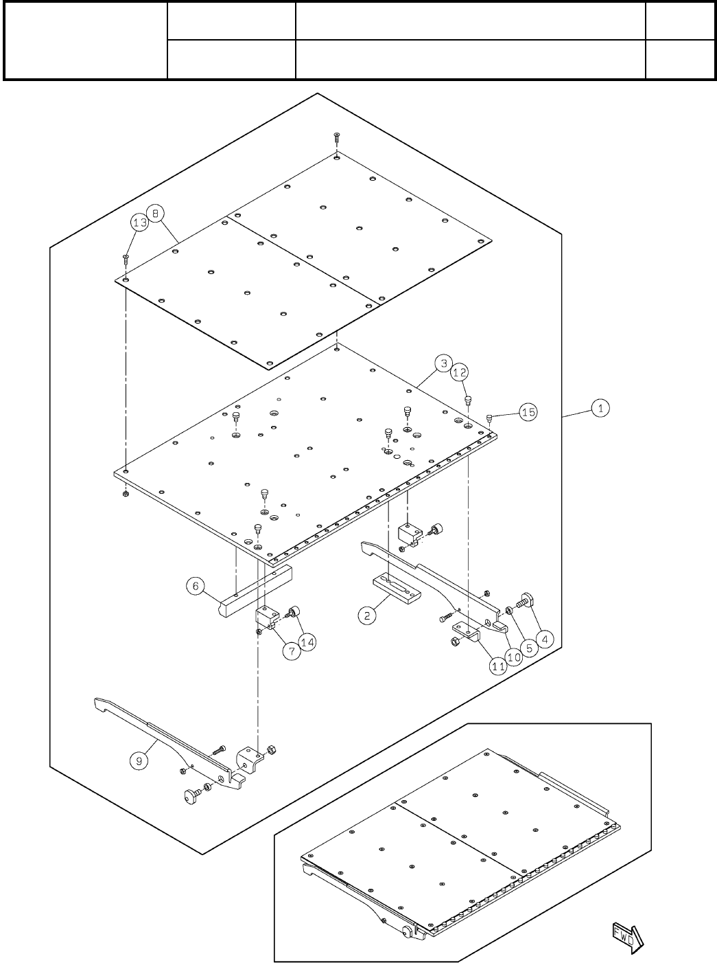
158-G
下受けピン自動交換ユニット:NPM-W
Support Pin Automatic Change Unit:NPM-W
パーツレイアウト
Kit No.
キット品番
Kit Name
キット名称
N610145977AA
セクションNo.
PARTS LAYOUT
Section No.
--
O513
( KN610145977AA-04A-7 )

Ref
No.
Remarks R
1
Q'ty
158-G
下受けピン自動交換ユニット:NPM-W
Support Pin Automatic Change Unit:NPM-W
イラスト
No.
Part No.
品 名品 番 数量
R
2
パーツリスト
Kit No.
キット品番
Kit Name
キット名称
N610145977AA
Part Name
備 考
セクションNo.
PARTS LIST
Section No.
R
3
Board Support Block
2
1 N610145010AB
BLOCK
1
2 N210165840AA
PLATE
1
3 N210170101AB
PIN
2
4 N210161075AA
COLLAR
2
5 N210156596AA
BRACKET
1
6 N210170229AB
BRACKET
2
7 N210161077AA
PLATE
2
8 N610152323AA
LEVER
1
9 N210161078AB
LEVER
1
10 N210161079AB
BRACKET
2
11 N210156599AA
BOLT
12
12 N510035101AA LH0406 Trivalent Chromate
BOLT
30
13 N510017610AA
Hexagon socket Flat head bolt M3X10-10.9 A2J (Trivalent)
CAM-FOLLOWER
2
14 KXF00BFAA00 CF3UU-A
BOLT
22
15 XVE3B4VW Hexagon socket head cap screw M3X4-A2-70
O514
--
( KN610145977AA-04A-7 )

158-H
下受けピン自動交換ユニット:NPM-W
Support Pin Automatic Change Unit:NPM-W
パーツレイアウト
Kit No.
キット品番
Kit Name
キット名称
N610145977AA
セクションNo.
PARTS LAYOUT
Section No.
--
O515
( KN610145977AA-04A-8 )