CM101-D Mechnical Parts201705 - 第159页
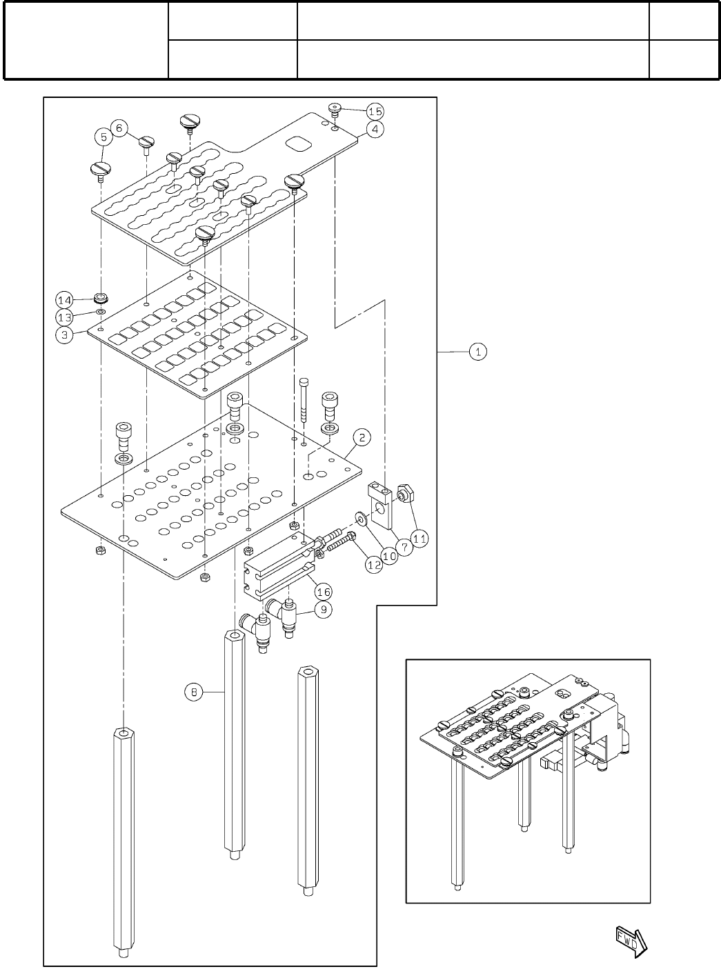
Ref No. Remark s R 1 Q'ty 8-A ノズルチ ェンジャ(12ノズ ルヘッド ):CM602-L Nozzle Changer (12 N oz zle H ead):CM 602-L イラスト No. Part No. 品 名 品番 数量 R 2 パーツリスト Kit N o . キット 品 番 Kit Name キット名称 N610031959AC Part Nam e 備 考 セクションN o. P…

8-A
ノズルチェンジャ(12ノズルヘッド):CM602-L
Nozzle Changer (12 Nozzle Head):CM602-L
パーツレイアウト
Kit No.
キット品
番
Kit Name
キット名称
N610031959AC
セクションNo.
PARTS LAYOUT
Section No.
--
S45
( KN610031959AC-05-1 )

Ref
No.
Remarks
R
1
Q'ty
8-A
ノズルチェンジャ(12ノズルヘッド):CM602-L
Nozzle Changer (12 Nozzle Head):CM602-L
イラスト
No.
Part No.
品 名品番 数量
R
2
パーツリスト
Kit N
o
.
キット品
番
Kit Name
キット名称
N610031959AC
Part Name
備 考
セクションNo.
PARTS LIST
Section No.
R
3
Nozzle Changer
1
1 N610028560AF
BASE
1
2 N210049499AD
HOLDER
1
3 N210049500AC
SHUTTER
1
4 N210068487AA
PIN
4
5 N210049502AB
PIN
5
6 N210049503AB
BRACKET
1
7 N210049504AA
POST
3
8 N510014218AA LSBWRKT12-171.5
SPEED-CONTROLLER
2
9 KXF00YMAA00 AS1201F-M5-04
WASHER
1
10 N510029688AA 87FWSSB-D10.0-V4.0-T1.0
JOINT
1
11 N210158462AA
BOLT
1
12 KXF0E1MCA00 SUST3-20
SHIM
4
13 N510029758AA RS003006010
BEARING
4
14 N510011382AA DDLF-850ZZ H P0P25LY121
BOLT
2
15 N510067807AA
Ultra Low Head Cap Screw M4X6-8.8 A2J(Trivalent)
CYLINDER
1
16 N610029483AB
S46
--
( KN610031959AC-05-1 )

8-B
ノズルチェンジャ(12ノズルヘッド):CM602-L
Nozzle Changer (12 Nozzle Head):CM602-L
パーツレイアウト
Kit No.
キット品
番
Kit Name
キット名称
N610031959AC
セクションNo.
PARTS LAYOUT
Section No.
--
S47
( KN610031959AC-05-2 )