BM133 - 第70页
カート部(1 ) CART SE CT.(1) 12 FN610063867AA _06-1 E49

PART No.
イラスト
No.
REF
No.
PART NAME
REMARKS
Q'TY
11
メインコントローラ(自動幅寄せ対応)
MAIN CONTROLLER(SPECIFICATION FOR AUTO WIDTH CONTROL)
部 品 名 品 番 個数
備 考
R
1
R
2
1 3086206110AA
AUTO WIDTH CONTROL UNIT ジト
゙ウハバヨセユニット
FS8000-CC4 S
1
A001
N1F8CC4
BOARD キバン
E48
F30862-06-110-AA_A

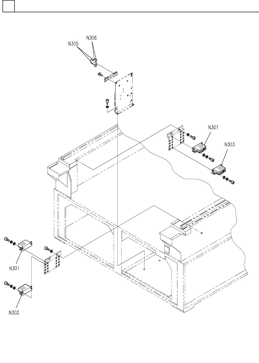
カート部(1)
CART SECT.(1)
12
FN610063867AA_06-1
E49

PART No.
イラスト
No.
REF
No.
PART NAME
REMARKS
Q'TY
12
カート部(1)
CART SECT.(1)
部 品 名 品 番 個数
備 考
R
1
R
2
1 N610063867AA
CART UNIT カートユニット
P610-I8N-C S
2
N301
N610080720AA
OPTICAL UNIT ヒカリモジュール
P610-O8N-C S
1
N302
N610080721AA
OPTICAL UNIT ヒカリモジュール
P610-O16B S
1
N303
N610077295AA
OPTICAL UNIT ヒカリモシ
゙ュール
G7SA-2A2B S
4
N305
K6B4EHA00001
RELAY リレー
P7SA-10F
4
N306
N210P7SA10F
SOCKET ソケット
E50
FN610063867AA_06-1