LmrNXT3 - 第172页
4. 基本操作 MEC-NXT3-004S0 148 NXT III 机械手册 4.8.4 安装方法 1. 将料盘单元 -LTC 配置在模组前面。 2. 将料盘单元 -LTC 的滚轮与料站基座的沟槽对齐, 旋转手柄进行调整。 3. 慢慢地将料盘单元 -LTC 压入模组内。请确实压入到最里面。料盘单元 -LTC 自动地锁定 在模组上。 警告 在将料盘单元 -LTC 压入机器时,请确认料盘单元 -LTC 和基座之间是否有 别的操作者。存在在…

MEC-NXT3-004S0 4. 基本操作
NXT III 机械手册 147
4.8.3 拆除方法
1. 停止模组的运转,使其处于 START 等待状态。
2. 触摸操作电路板画面的 「手动」按键,使其显示出手动模式画面。
3. 请触摸 「更换单元指令」。
4. 请触摸 「更换料站指令」。
5. 请触摸显示在画面上的 「拉出料站向导」按键。松开料盘单元 -LT。
6. 松开脚轮的锁定,慢慢地将料盘单元 -LTC 从模组中拉出。
7. 小心地移出料盘单元 -LTC 后将脚轮锁定。
01MEC-1597
JobNameLane2_T_00
JobNameLane1_T_00
JobNameLane2_T_00
JobNameLane1_T_00
__
meLane2_T_00
ameLane1_T_00
01MEC-1563
01MEC-0507

4. 基本操作 MEC-NXT3-004S0
148 NXT III 机械手册
4.8.4 安装方法
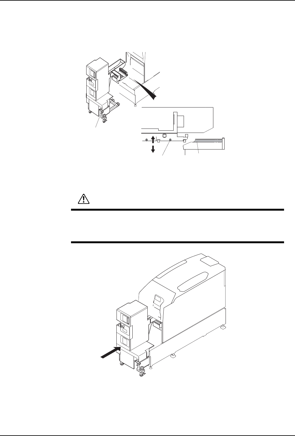
1. 将料盘单元 -LTC 配置在模组前面。
2. 将料盘单元 -LTC 的滚轮与料站基座的沟槽对齐,旋转手柄进行调整。
3. 慢慢地将料盘单元 -LTC 压入模组内。请确实压入到最里面。料盘单元 -LTC 自动地锁定
在模组上。
警告
在将料盘单元 -LTC 压入机器时,请确认料盘单元 -LTC 和基座之间是否有
别的操作者。存在在料盘单元 -LTC 和本机器之间将身体夹住而造成重伤
和压死的危险。
01MEC-0505S
᭭Ⲭऩܗⱘ䕞䕂
ᡬᓣᶘ
᭭キᑻⱘ≳ῑ
01MEC-0506

MEC-NXT3-004S0 4. 基本操作
NXT III 机械手册 149
4. 请选择手动指令的信息图标,按下 OK 按键。
5. 确认安装的料盘单元 -LTC 的单元版本,请参照版本升级报告的版本对照表确认与机器
版本的组合是否正确。组合不正确的时候请进行料盘单元 -LTC 的版本升级。
备注 )版本升级方法的详细内容,请参照 「辅助软件」的 [ 在线监视器 ]-[ 手册 ]-[10 各种
单元软件的更新 ]。
01MEC-1657
JobNameLane2_T_00
JobNameLane1_T_00