LmrNXT3 - 第215页
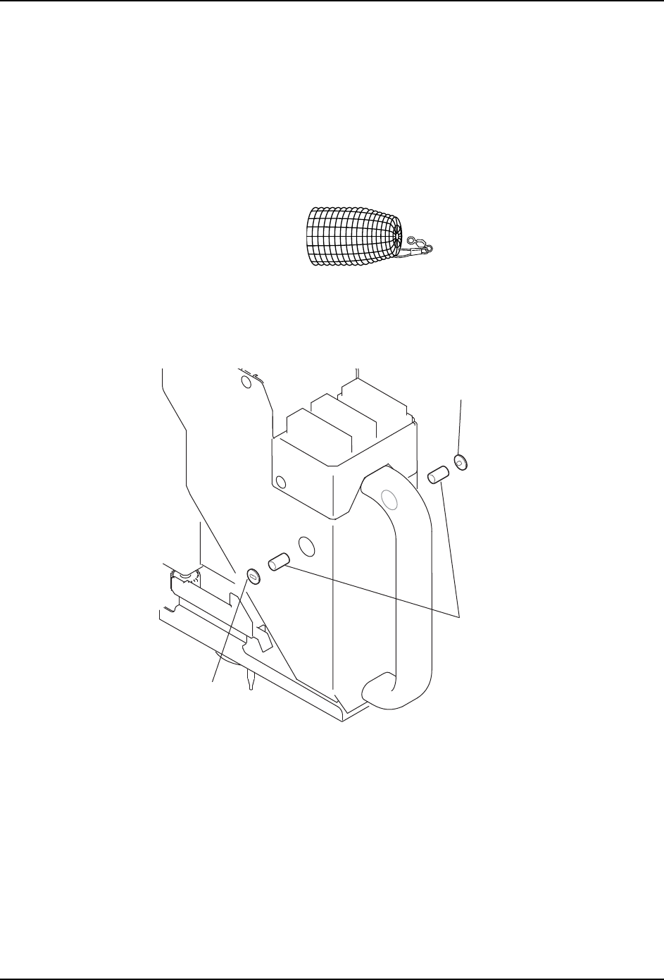
MEC-NXT3-004S0 5. 预防保养 NXT III 机械手册 191 5.6.4 贴装工作头真空过滤器的清扫 关于清洗用网笼 真空过滤器的清洗使用另售的网笼操作时比较方便 。放入清洗用网笼的过滤器个数如下所 示。 ·H04,H04S,H04SF, H08,H08Q,H08M,H08 MQ,H12HS,H12HSQ,V12 工作头用过滤器 : 最 大4 0个 。 ·H01,H02,H02F 工作头用过滤 器 : 最 大 20 个…

5. 预防保养 MEC-NXT3-004S0
190 NXT III 机械手册
5.6 每月 (700 小时 ) 的操作
5.6.1 元件传送带的清扫
1. 拆除排出不良元件的传送带。( 详细请参考 「7.3 元件排出传送带的更换」。)
2. 用干净的布干擦传送带的表面。
5.6.2 料盘单元 -LT 的传送带和往复臂皮带的清扫
1. 拆除料盘单元 -LT。(详细请参考 「4.7 料盘单元 -LT 的拆除、安装」。)
2. 用清洁的布干擦不良元件传送带和往复臂皮带的表面。
5.6.3 料盘单元 -LTC 的传送带和往复臂皮带的清扫
1. 拆除料盘单元 -LTC。(详细请参考 「4.8 料盘单元 -LTC 的拆除、安装」。)
2. 用清洁的布干擦不良元件传送带和往复臂皮带的表面。
01MEC-0442S
01MEC-0509S
ݹԬᧈ࠰Ֆ䘷ᑜ
ᖶགྷ㟸ⳤᑜ

MEC-NXT3-004S0 5. 预防保养
NXT III 机械手册 191
5.6.4 贴装工作头真空过滤器的清扫
关于清洗用网笼
真空过滤器的清洗使用另售的网笼操作时比较方便。放入清洗用网笼的过滤器个数如下所
示。
·H04,H04S,H04SF,H08,H08Q,H08M,H08MQ,H12HS,H12HSQ,V12 工作头用过滤器 : 最
大40个。
·H01,H02,H02F 工作头用过滤器 : 最大 20 个。
〈H01 工作头〉
1. 拆下贴装工作头。(详细请参考 「4.3 贴装工作头的拆除、安装」。)
2. 使用一字型螺丝刀,松开过滤器套并卸下过滤器。
3. 将过滤器盖罩浸在中性洗涤剂溶液中进行清洗。污垢严重时,请更换新的部件。
备注 )将过滤器放入用于清洗的选项网笼中 (K1325C)。请在中性洗涤剂中浸泡 5 分钟后用
超声波清洗器清洗。
NXTPHD028
NXTPHD013Sd
䗽┚ಞ
ഴਭŇ;+5HY
Ň;+5HY
䗽┚ಞྍ
䗽┚ಞྍ

5. 预防保养 MEC-NXT3-004S0
192 NXT III 机械手册
〈H02/H02F 工作头〉
1. 拆下贴装工作头。(详细请参考 「4.3 贴装工作头的拆除、安装」。)
2. 使用一字型螺丝刀,松开过滤器套并卸下过滤器。
3. 将过滤器盖罩浸在中性洗涤剂溶液中进行清洗。污垢严重时,请更换新的部件。
备注 )将过滤器放入用于清洗的选项网笼中 (K1325C)。请在中性洗涤剂中浸泡 5 分钟后用
超声波清洗器清洗。
〈H04/H04S/H04SF 工作头〉
1. 拆下贴装工作头。(详细请参考 「4.3 贴装工作头的拆除、安装」。)
2. 旋转过滤器罩环,拆下过滤器套和过滤器。
3. 将过滤器套与过滤器浸在中性洗涤剂溶液中进行清洗。污垢严重时,请更换新的部品。
备注 )将收存在过滤器套中的过滤器放入用于清洗的选项网笼中 (K1325C)。请在中性洗涤
剂中浸泡 5 分钟后用超声波清洗器清洗。
01MEC-0462Sa
੮౪ཪ$੮੮౪⭞
੮౪ཪ$੮ݹԬ⭞
䗽┚ಞ
ഴਭŇ;+
䗽┚ಞྍ
䗽┚ಞྍ
䗽┚ಞ
ഴਭŇ;+
੮౪ཪ%੮੮౪⭞
੮౪ཪ%੮ݹԬ⭞
䗽┚ಞྍ
䗽┚ಞྍ
䗽┚ಞ
ഴਭŇ;+
䗽┚ಞ
ഴਭŇ;+
1;73+'6D
䖛Ⓒ఼㔽⦃
䖛Ⓒ఼༫$$2$/
ݙ᳝䖛Ⓒ఼