LmrNXT3 - 第251页
MEC-NXT3-004S0 5. 预防保养 NXT III 机械手册 227 5.8 每 6 个月 (4000 小时 ) 的操作 5.8.1 机械阀驱动用转臂旋转轴的加油 〈H04/H04S/H04SF/H08/H08Q/H08M/H08 MQ/H12HS/H12HSQ/V12 工作头〉 备注 )对 于加油量少的加油 作业,推荐使用治具的注射筒 (S61439) 。在注射 筒上有刻度, 请作为加油量的基准。 1. 拆除贴装工作头。 (…

5. 预防保养 MEC-NXT3-004S0
226 NXT III 机械手册
模组前脚部的过滤器
a. 请拧松螺丝 (2 个 )。
b. 请一边轻轻地弯曲过滤器的框架一边取下螺丝后拉出过滤器。
3. 请吹压缩空气清扫过滤器或者在污垢严重时与新的过滤器更换。
4. 请以与拆除相反的顺序返还过滤器到原来的状态。
01MEC-1579a
1.65 Nm

MEC-NXT3-004S0 5. 预防保养
NXT III 机械手册 227
5.8 每 6 个月 (4000 小时 ) 的操作
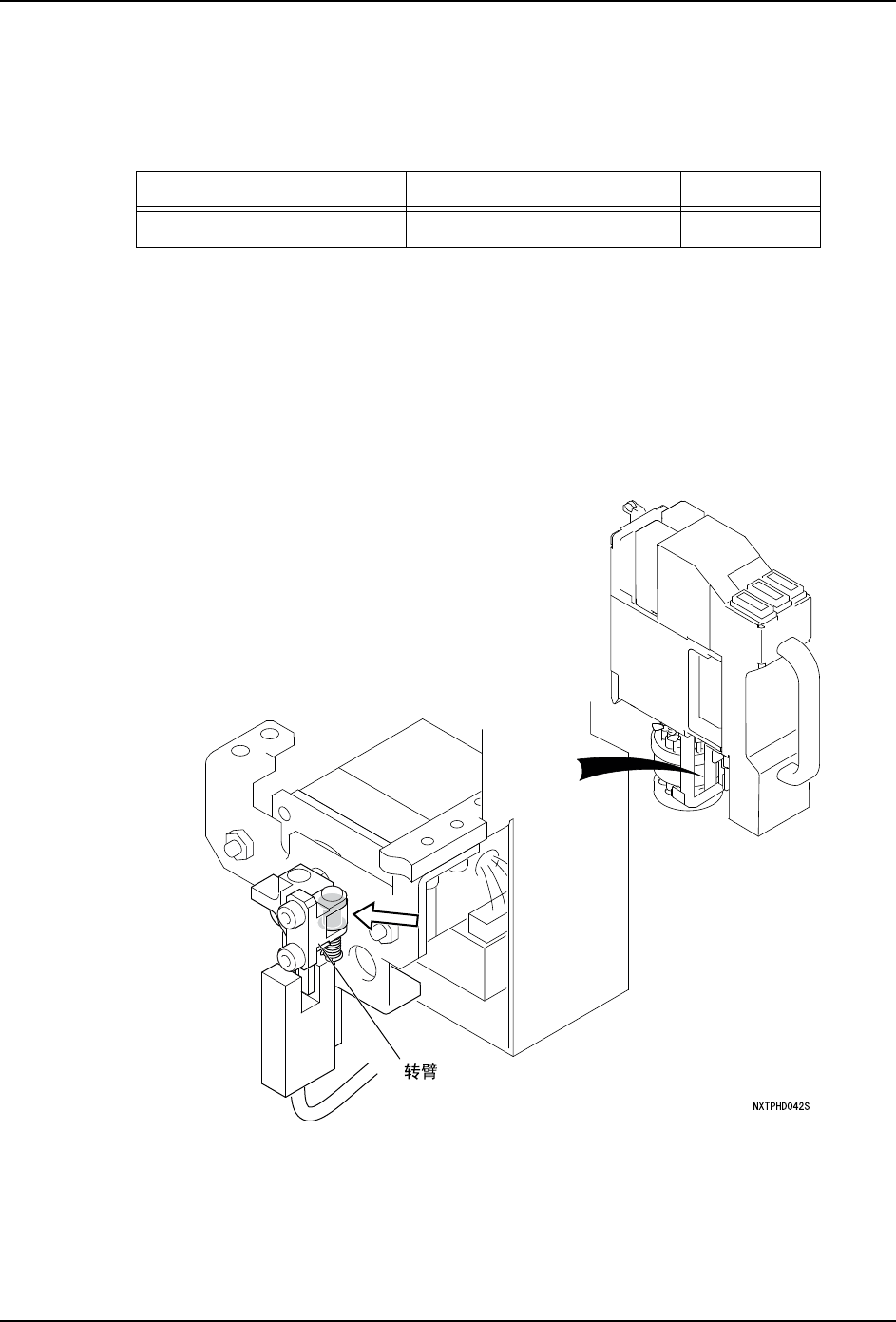
5.8.1 机械阀驱动用转臂旋转轴的加油
〈H04/H04S/H04SF/H08/H08Q/H08M/H08MQ/H12HS/H12HSQ/V12 工作头〉
备注 )对于加油量少的加油作业,推荐使用治具的注射筒 (S61439) 。在注射筒上有刻度,
请作为加油量的基准。
1. 拆除贴装工作头。(详细请参考 「4.3 贴装工作头的拆除、安装」)
2. 使用绵棒,擦去转臂旋转轴的污垢。
3. 请使用棉棒等,在步进马达驱动部的转臂旋转轴处涂敷 Daphne Eponex No.2( 出光
)0.002cc。
备注 )下记插图是 H08 工作头,其他工作头也请同样进行操作。
4. 将转臂向旋转方向转动数次,与润滑油粘合。
5. 使用棉棒,擦去多余的润滑油。
润滑油 加油处 加油量 (cc)
Daphne Eponex No.2( 出光 ) 转臂旋转轴 0.002

5. 预防保养 MEC-NXT3-004S0
228 NXT III 机械手册
〈H24 工作头〉
备注 )对于加油量少的加油作业,推荐使用治具的注射筒 (S61439) 。在注射筒上有刻度,
请作为加油量的基准。
1. 拆除贴装工作头。(详细请参考 「4.3 贴装工作头的拆除、安装」)
2. 请拆除左侧的盖板。
3. 使用绵棒,擦去转臂旋转轴的污垢。
4. 请使用棉棒等,在步进马达驱动部的转臂旋转轴处涂敷 Daphne Eponex No.2( 出光
)0.002cc。
备注 )下记插图是 H08 工作头,其他工作头也请同样进行操作。
5. 将转臂向旋转方向转动数次,与润滑油粘合。
6. 使用棉棒,擦去多余的润滑油。
润滑油 加油处 加油量 (cc)
Daphne Eponex No.2( 出光 ) 转臂旋转轴 0.002
01MEC-1511a
0.69 Nm
01MEC-1512