LmrNXT3 - 第522页
7. 部件的更换 MEC-NXT3-004S0 498 NXT III 机械手册 5. 请拆除螺丝 (4 个 ),从 BKT 上拆除冷却风扇。 6. 请安装新的冷却风扇到 BKT 上。 7. 请按照与拆除相反的步骤返还机器到原来 的状态。 7.18.3 M6-3 模组内风扇 1. 请拉出左面相邻的模组。 (参考 「4.1 模组的拉出 / 插入」 ) 2. 将主电 源开关 OFF 。 3. 请从左相邻的模组后侧拆除螺丝 (4 个 ),取下…

MEC-NXT3-004S0 7. 部件的更换
NXT III 机械手册 497
以下的更换步骤与 M3-3 模组和 M6-3 模组相同。
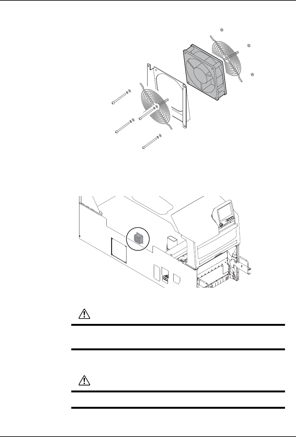
1. 将主电源开关 OFF。
2. 请拆除固定背面盖板的螺丝 (4 根 )。
3. 拆除螺丝 (4 根),将安装风扇的 BKT 从模组背面拆除。
备注 )M6-3 模组有 2 个风扇,拆除方法同样。
4. 请拆除冷却扇的插头,与 BKT 一起拆除风扇。
警告
在作业前,务必切断机器主电源。
01MEC-0274Sa
ⴌᶵ
⁗㓺伄
1.65 Nm
01MEC-1486a
1.7 Nm

MEC-NXT3-004S0 7. 部件的更换
NXT III 机械手册 499
4. 请拆除螺栓 (4 个 ),从模组取下风扇固定 BKT。
5. 请取下冷却扇的插头,与 BKT 一起取下风扇。
6. 请拆除螺丝 (2 个 ),从 BKT 上取下冷却风扇。
7. 请安装新的冷却风扇到 BKT 上。
8. 请按照与拆除相反的步骤返还机器到原来的状态。
01MEC-1539a
1.65 Nm
0.78 Nm
01MEC-1540a
0.78 Nm
