Q4X3C-E-MPA-45 - 第184页
17 ノズルチェンジャ( 多機能 ヘッド) Nozzle Changer (Multi-Functional heads) パーツレイアウト Kit No. キット品 番 Kit Name キット名称 KXFX036XA00 セクションNo. PARTS LAYOUT Section No. S57

Ref
No.
Remarks
R
1
Q't
y
16
多機能
ヘッド
接続
ユニット : ボールネジ対応
Multi-Functioal Head Connection Unit:for Ball Screw
イラスト
No.
Part No.
品 名品番 数量
R
2
パーツリスト
Kit No.
キット品
番
Kit Name
キット名称
KXFX064BA00
Part Name
備 考
セクションNo.
PARTS LIST
Section No.
R
3
BRACKET
1
1 N210010143AA
JOINT
1
2 KXF0CV0AA00 KK4P-08E
JOINT
1
3 KXF0CSZAA00 KK3P-06E
JOINT
1
4 KXF0CV1AA00 KK3P-06L
JOINT
1
5 KXF02CDAA00 KQL08-99
CABLE-SUPPORT
1
6 KXF0DGAAA00 HV-125
S56

17
ノズルチェンジャ(
多機能
ヘッド)
Nozzle Changer (Multi-Functional heads)
パーツレイアウト
Kit No.
キット品
番
Kit Name
キット名称
KXFX036XA00
セクションNo.
PARTS LAYOUT
Section No.
S57

Ref
No.
Remarks
R
1
Q't
y
17
ノズルチェンジャ(
多機能
ヘッド)
Nozzle Changer (Multi-Functional heads)
イラスト
No.
Part No.
品 名品番 数量
R
2
パーツリスト
Kit No.
キット品
番
Kit Name
キット名称
KXFX036XA00
Part Name
備 考
セクションNo.
PARTS LIST
Section No.
R
3
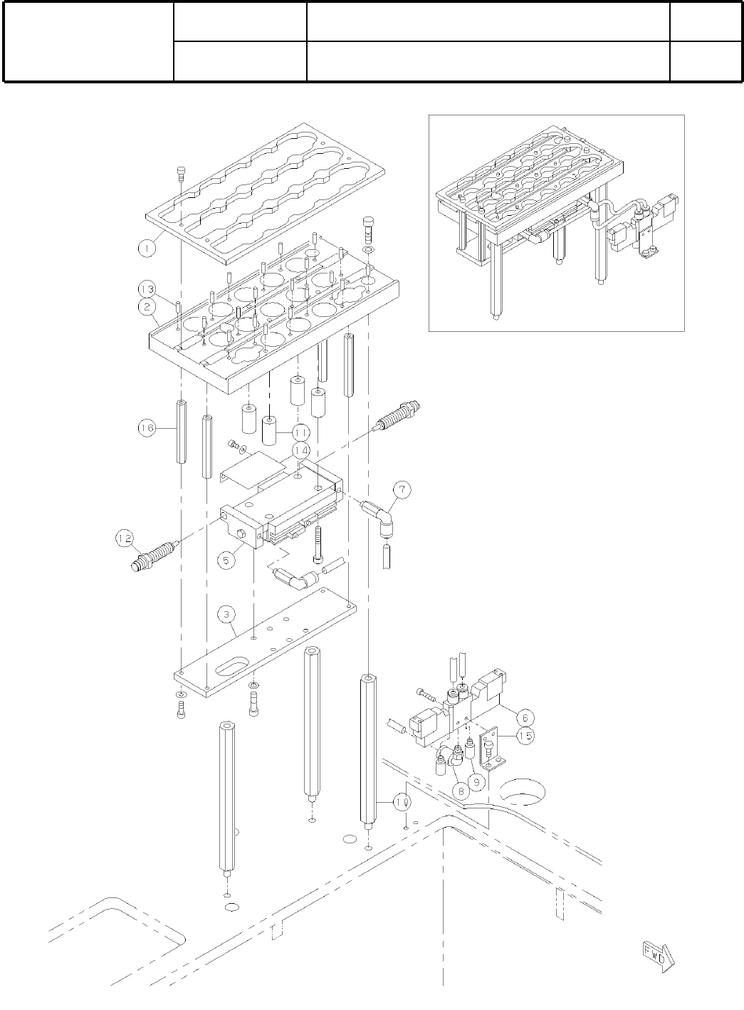
SHUTTER
1
1 KXFB02K9A00
HOLDER
1
2 N210002106AA
PLATE
1
3 KXFB02KBA00
CYLINDER
1
5 N610034897AA
VALVE
1
6 KXF0A3RAA00 VQZ1220-5MO-C4
JOINT
2
7 KXF02E8AA00 KQW04-M5
JOINT
1
8 KXF02C3AA00 KQL06-M5
SILENCER
2
9 KXF00WCAA00 AN120-M5
POST
3
10 KXF0DWQ3A01 LSBWRKT-12-150-1(DA KXF0DWQ3A01)
COLLAR
4
11 KXF0CY3AA00 ABSC4-12-23.0
SHOCK-ABSORBER
2
12 KXF0D32AA00
A
RB0805
PIN
20
13 KXF02XVAA00 MS3-10
COVER
1
14 KXFB02KXA00
BRACKET
1
15 KXFB02SWA00
POST
4
16 KXF0DWQ2A00 LSBFT-7-62.4(DDA)
S58