Components carriage feed device_20211123_071204 - 第11页
Components carriage feed device Page 11 / 16 23.11.2021

Components carriage feed device
Page 10 / 16 23.11.2021

Components carriage feed device
Page 11 / 16 23.11.2021

Components carriage feed device
Page 12 / 16 23.11.2021
Pos. Item no. Description Part marking
1 03059353S09 COT-INSERT 60 /P001 SPARE PART
2 03057897-02 USED TAPE CHANNEL COMPL. 60 SPARE PART
3 03090664-01 NC DETACHABLE BACKING PLATE
(ISO)
4 03057896-02 USED TAPE CHANNEL /P001
5 03059619S01 TRACK RULER, PITCH 11.8 / X
FEEDER - 60
WEAR PART
6 03058073-01 USED TAPE CHANNEL, INSERT
(BOTTOM)
7 03058075-01 USED TAPE CHANNEL, INSERT (TOP)
8 00318355-01 DIN 7991-M4 X 10-A2
9 03021079-01 NOZZLE CHANGER SHIM PLATE SPARE PART
10 03039517-02 DETACH. BACKING PLATE F.
NOZZLE REJECT D
11 03023238-01 ISO 7046-2-M3 X 6-A2-70-H STANDARD PARTS
12 03039514-02 SHIM PLATE FOR NOZZLE REJECT
DEVICE
SPARE PART
13 03083883-01 CODING SHEET BOXES SPARE PART
14 03042552-01 ISO 4762 - M 4 X 10-A2-70 STANDARD PARTS
15 03057772-01 FEEDER UNLOCK DEVICE 60-WAY SPARE PART
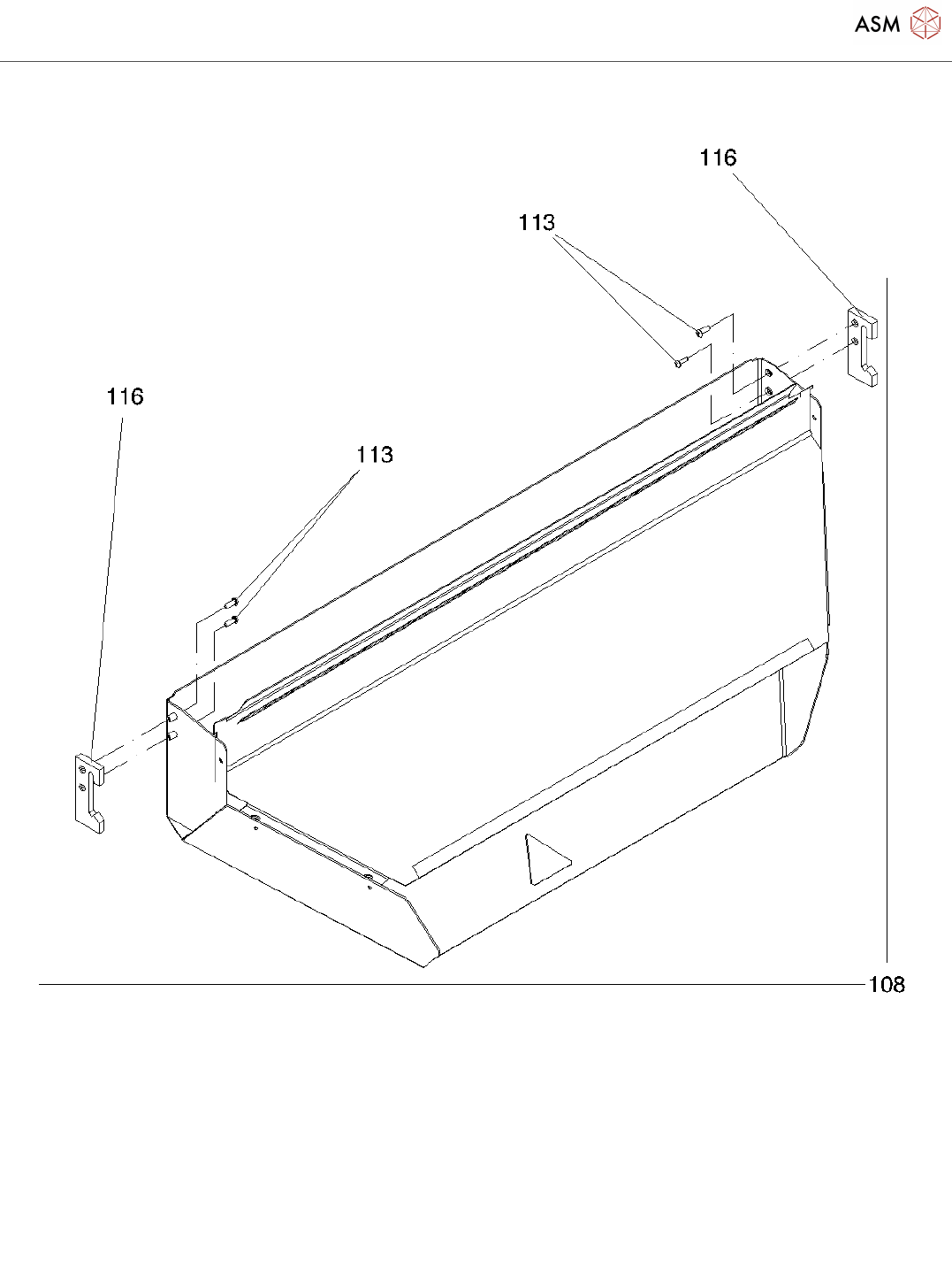
16 00330249-01 BLANKING PLUG QSC-4H STANDARD PARTS
17 03063492-06 CO-TABLE CENTRING /P001
18 03009853-01 CENTERING PIN, ROUND SPARE PART
19 03058008-01 SLOTTED RAIL SPARE PART
20 03058219-01 BOLT COMPLETE
21 03058217-01 BAR
22 03052935-01 Y BUFFER ELEMENT B2 SPARE PART
23 00200525-01 ELASTOMER SPRING D20X8,5 90
SHORE A
SPARE PART
24 03004173-01 BUSH 8X6X8
25 03058758-01 CYLINDER DSN-25-50-P
26 03059245-01 BEARING PLATE
27 03059311-02 PROTECTOR SPARE PART
28 03042574-01 ISO 4762 - M 6 X 20-A2-70
29 03063408-01 TABLE CENTRING RIGHT
30 03063426-01 TABLE CENTRING LEFT
31 03085425-02 SIDE WALL SPARE PART