RL132四跨具部品书N7203A389B44 - 第129页
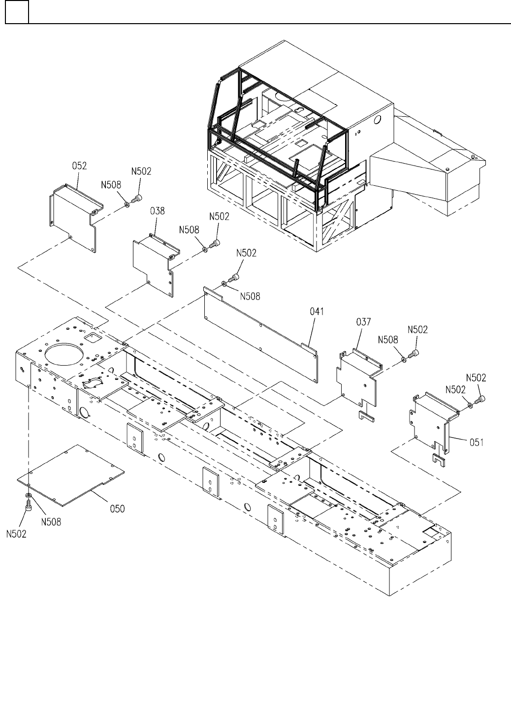
PART No. イラスト No. REF No. PART NAME REMARKS Q'TY 6 カバー部 (80ステーション9 ) COVER SECT.(80 STATI ON-9) 部 品 名 品 番 個数 備 考 R 2 R 3 R 1 1 037 N210155002AA COVER 1 038 N210159922AA COVER 2 041 N210097008AB COVER 1 050 N2101574…

カバー部(80ステーション9)
COVER SECT.(80 STATION-9)
6
FN610130678AA_18-9
M95

PART No.
イラスト
No.
REF
No.
PART NAME
REMARKSQ'TY
6
カバー部(80ステーション9)
COVER SECT.(80 STATION-9)
部 品 名品 番 個数 備 考
R
2
R
3
R
1
1
037 N210155002AA
COVER
1038 N210159922AA
COVER
2041 N210097008AB
COVER
1
050 N210157411AA
COVER
1051 N210094065AE
COVER
1052 N210094066AC
COVER
M5X10-10.9 A2J (Trivalent)
27
N502
N510017386AA
HEX. SOCKET HEAD CAP BOLT
5 10H A2J (Trivalent)
27
N508
N510018499AA
ROUND PLAIN WASHER
M96
FN610130678AA_18-9

カバー部(コンソールパネル部)
COVER SECT.(CONSOLE PANEL SECT.)
6
FN610125663AB_02
M97