RL132四跨具部品书N7203A389B44 - 第131页
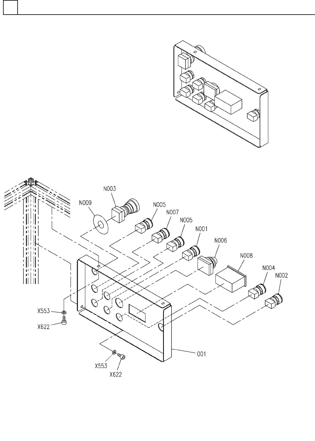
PART No. イラスト No. REF No. PART NAME REMARKS Q'TY 6 カバー部(コンソール パネル部) COVER SECT.(CONSOLE PANEL SECT.) 部 品 名 品 番 個数 備 考 R 2 R 3 R 1 1 N610125663AB PANEL ATTA CHMENT UNIT 1 002 MTPB003963AB COVER 1 005 N210157801AA L…

カバー部(コンソールパネル部)
COVER SECT.(CONSOLE PANEL SECT.)
6
FN610125663AB_02
M97

PART No.
イラスト
No.
REF
No.
PART NAME
REMARKSQ'TY
6
カバー部(コンソールパネル部)
COVER SECT.(CONSOLE PANEL SECT.)
部 品 名品 番 個数 備 考
R
2
R
3
R
1
1
N610125663AB
PANEL ATTACHMENT UNIT
1002 MTPB003963AB
COVER
1005 N210157801AA
LABEL
1
007 N210190684AA
PLATE
2008 MTPZ000243AA
SPACER
1009 MTPL000233AA
LABEL
1
010 MTPB003197AA
BRACKET
1
011 MTPB003203AA
BRACKET
R08RP2 S
1
N001
N510062988AB
MONITOR
XW1E-BV402MFR-TK2377 S
1
N002
N510011524AA
SWITCH
LW6L-M1C10VG-BC-TK2504-A S
1
N003
N510058513AA
SWITCH
LW6L-M1C10VB-BC-TK2504-E
1
N004
N510056841AA
SWITCH
LW6L-M1C10VW-BC-TK2504-F
1
N005
N510056842AA
SWITCH
LW6L-M1C14VW-BC-TK2504-G
1
N006
N510058509AA
SWITCH
P-18(screw) S
1
N007
KXF0DXPLA00
NAME PLATE
AR22PR-220B S
1
N008
KXFP5GEAA00
SWITCH
YD-8V76-00000001 S
1
N009
MTNC000050AA
CARD READER
1
N010
3086239031
LABEL
CF-308E
2
N015
N510015648AA
SPACER
M5X12-10.9 A2J (Trivalent)
2
X508
N510017390AA
HEX. SOCKET HEAD CAP BOLT
4 10H A2J (Trivalent)
6
X562
N510018497AA
ROUND PLAIN WASHER
5 10H A2J (Trivalent)
4
X563
N510018499AA
ROUND PLAIN WASHER
M3-6H-4T A2J (Trivalent)
2
X591
N510017849AA
HEXAGON NUT
M4-6H-4T A2J (Trivalent)
6
X592
N510017855AA
HEXAGON NUT
M98
FN610125663AB_02

カバー部(リアコンソールパネル部)
COVER SECT.(REAR CONSOLE PANEL SECT.)
6
FN610129627AA_02
M99