RL132四跨具部品书N7203A389B44 - 第134页
挿入ヘッ ド部(挿入 本体部1) INSERT ION HEAD SECT. (MAIN BODY S ECT.-1) 7 FN610129089AA_07-1 M101

PART No.
イラスト
No.
REF
No.
PART NAME
REMARKSQ'TY
6
カバー部(リアコンソールパネル部)
COVER SECT.(REAR CONSOLE PANEL SECT.)
部 品 名品 番 個数 備 考
R
2
R
3
R
1
1
N610129627AA
PANEL ATTACHMENT UNIT
1001 N210155895AC
BOX COVER
LW6L-M1C10VB-BC-TK2504-E
1
N001
N510056841AA
SWITCH
LW6L-M1C10VW-BC-TK2504-F
1
N002
N510056842AA
SWITCH
XW1E-BV402MFR-TK2377 S
1
N003
N510011524AA
SWITCH
LW6L-M1C10VG-BC-TK2504-A S
1
N004
N510058513AA
SWITCH
LW6L-M1C14VW-BC-TK2504 S
1
N005
N510058947AA
SWITCH
APN122DNW
1
N006
KXFP6J49A00
LAMP
LW6L-M1C14VW-BC-TK2504-G
1
N007
N510058509AA
SWITCH
M7F-3N1GF
1
N008
N510059426AA
LAMP
1
N009
3086239031
LABEL
M5X10-10.9 A2J (Trivalent)
4
X622
N510017386AA
HEX. SOCKET HEAD CAP BOLT
5 10H A2J (Trivalent)
4
X553
N510018480AA
ROUND PLAIN WASHER
M100
FN610129627AA_02

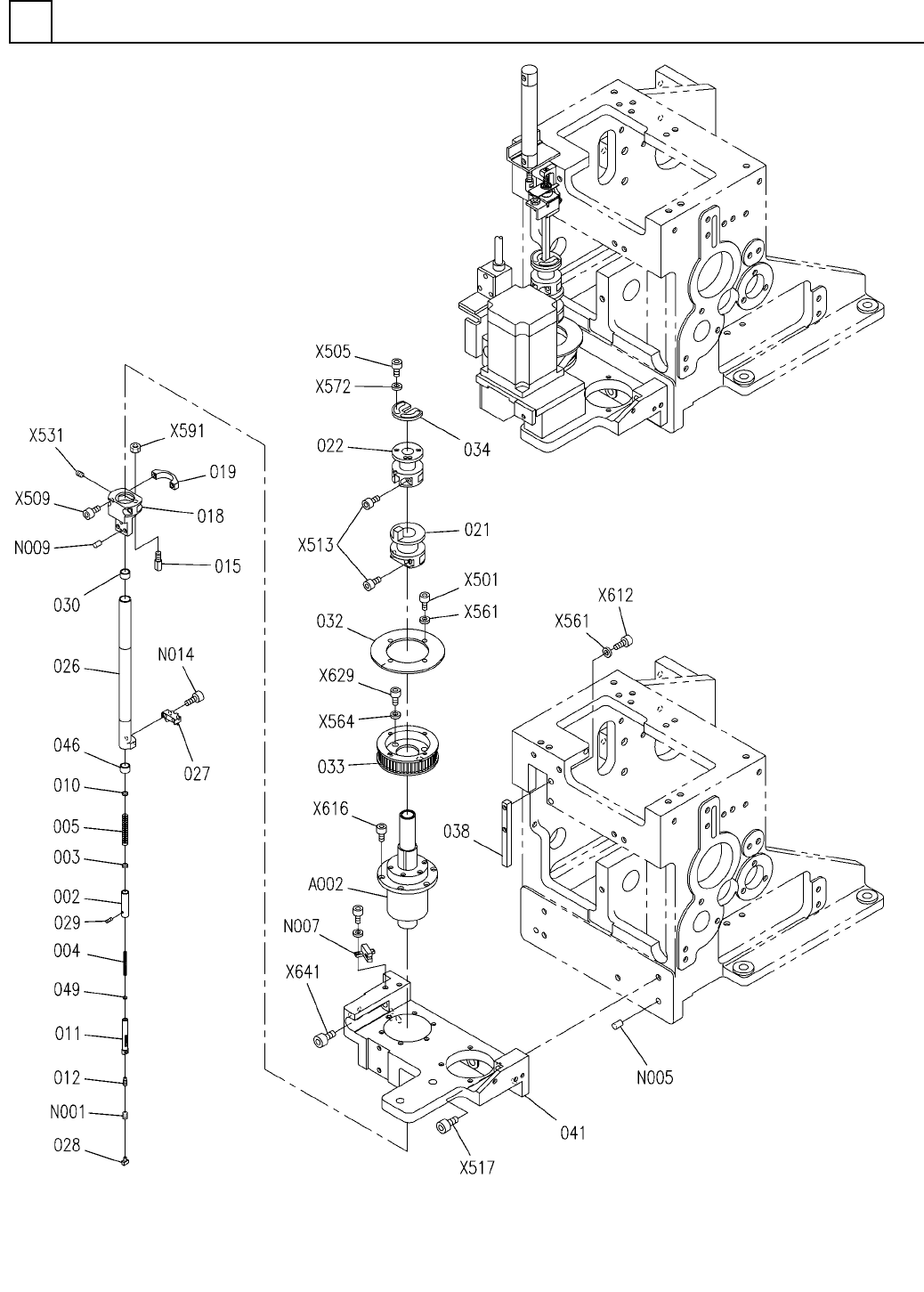
挿入ヘッド部(挿入本体部1)
INSERTION HEAD SECT.(MAIN BODY SECT.-1)
7
FN610129089AA_07-1
M101

PART No.
イラスト
No.
REF
No.
PART NAME
REMARKSQ'TY
7
挿入ヘッド部(挿入本体部1)
INSERTION HEAD SECT.(MAIN BODY SECT.-1)
部 品 名品 番 個数 備 考
R
2
R
3
R
1
1
N610129089AA
INSERTION HEAD UNIT
1
A002
N610153310AA
BALL SPLINE
1002 X02G42002
SHAFT
1
003 X02G4200301
COLLAR
1004 X02G42004
SPRING
1005 X02G42005
SPRING
1
010 X02G42010
COLLAR
1
011 X02G42011
PUSHER
1012 X02G42013
SET SCREW
1015 X02G42102
PIN
1
018 N210185610AA
HOLDER
1
019 X01L42002
BLOCK(NUT)
1021 X01L42004
SHIFTER
1022 X01L42005
SHIFTER
1
026 X01L42012
SHAFT
1027 N210149031AB
CAM
1028 X01A4200102
RUBBER
1
029 N210123469AA
PIN
1
030 X01A42005
BUSHING
1032 X01A42012
DETECTION PLATE
1033 N210098812AB
PULLEY
1
034 X01A42016
STOPPER
1
038 X01A42027
STOPPER
1041 N210092169AB
BRACKET
1046 X01A42059
BUSHING
1
049 X01A42065
COLLAR
M2.5X4,STAINLESS(SUS304)
1
N001
XXE25C4VW
HEX. SOCKET SET SCREW
87MS6-15
2
N005
N510022040AA
PIN
EE-SX672
1
N007
KXF01YHAA00
SENSOR
MMS3-6
2
N009
N510020588AA
PIN
M4X14-10.9 A2J (Trivalent)
2
N014
N510017348AA
HEX. SOCKET HEAD CAP BOLT
M3X5-10.9 A2J (Trivalent)
4
X501
N510017333AA
HEX. SOCKET HEAD CAP BOLT
M4X10-10.9 A2J (Trivalent)
2
X505
N510017344AA
HEX. SOCKET HEAD CAP BOLT
M5X16-10.9 A2J (Trivalent)
2
X509
N510017395AA
HEX. SOCKET HEAD CAP BOLT
M6X20-10.9 A2J (Trivalent)
4
X513
N510017435AA
HEX. SOCKET HEAD CAP BOLT
M8X25-10.9 A2J (Trivalent)
2
X517
N510017473AA
HEX. SOCKET HEAD CAP BOLT
M3X3-45H A2J (Trivalent)
1
X531
N510018358AA
HEX. SOCKET SET SCREW
3 10H A2J (Trivalent)
6
X561
N510018494AA
ROUND PLAIN WASHER
6 10H A2J (Trivalent)
4
X564
N510018501AA
ROUND PLAIN WASHER
M4
2
X572
N510020099AA
WASHER
M3-6H-4T A2J (Trivalent)
1
X591
N510017849AA
HEXAGON NUT
M3X20-10.9 A2J (Trivalent)
2
X612
N510017316AA
HEX. SOCKET HEAD CAP BOLT
M4X12-10.9 A2J (Trivalent)
6
X616
N510017346AA
HEX. SOCKET HEAD CAP BOLT
M6X12-10.9 A2J (Trivalent)
4
X629
N510017428AA
HEX. SOCKET HEAD CAP BOLT
M8X50-10.9 A2J (Trivalent)
2
X641
N510017482AA
HEX. SOCKET HEAD CAP BOLT
M102
FN610129089AA_07-1