RL132四跨具部品书N7203A389B44 - 第181页
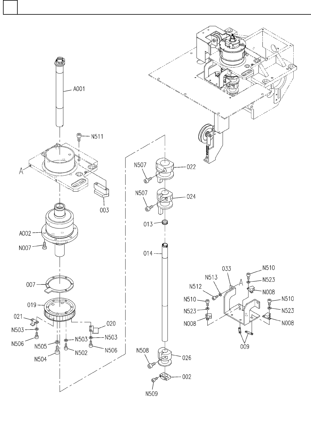
PART No. イラスト No. REF No. PART NAME REMARKS Q'TY 10 下部アン ビル部(本体 部1) LOWER ANVIL SECT.(MA IN BODY SECT .-1) 部 品 名 品 番 個数 備 考 R 2 R 3 R 1 1 N610074515AA UNDER ANVI L UNIT 1 A001 N610135836AA SHAFT 1 A002 N610153216AC…

下部アンビル部(本体部1)
LOWER ANVIL SECT.(MAIN BODY SECT.-1)
10
FN610074515AA_16-1
M147

PART No.
イラスト
No.
REF
No.
PART NAME
REMARKSQ'TY
10
下部アンビル部(本体部1)
LOWER ANVIL SECT.(MAIN BODY SECT.-1)
部 品 名品 番 個数 備 考
R
2
R
3
R
1
1
N610074515AA
UNDER ANVIL UNIT
1
A001
N610135836AA
SHAFT
1
A002
N610153216AC
BALL SPLINE
1
002 X02G52102
COLLAR
1003 X02G52103
BLOCK(STOPPER)
1007 X02G52112
PLATE(STOPPER)
2
009 N210084456AA
NUT PLATE
1
013 N210157565AA
NUT
1014 X01L52013
ROD
1019 N210139012AA
PULLEY
1
020 X01L52023
DETECTION PLATE
1
021 X01L52024
DETECTION PLATE
1022 N210131187AC
PUSHER
1024 X01L52027
SHIFTER
1
026 X01L52029
SHIFTER
1033 X01L52058
BRACKET(SENSOR)
M6X20-10.9 A2J (Trivalent)
6
N007
N510017558AA
HEX. SOCKET BUTTON HEAD BOL
EE-SX672A
3
N008
N310EESX672A
SENSOR
M3X25-10.9 A2J (Trivalent)
6
N502
N510017321AA
HEX. SOCKET HEAD CAP BOLT
3 10H A2J (Trivalent)
10
N503
N510018494AA
ROUND PLAIN WASHER
M6X12-10.9 A2J (Trivalent)
4
N504
N510017428AA
HEX. SOCKET HEAD CAP BOLT
6 10H A2J (Trivalent)
4
N505
N510018481AA
ROUND PLAIN WASHER
M3X5-10.9 A2J (Trivalent)
4
N506
N510017333AA
HEX. SOCKET HEAD CAP BOLT
M6X20-10.9 A2J (Trivalent)
4
N507
N510017435AA
HEX. SOCKET HEAD CAP BOLT
M5X16-10.9 A2J (Trivalent)
2
N508
N510017395AA
HEX. SOCKET HEAD CAP BOLT
M3X16-10.9 A2J (Trivalent)
2
N509
N510017313AA
HEX. SOCKET HEAD CAP BOLT
M3X10-10.9 A2J (Trivalent)
6
N510
N510017305AA
HEX. SOCKET HEAD CAP BOLT
M6X16-10.9 A2J (Trivalent)
2
N511
N510017433AA
HEX. SOCKET HEAD CAP BOLT
M5X10-10.9 A2J (Trivalent)
2
N512
N510017386AA
HEX. SOCKET HEAD CAP BOLT
5 10H A2J (Trivalent)
2
N513
N510018499AA
ROUND PLAIN WASHER
No.2 3 S A2J (Trivalent)
6
N523
N510018327AA
SPRING WASHER
M148
FN610074515AA_16-1

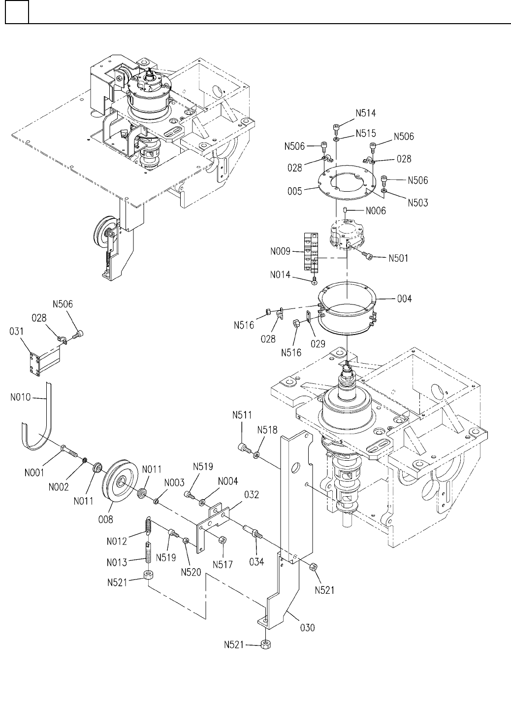
下部アンビル部(本体部2)
LOWER ANVIL SECT.(MAIN BODY SECT.-2)
10
FN610074515AA_16-2
M149