RL132四跨具部品书N7203A389B44 - 第187页
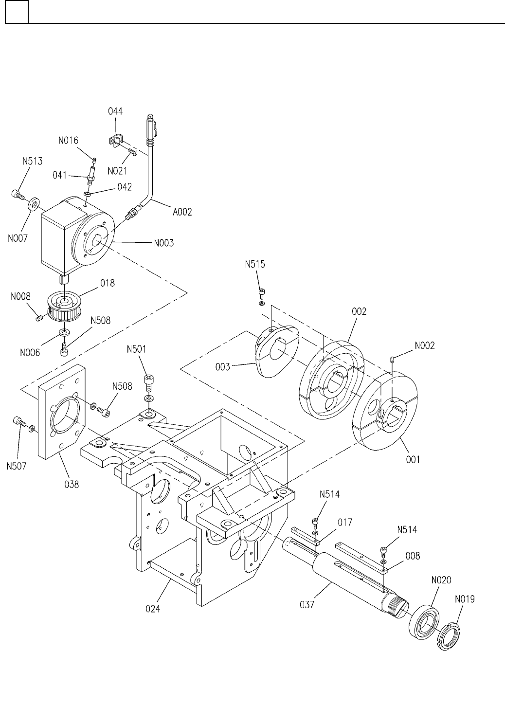
PART No. イラスト No. REF No. PART NAME REMARKS Q'TY 10 下部アン ビル部(アンビル動力 部1) LOWER ANVIL SECT.(AN VIL DRIVING SECT.-1) 部 品 名 品 番 個数 備 考 R 2 R 3 R 1 1 MTKA006347AA UNDER ANVI L UNIT 1 A002 N610089590AC HOSE 1 001 N21014…

下部アンビル部(アンビル動力部1)
LOWER ANVIL SECT.(ANVIL DRIVING SECT.-1)
10
FMTKA006347AA_01-1
M153

PART No.
イラスト
No.
REF
No.
PART NAME
REMARKSQ'TY
10
下部アンビル部(アンビル動力部1)
LOWER ANVIL SECT.(ANVIL DRIVING SECT.-1)
部 品 名品 番 個数 備 考
R
2
R
3
R
1
1
MTKA006347AA
UNDER ANVIL UNIT
1
A002
N610089590AC
HOSE
1001 N210145225AA
CAM
1
002 N210145226AA
CAM
1003 N210168388AA
CAM
1008 X02G53104
KEY
1
017 N210058841AA
KEY
1
018 N210084973AC
PULLEY
1024 N210092160AD
BOX
1037 N210092166AA
SHAFT
1
038 X01L53065
PLATE
1
041 N210089345AA
VALVE
1042 X02G14016
PACKING
1044 X02P12243
HOLDER(TUBE)
M8X10-45H A2J (Trivalent)
3
N002
N510018455AA
SET SCREW
SW50E07LF(230O26000)
1
N003
N620SW50-025
REDUCTION GEAR
87WASMH25-6
1
N006
N510034997AA
WASHER
87WASMH35-10
1
N007
N510035525AA
WASHER
M5X6-45H A2J (Trivalent)
2
N008
N510018382AA
HEX. SOCKET SET SCREW
M8X6-45H A2J (Trivalent)
1
N016
N510018457AA
HEX. SOCKET SET SCREW
FUS07SC RYUBU light
1
N019
N510038140AA
LOCK-NUT
6007ZZ
1
N020
XLC6007ZZ
BALL BEARING
M3X8-4.8 A2J (Trivalent)
2
N021
N510018161AA
FLUSH HEAD SCREW
M10X30-10.9 A2J (Trivalent)
4
N501
N510017167AA
HEX. SOCKET HEAD CAP BOLT
M8X16-10.9 A2J (Trivalent)
4
N507
N510017470AA
HEX. SOCKET HEAD CAP BOLT
M6X16-10.9 A2J (Trivalent)
5
N508
N510017433AA
HEX. SOCKET HEAD CAP BOLT
M10X20-10.9 A2J (Trivalent)
1
N513
N510017164AA
HEX. SOCKET HEAD CAP BOLT
M3X8-10.9 A2J (Trivalent)
5
N514
N510017341AA
HEX. SOCKET HEAD CAP BOLT
M6X25-10.9 A2J (Trivalent)
6
N515
N510017437AA
HEX. SOCKET HEAD CAP BOLT
M154
FMTKA006347AA_01-1

下部アンビル部(アンビル動力部2)
LOWER ANVIL SECT.(ANVIL DRIVING SECT.-2)
10
FMTKA006347AA_01-2
M155