RL132四跨具部品书N7203A389B44 - 第189页
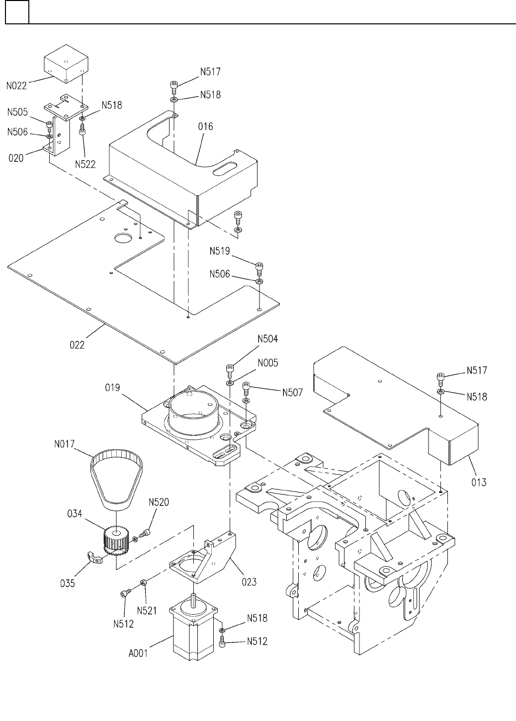
PART No. イラスト No. REF No. PART NAME REMARKS Q'TY 10 下部アン ビル部(アンビル動力 部2) LOWER ANVIL SECT.(AN VIL DRIVING SECT.-2) 部 品 名 品 番 個数 備 考 R 2 R 3 R 1 MSMD042PJA S 1 A001 N610074304AA MOTOR 1 013 N210092144AA COVER 1 016 …

下部アンビル部(アンビル動力部2)
LOWER ANVIL SECT.(ANVIL DRIVING SECT.-2)
10
FMTKA006347AA_01-2
M155

PART No.
イラスト
No.
REF
No.
PART NAME
REMARKSQ'TY
10
下部アンビル部(アンビル動力部2)
LOWER ANVIL SECT.(ANVIL DRIVING SECT.-2)
部 品 名品 番 個数 備 考
R
2
R
3
R
1
MSMD042PJA S
1
A001
N610074304AA
MOTOR
1013 N210092144AA
COVER
1016 N210092149AB
COVER
1
019 X02G53116
PLATE
1020 MTPB004927AB
BRACKET
1022 N210092155AC
COVER
1
023 N210092158AA
BRACKET
1
034 N210139011AA
PULLEY
1035 X01L53046
NUT
M6
2
N005
N510020101AA
WASHER
400-EV5GT-15
1
N017
N510027683AA
BELT(TIMING)
RLD54P850-ASSY S
1
N022
N510063499AA
LAMP
M6X20-10.9 A2J (Trivalent)
2
N504
N510017435AA
HEX. SOCKET HEAD CAP BOLT
M5X10-10.9 A2J (Trivalent)
2
N505
N510017386AA
HEX. SOCKET HEAD CAP BOLT
5 10H A2J (Trivalent)
7
N506
N510018499AA
ROUND PLAIN WASHER
M8X16-10.9 A2J (Trivalent)
4
N507
N510017470AA
HEX. SOCKET HEAD CAP BOLT
M4X16-10.9 A2J (Trivalent)
5
N512
N510017351AA
HEX. SOCKET HEAD CAP BOLT
M4X8-10.9 A2J (Trivalent)
8
N517
N510017381AA
HEX. SOCKET HEAD CAP BOLT
4 10H A2J (Trivalent)
16
N518
N510018497AA
ROUND PLAIN WASHER
M5X8-10.9 A2J (Trivalent)
5
N519
N510017419AA
HEX. SOCKET HEAD CAP BOLT
M5X20-10.9 A2J (Trivalent)
2
N520
N510017398AA
HEX. SOCKET HEAD CAP BOLT
M4-6H-4T A2J (Trivalent)
1
N521
N510017855AA
HEXAGON NUT
M4X10-10.9 A2J (Trivalent)
4
N522
N510017344AA
HEX. SOCKET HEAD CAP BOLT
M156
FMTKA006347AA_01-2

下部アンビル部(アンビル動力部3)
LOWER ANVIL SECT.(ANVIL DRIVING SECT.-3)
10
FMTKA006347AA_01-3
M157