RL132四跨具部品书N7203A389B44 - 第192页
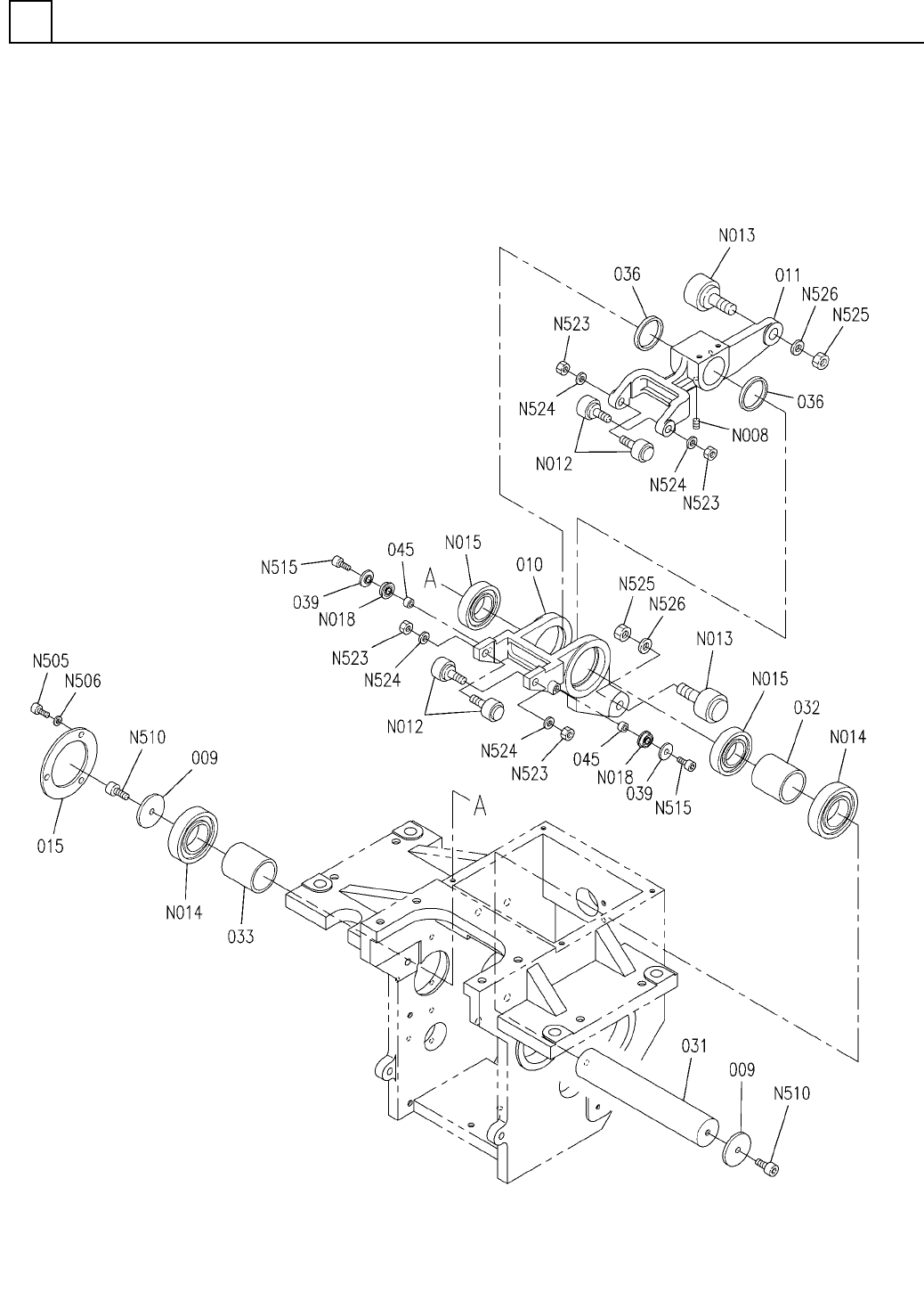
下部アンビル部 (アンビル動力部4 ) LOWER ANVIL SECT.(AN VIL DRIVING SECT.-4) 10 FMTKA006347AA_01-4 M159

PART No.
イラスト
No.
REF
No.
PART NAME
REMARKSQ'TY
10
下部アンビル部(アンビル動力部3)
LOWER ANVIL SECT.(ANVIL DRIVING SECT.-3)
部 品 名品 番 個数 備 考
R
2
R
3
R
1
1
004 N210092134AA
SPRING
2005 N210092137AA
SPRING
1006 N210092138AA
SPRING
1
007 X02G53103
PLATE
1014 N210092147AA
LEVER
1025 N210092161AA
BRACKET
1
026 N210092163AC
COLLAR
2
027 N210092164AA
COLLAR
1028 N210092165AB
LEVER
1029 X01L53017
SHAFT
1
030 X01L53018
COLLAR
6
039 N210172273AA
WASHER
3040 N210084980AA
COLLAR
CFN6R-A
1
N009
N531CFN6RA
CAM FOLLOWER
6905ZZ
2
N011
KXF06P1AA00
BEARING
CFN8R-A
1
N012
N531CFN8RA
CAM FOLLOWER
F696ZZIMC3PS2S
6
N018
N510020363AA
BEARING
M6X50-10.9 A2J (Trivalent)
1
N502
N510017446AA
HEX. SOCKET HEAD CAP BOLT
M6-6H-4T A2J (Trivalent)
6
N503
N510017867AA
HEXAGON NUT
M6X20-10.9 A2J (Trivalent)
3
N504
N510017435AA
HEX. SOCKET HEAD CAP BOLT
M5X10-10.9 A2J (Trivalent)
4
N505
N510017386AA
HEX. SOCKET HEAD CAP BOLT
5 10H A2J (Trivalent)
7
N506
N510018499AA
ROUND PLAIN WASHER
M6X40-10.9 A2J (Trivalent)
2
N509
N510017442AA
HEX. SOCKET HEAD CAP BOLT
M6X10-10.9 A2J (Trivalent)
1
N510
N510017424AA
HEX. SOCKET HEAD CAP BOLT
6 10H A2J (Trivalent)
1
N511
N510018501AA
ROUND PLAIN WASHER
M5X16-10.9 A2J (Trivalent)
3
N516
N510017395AA
HEX. SOCKET HEAD CAP BOLT
M8-6H-4T A2J (Trivalent)
1
N523
N510017877AA
HEXAGON NUT
8 10H A2J (Trivalent)
1
N524
N510018503AA
WASHER
M158
FMTKA006347AA_01-3

下部アンビル部(アンビル動力部4)
LOWER ANVIL SECT.(ANVIL DRIVING SECT.-4)
10
FMTKA006347AA_01-4
M159

PART No.
イラスト
No.
REF
No.
PART NAME
REMARKSQ'TY
10
下部アンビル部(アンビル動力部4)
LOWER ANVIL SECT.(ANVIL DRIVING SECT.-4)
部 品 名品 番 個数 備 考
R
2
R
3
R
1
2
009 X02G53105
PLATE
1010 N210108481AB
LEVER
1011 N210072083AC
LEVER
1
015 X02G53112
PLATE
1031 X01L53030
SHAFT
1032 X01L53032
COLLAR
1
033 X01L53038
COLLAR
2
036 X01L53054
SPACER
2039 N210172273AA
WASHER
2045 N210170238AA
COLLAR
M5X6-45H A2J (Trivalent)
2
N008
N510018382AA
HEX. SOCKET SET SCREW
CFN8R-A
4
N012
N531CFN8RA
CAM FOLLOWER
CFN12R-A
2
N013
N531CFN12RA
CAM FOLLOWER
6006ZZ
2
N014
KXF00K9AA00
BEARING
6906ZZ
2
N015
KXF07PCAA00
BEARING
F696ZZIMC3PS2S
2
N018
N510020363AA
BEARING
M5X10-10.9 A2J (Trivalent)
3
N505
N510017386AA
HEX. SOCKET HEAD CAP BOLT
5 10H A2J (Trivalent)
3
N506
N510018499AA
ROUND PLAIN WASHER
M6X10-10.9 A2J (Trivalent)
2
N510
N510017424AA
HEX. SOCKET HEAD CAP BOLT
M6X25-10.9 A2J (Trivalent)
2
N515
N510017437AA
HEX. SOCKET HEAD CAP BOLT
M8-6H-4T A2J (Trivalent)
4
N523
N510017877AA
HEXAGON NUT
8 10H A2J (Trivalent)
4
N524
N510018503AA
WASHER
M12-6H-4T A2J (Trivalent)
2
N525
N510017895AA
HEXAGON NUT
12 10H A2J (Trivalent)
2
N526
N510018507AA
WASHER
M160
FMTKA006347AA_01-4