RL132四跨具部品书N7203A389B44 - 第199页
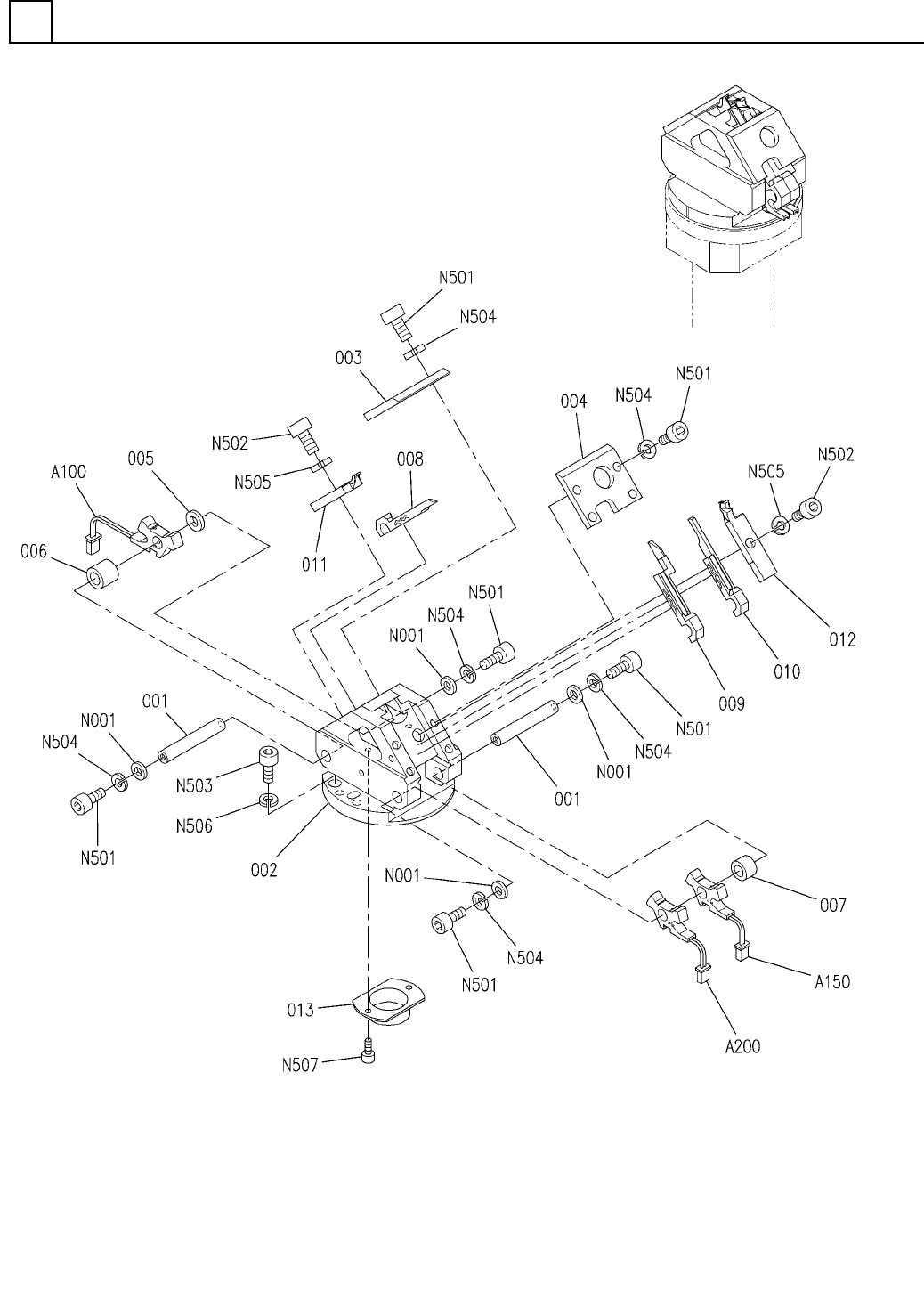
PART No. イラスト No. REF No. PART NAME REMARKS Q'TY 11 アンビル上 部(35° <P=5mm>)(2 P) UPPER ANVIL SECT.(35 DEG<P=5mm>) (2P) 部 品 名 品 番 個数 備 考 R 2 R 3 R 1 1 N610082091AA UPPER ANVI L UNIT 1 A100 N610082092AA LEVE…

アンビル上部(35°<P=5mm>)(2P)
UPPER ANVIL SECT.(35 DEG<P=5mm>)(2P)
11
FN610082091AA_04
M165

PART No.
イラスト
No.
REF
No.
PART NAME
REMARKSQ'TY
11
アンビル上部(35°<P=5mm>)(2P)
UPPER ANVIL SECT.(35 DEG<P=5mm>)(2P)
部 品 名品 番 個数 備 考
R
2
R
3
R
1
1
N610082091AA
UPPER ANVIL UNIT
1
A100
N610082092AA
LEVER
1
A150
N610082093AA
LEVER
1
A200
N610082094AA
LEVER
2001 X02G51201
PIN
1002 N210200435AA
MAIN BODY
1
003 X01L51002
GUIDE PLATE
1
004 X01L51003
GUIDE PLATE
1005 X01L51009
COLLAR
1006 X01L51010
COLLAR
1
007 X01L51011
COLLAR
1
008 N210056708AA
CUTTER
1009 N210056710AA
CUTTER
1010 N210056711AA
CUTTER
1
011 X02G51111
CUTTER
1012 X02G51112
CUTTER
1013 N210200434AA
RING
87FWSSB-D8.0-V3.0-T2.0
4
N001
N510031008AA
WASHER
M3X8-10.9 A2J (Trivalent)
12
N501
N510017341AA
HEX. SOCKET HEAD CAP BOLT
M4X8-10.9 A2J (Trivalent)
2
N502
N510017381AA
HEX. SOCKET HEAD CAP BOLT
M3X6-10.9 A2J (Trivalent)
2
N503
N510017337AA
HEX. SOCKET HEAD CAP BOLT
No.2 3 S A2J (Trivalent)
12
N504
N510018327AA
SPRING WASHER
No.2 4 S A2J (Trivalent)
2
N505
N510018330AA
SPRING WASHER
No.2 5 S A2J (Trivalent)
2
N506
N510018332AA
SPRING WASHER
M2X5-10.9 A2J (Trivalent)
2
N507
N510017258AA
HEX. SOCKET HEAD CAP BOLT
M166
FN610082091AA_04

アンビル上部(35°<P=7.5mm>)(3P)
UPPER ANVIL SECT.(35 DEG<P=7.5mm>)(3P)
11
FN610099025AA_03
M167