RL132四跨具部品书N7203A389B44 - 第218页
プリント基板ホ ゚ジショナ部(1 ) P.C.B. POS ITIONER SECT.( 1) 15 FN610129964AA_04-1 M185

PART No.
イラスト
No.
REF
No.
PART NAME
REMARKSQ'TY
14
プリント基板搬送部(キャリア部)
P.C.B. TRANSFER SECT.(CARRIER SECT.)
部 品 名品 番 個数 備 考
R
2
R
3
R
1
1
N610131957AA
P.C. BOARD TRANSFER UNIT
1001 N210157800AB
LEVER
1002 N210155596AA
PIPE
2
003 N210157799AA
LEVER
1004 N210157798AA
LEVER
2005 N210116880AA
BLOCK
M4X10-10.9 A2J (Trivalent)
2
X505
N510017344AA
HEX. SOCKET HEAD CAP BOLT
M4X16-10.9 A2J (Trivalent)
4
X506
N510017351AA
HEX. SOCKET HEAD CAP BOLT
M5X20-10.9 A2J (Trivalent)
2
X510
N510017398AA
HEX. SOCKET HEAD CAP BOLT
M5
2
X573
N510020100AA
WASHER
M3X16-10.9 A2J (Trivalent)
3
X611
N510017313AA
HEX. SOCKET HEAD CAP BOLT
M184
FN610131957AA_04

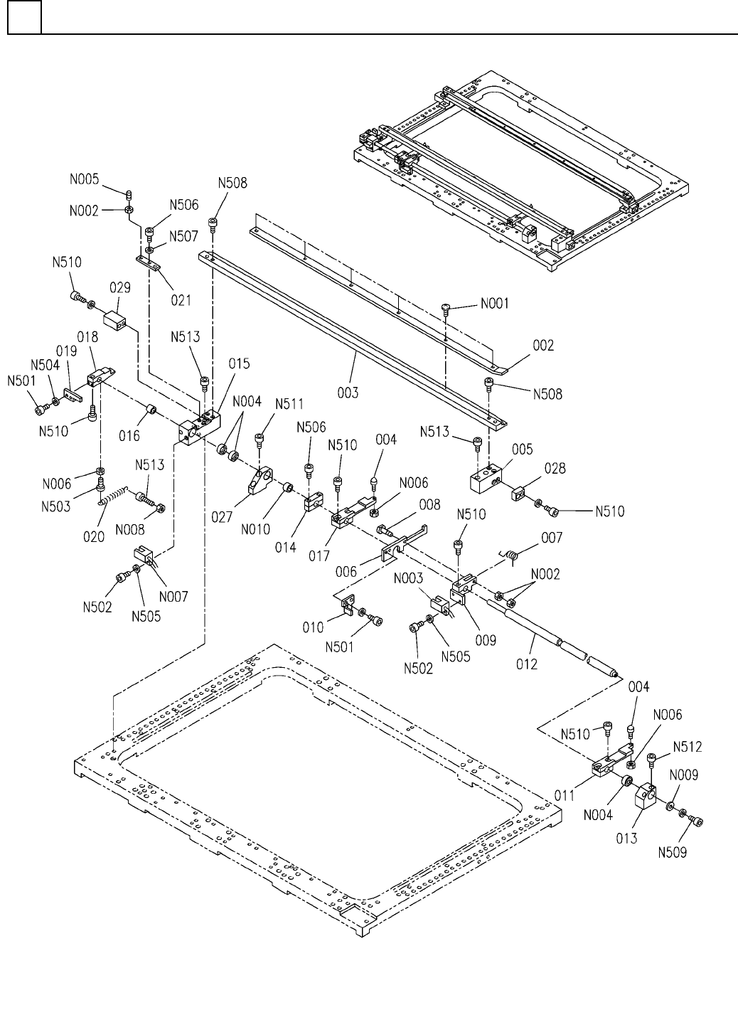
プリント基板ポジショナ部(1)
P.C.B. POSITIONER SECT.(1)
15
FN610129964AA_04-1
M185

PART No.
イラスト
No.
REF
No.
PART NAME
REMARKSQ'TY
15
プリント基板ポジショナ部(1)
P.C.B. POSITIONER SECT.(1)
部 品 名品 番 個数 備 考
R
2
R
3
R
1
1
N610129964AA
POSITIONER UNIT
1002 N210066295AA
GUIDE
1003 N210066184AC
GUIDE
2
004 N210143179AA
PIN
1005 N210152039AA
BLOCK
1006 N210155489AA
LEVER
1
007 102030401203
SPRING
1
008 102030401301
PIN
1009 108711400901
BLOCK
1010 108711401001
DOG FOR SENSOR
D=5.0
1
011 102030401601
LEVER
1
012 108711401202
SHAFT
1013 N210132123AA
BLOCK
C=5.0
1014 102030402604
BLOCK
1
015 N210152042AB
BLOCK
1016 108711401601
COLLAR
D=5.0
1017 102030403402
LEVER
1
018 N210157805AA
LEVER
1
019 108711401902
DOG FOR SENSOR
1020 N210152043AA
SPRING
1021 108711402102
PLATE
1
027 1087114027
BLOCK
1
028 N210152044AB
GUIDE
1029 N210152045AA
GUIDE
M3X4-4.8 A2J (Trivalent)
6
N001
N510018249AA
TRUSS HEAD SCREW
M4-6H-4T A2J (Trivalent)
3
N002
N510017859AA
HEXAGON NUT
P914SA1
1
N003
N310P914SA1
SENSOR
6800ZZ
3
N004
KXF00M6AA00
BALL BEARING
M4X10-45H A2J (Trivalent)
1
N005
N510018427AA
HEX. SOCKET SET SCREW
M3-6H-4T A2J (Trivalent)
3
N006
N510017852AA
HEXAGON NUT
P914S1
1
N007
N310P914S1
SENSOR
M5-6H-4T A2J (Trivalent)
1
N008
N510017865AA
HEXAGON NUT
87FWSSB-D12.0-V5.0-T2.0
1
N009
N510028918AA
WASHER
K5B1512
1
N010
N510022574AA
BUSHING
M3X5-10.9 A2J (Trivalent)
4
N501
N510017333AA
HEX. SOCKET HEAD CAP BOLT
M3X8-10.9 A2J (Trivalent)
4
N502
N510017341AA
HEX. SOCKET HEAD CAP BOLT
M3X16-10.9 A2J (Trivalent)
1
N503
N510017313AA
HEX. SOCKET HEAD CAP BOLT
3 10H A2J (Trivalent)
2
N504
N510018494AA
ROUND PLAIN WASHER
No.2 3 S A2J (Trivalent)
4
N505
N510018327AA
SPRING WASHER
M4X10-10.9 A2J (Trivalent)
4
N506
N510017344AA
HEX. SOCKET HEAD CAP BOLT
4 10H A2J (Trivalent)
2
N507
N510018497AA
ROUND PLAIN WASHER
M5X8-10.9 A2J (Trivalent)
4
N508
N510017419AA
HEX. SOCKET HEAD CAP BOLT
M5X10-10.9 A2J (Trivalent)
1
N509
N510017386AA
HEX. SOCKET HEAD CAP BOLT
M5X12-10.9 A2J (Trivalent)
10
N510
N510017390AA
HEX. SOCKET HEAD CAP BOLT
M5X16-10.9 A2J (Trivalent)
2
N511
N510017395AA
HEX. SOCKET HEAD CAP BOLT
M5X20-10.9 A2J (Trivalent)
2
N512
N510017398AA
HEX. SOCKET HEAD CAP BOLT
M5X30-10.9 A2J (Trivalent)
5
N513
N510017401AA
HEX. SOCKET HEAD CAP BOLT
M186
FN610129964AA_04-1