RL132四跨具部品书N7203A389B44 - 第255页
PART No. イラスト No. REF No. PART NAME REMARKS Q'TY 19 部品搬 送部(2)( 40ステーション) PARTS TRANSFER SECT. (2)(40 STATI ON) 部 品 名 品 番 個数 備 考 R 2 R 3 R 1 3 001 X01A35005 PULLEY(TIM ING) 3 002 X01A35006 COLLAR 3 003 X01A35008 COLL…

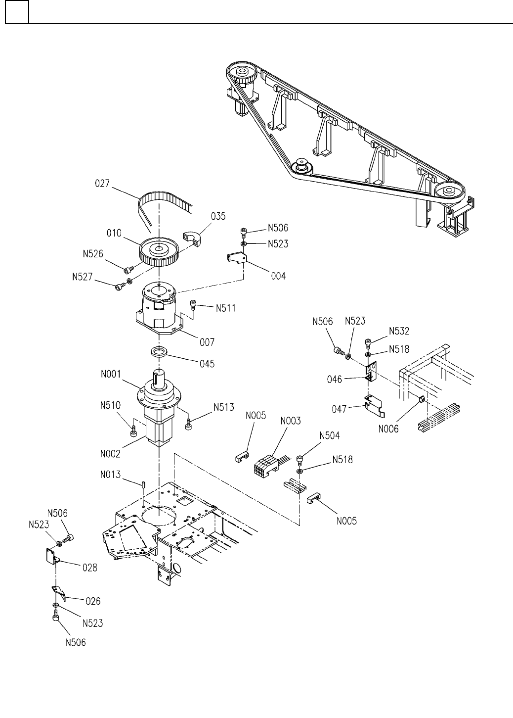
部品搬送部(2)(40ステーション)
PARTS TRANSFER SECT.(2)(40 STATION)
19
FN610123556AA_11-2
M221

PART No.
イラスト
No.
REF
No.
PART NAME
REMARKSQ'TY
19
部品搬送部(2)(40ステーション)
PARTS TRANSFER SECT.(2)(40 STATION)
部 品 名品 番 個数 備 考
R
2
R
3
R
1
3
001 X01A35005
PULLEY(TIMING)
3002 X01A35006
COLLAR
3003 X01A35008
COLLAR
3
004 X02G35101
COLLAR
2005 X01A35004A
SHAFT
1006 N210148102AA
BELT(TIMING)
1
009 N210147040AA
BLOCK(MOUNT)
1
017 N210147177AA
PULLEY
1018 N210147199AA
NUT
1019 N210145906AB
BRACKET
1
020 N210145905AA
PLATE
1
021 X01A35012A
SHAFT
1024 N210145907AA
BRACKET
1025 N210146449AA
BLOCK
6008ZZ
6
N001
XLC6008ZZ
BALL BEARING
PAT-B320S009KP1-K3M(GPB32S1K1K3M0)
1
N002
N510057986AA
GEAR HEAD
MDMA202P1C S
1
N003
MDMA202P1C
MOTOR
E32-TC200
1
N005
N310E32TC200
SENSOR
M4X6-10.9 A2J (Trivalent)
2
X504
N510017376AA
HEX. SOCKET HEAD CAP BOLT
M4X10-10.9 A2J (Trivalent)
12
X505
N510017344AA
HEX. SOCKET HEAD CAP BOLT
M4X16-10.9 A2J (Trivalent)
6
X506
N510017351AA
HEX. SOCKET HEAD CAP BOLT
M6X16-10.9 A2J (Trivalent)
4
X512
N510017433AA
HEX. SOCKET HEAD CAP BOLT
M8X25-10.9 A2S (Trivalent)
12
X517
N510017474AA
HEX. SOCKET HEAD CAP BOLT
4 10H A2J (Trivalent)
20
X562
N510018497AA
ROUND PLAIN WASHER
6 10H A2J (Trivalent)
6
X564
N510018501AA
ROUND PLAIN WASHER
8 10H A2J (Trivalent)
12
X565
N510018503AA
WASHER
Thick washer for M8
4
X575
N510020102AA
WASHER
M4X20-10.9 A2J (Trivalent)
4
X617
N510017354AA
HEX. SOCKET HEAD CAP BOLT
M8X40-10.9 A2J (Trivalent)
4
X639
N510017478AA
HEX. SOCKET HEAD CAP BOLT
M8X50-10.9 A2J (Trivalent)
1
X641
N510017482AA
HEX. SOCKET HEAD CAP BOLT
M222
FN610123556AA_11-2

部品搬送部(1)(80ステーション)
PARTS TRANSFER SECT.(1)(80 STATION)
19
FN610130673AA_11-1
M223